文|音乐先声 朋朋
编辑|范志辉
前阵子,马化腾2023年年会演讲刷屏了。他罕见地对各个业务版块做了点评,提到微信的时候,马化腾说,微信这棵老树如何发新芽,是一个很大的问题。
而最近,微信发出的新芽是正在进行灰度测试的“听一听”。当然,这其实并不是一个新功能,而是将微信原有的听歌及音频体验做了优化。
作为“发现”页的全新入口,“听一听”的默认位置在“扫一扫”下方、“看一看”上方,点击后会进入音乐和音频界面。未被灰度测试覆盖的用户,则需要在聊天页面下拉,即可在页面最上方找到“音乐”“音频”“最近播放”三个标识,其功能与“听一听”完全重叠。

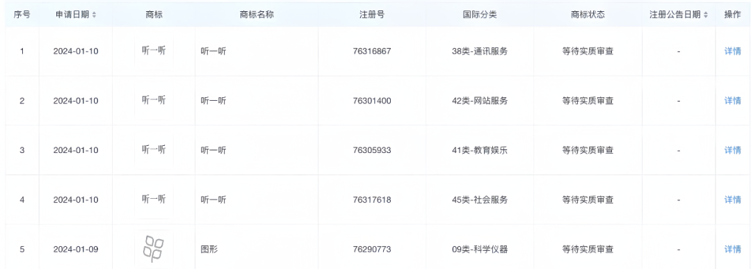
同时,天眼查显示,腾讯科技(深圳)有限公司已申请注册“听一听”商标,国际分类为通讯服务、科学仪器等,当前商标正在等待实质审查。

那么,腾讯音乐已经统领QQ音乐、酷狗音乐、酷我音乐等三大平台,微信这次新动作是真的要发力音频娱乐赛道,还是仅仅是产品功能层面的扩容?对于用户和行业来说,有哪些值得关注的“弦外之音”?

一级入口,社交和算法两开花
在三年前“微信之夜”的演讲中,张小龙直言对听歌体验的不满,始终是有一张唱片机在旋转。他不明白,很多网友甚至没有经历过那个时代,为何产品人还要将唱片机作为主视觉。
他也在演讲中透露,微信正尝试音乐视觉化呈现的项目。“你可以想象你在这里听这首歌,另外一个人在另外的场景,还有很多类似的人,如果把他们听歌的眼前画面都连起来的话,总有一些人的画面跟你是非常类似的,他能够打动你的。”
在张小龙看来,进入互联网时代,音乐是用来看的、用来社交的。伴随着“听一听”成为一级入口,不难发现,“听一听”的布局大致遵循了他的设想。
进入音乐板块,顶端呈现出两个板块,分别为现场音乐和乐迷圈。点击前者便可获得算法推荐的信息流,每屏三条,内容源于各类视频号,休眠时可以自动切换成音频播放;点击后者,顶部是官方精选推荐的单曲/专辑,可以看到朋友分享和网友打分和点评的单曲/专辑,满分5分,用户可以进行关注、点赞、留言、转发和点评打分。
在音乐主界面,分别包括“今天”、“最近”、“推荐音乐人”、“推荐歌单”、“视频号音乐人”五大入口,总体以社交推荐和算法推荐为分发逻辑,并突出了对“音乐人”的重视。
比如五大入口中,就有两大入口都是直接推荐音乐人的,而在“今天”版块中也有专门的“视频号音乐人作品精选”,对音乐人是极为友好的;同时,“今天”版块既有像“今日个性歌单”、“视频号热门BGM”这样算法和数据向的内容,但也有社交向的“朋友推荐”版块,汇总了朋友最近红心、分享到朋友和状态的音乐。

而在进入歌曲收听的主界面,第一屏类似于主流的音乐播放器,经过测试会发现“听一听”中的在线音乐服务目前基本由腾讯音乐提供,如QQ音乐、酷狗音乐、全民K歌等;如果平台内有用户发布了相关视频号内容,右滑便可进入第二屏,以视频的形式收看。
上滑进入歌曲的交流社区,除了网友评论、转发、点赞之外,还增设了音乐故事,内容来自于微信公众号上的相关内容。有意思的是,在只要是创作者注册了视频号、具备“视频号音乐人”认证,便可直接关注,利于音乐人将粉丝沉淀到其视频号,而非其他第三方平台。
此外,在音频板块,主要由AI朗读公众号文章,关注公众号的朋友数量则为推荐标准。用户可以设置稍后听,浏览朋友在听的音频内容,以及所关注公众号的内容更新。在播放界面,右滑可以进入公众号原文,但功能十分简洁,如AI声源还仅有单一的男声。

可以看到,尽管“听一听”并非新功能,但对于坐拥超13亿月活用户的社交巨头,这一功能依靠与社交圈、生活圈的强链接,无疑进一步盘活了音乐分享的私域流量,大大提升了用户听歌体验。
“听一听”背后的弦外之音
事实上,在“听一听”之前,微信就借着几场标志性的线上演唱会,在乐迷圈和行业内刷足了存在感。
2022年4月,崔健在视频号上举办了“继续撒点野”线上演唱会。在演唱会的3小时时长中,点赞数逾1.2亿,累计观看次数达6370万。为赞助商极狐带来了上千条高意向用户线索,预期转化率可达90%。

可以说,首场崔健演唱会体现出视频号高质量音乐内容的生产力,验证了视频号的商业化潜力,为用户提供更好的音乐服务的同时,也为品牌提供更精准的用户触达。
到了2023年年底,微信视频号上线了“会员专区”功能,开始社群付费的尝试,更加利好内容创作者。
在后端,视频号官方私信内容创作者,邀请其开通“会员专区”功能;在前端,个人主页上方会展示会员专区入口。用户通过微信豆按月付费订阅,创作者则可以发布会员专属内容,还可以使用会员问答功能与用户进行双向互动。比如陶喆的会员专区定价为84微信豆/月,折合12元/月。

对于主打公私域联动的视频号而言,会员专区或许有可能将会成为私域和公域联动的桥梁。从公域到私域,会员专区将视频号的观众转换为会员,引入到自己的社群和朋友圈;从私域到公域,创作者可以引导更有粘性的会员进行内容分享,实现进一步的内容推广。
此外,在当下付费为主的背景下,微信还通过对免费用户的激励,进一步为创作者沉淀出价值。
最近,微信联合QQ音乐推出了“VIP歌曲免费听”活动,活动期间,用户可以在微信场景的今日个性歌单、推荐歌单、音乐动态、乐迷圈等四个场景免费播放VIP歌曲。

在微信上的音乐,用户可以选择观看15秒的广告获得30分钟的免费收听时长,或者直接跳转QQ音乐上开通会员,则可以在微信内完整播放付费歌曲。
在这个过程中,微信向用户抛去了橄榄枝,没有任何迁移成本。据了解,微信“听一听”的收听次数将计入腾讯音乐的总播放次数,也就是说,既满足了用户听歌的无缝听歌体验,还能释放出音乐内容的更大价值。
当然,这也在侧面上打破了坊间微信要做音乐的传闻,即音乐之于微信更多是功能层面的补足,并非以独立业务的形式展开。如果说对“非腾讯系”音乐APP尚且能算是个定时炸弹的话,对腾讯音乐构成威胁就有些危言耸听了,更多指向的是联动资源做出更多对音乐行业、生态的正向影响,不仅仅是口水热歌,而是背后音乐人被看见。
但随着私域和公域流量的流转打通,公众号、视频号、小程序等作为骨架,用户的评论、转发、红心、付费等作为燃料,“听一听”的更大价值无疑在于让音乐内容的分发更高效,同时不断利好音乐人和创作者,尽快找到自己的“一千个铁杆粉丝”。
而这可能是迷信流量的时代,内容和创作者千载难逢的一个新机遇。



评论