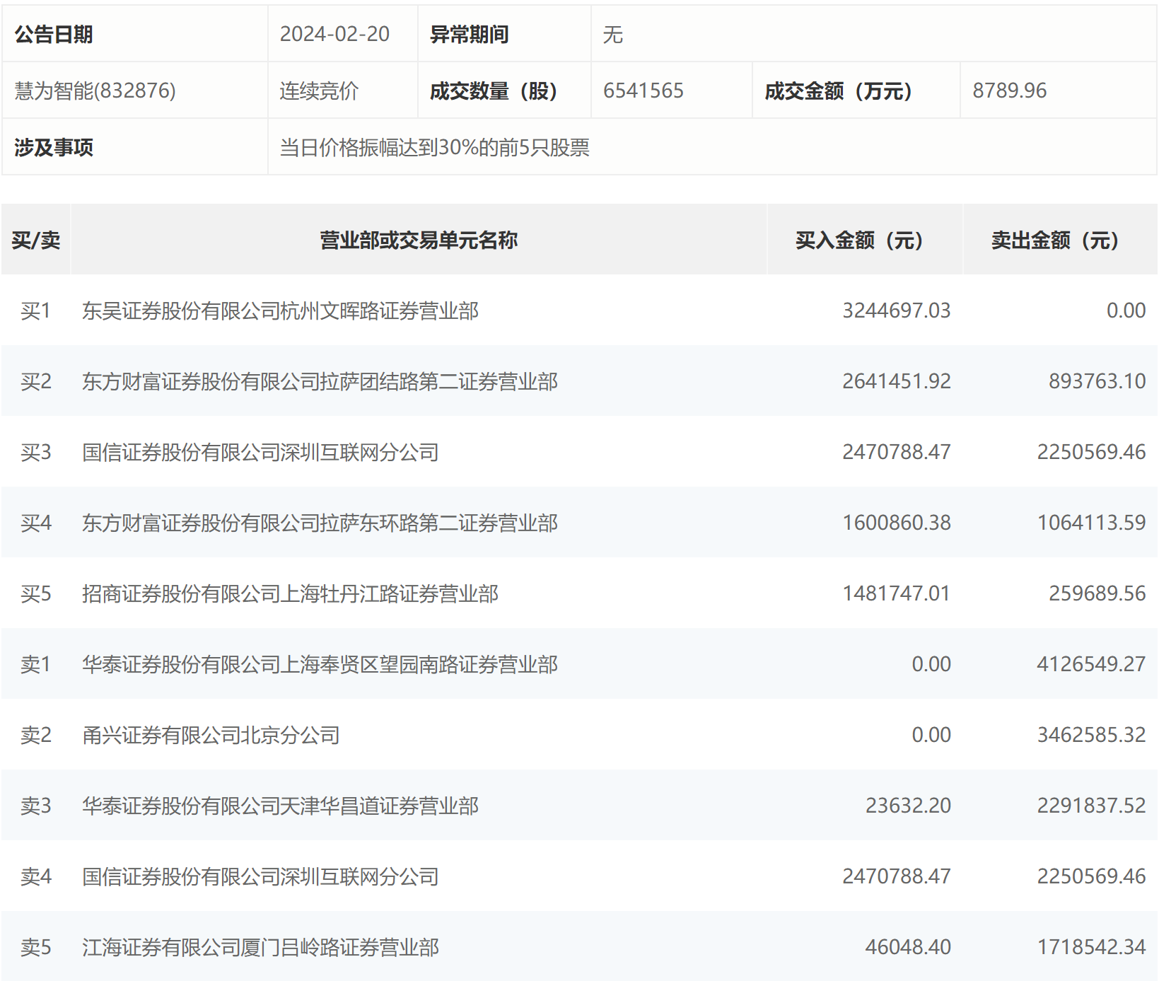
2月20日,慧为智能今日涨14.31%,龙虎榜数据显示,上榜营业部席位全天成交2757.69万元,占当日总成交金额比例为31.37%。其中,买入金额为1150.92万元,卖出金额为1606.77万元,合计净卖出455.84万元。
具体来看,东吴证券杭州文晖路证券营业部、东方财富证券拉萨团结路第二证券营业部分别买入324.47万元、264.15万元;华泰证券上海奉贤区望园南路证券营业部、甬兴证券有限公司北京分公司分别卖出412.65万元、346.26万元。

来源:界面新闻
2月20日,慧为智能今日涨14.31%,龙虎榜数据显示,上榜营业部席位全天成交2757.69万元,占当日总成交金额比例为31.37%。其中,买入金额为1150.92万元,卖出金额为1606.77万元,合计净卖出455.84万元。
具体来看,东吴证券杭州文晖路证券营业部、东方财富证券拉萨团结路第二证券营业部分别买入324.47万元、264.15万元;华泰证券上海奉贤区望园南路证券营业部、甬兴证券有限公司北京分公司分别卖出412.65万元、346.26万元。

评论