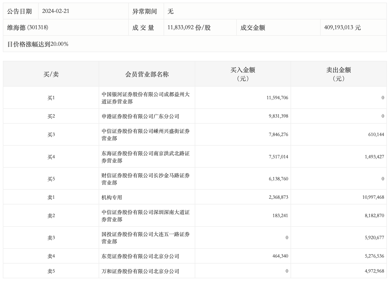
2月21日,维海德今日涨停,龙虎榜数据显示,上榜营业部席位全天成交8339.87万元,占当日总成交金额比例为20.38%。其中,买入金额为4594.46万元,卖出金额为3745.41万元,合计净买入849.05万元。
具体来看,机构买入236.89万元,卖出1099.75万元,合计净卖出862.86万元。此外,知名游资现身龙虎榜,著名刺客(东莞证券股份有限公司北京分公司)净卖出481.22万元。此外,中国银河证券成都益州大道证券营业部、申港证券广东分公司分别买入1159.47万元、983.14万元;中信证券深圳深南大道证券营业部、国投证券大连五一路证券营业部分别卖出818.29万元、592.07万元。

评论