2月21日,因赛集团今日涨停,龙虎榜数据显示,上榜营业部席位全天成交2.04亿元,占当日总成交金额比例为37.38%。其中,买入金额为1.26亿元,卖出金额为7790.01万元,合计净买入4793.85万元。
具体来看,知名游资现身龙虎榜,申港证券深圳深南东路证券营业部、财信证券杭州西湖国贸中心证券营业部分别买入3667.63万元、2481.57万元;宁波桑田路(国盛证券宁波桑田路证券营业部)、申万宏源证券有限公司广州江南大道证券营业部分别卖出2153.66万元、1507.18万元。

来源:界面新闻
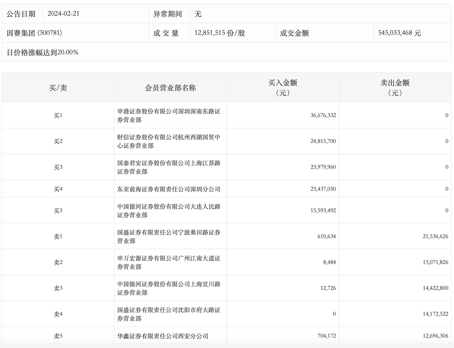
2月21日,因赛集团今日涨停,龙虎榜数据显示,上榜营业部席位全天成交2.04亿元,占当日总成交金额比例为37.38%。其中,买入金额为1.26亿元,卖出金额为7790.01万元,合计净买入4793.85万元。
具体来看,知名游资现身龙虎榜,申港证券深圳深南东路证券营业部、财信证券杭州西湖国贸中心证券营业部分别买入3667.63万元、2481.57万元;宁波桑田路(国盛证券宁波桑田路证券营业部)、申万宏源证券有限公司广州江南大道证券营业部分别卖出2153.66万元、1507.18万元。

评论