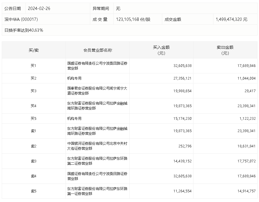
2月26日,深中华A今日涨停,龙虎榜数据显示,上榜营业部席位全天成交2.46亿元,占当日总成交金额比例为16.38%。其中,买入金额为1.41亿元,卖出金额为1.05亿元,合计净买入3636.7万元。
具体来看,机构买入4253.04万元,卖出1216.62万元,合计净买入3036.41万元。此外,知名游资现身龙虎榜,宁波桑田路(国盛证券宁波桑田路证券营业部)、国泰君安证券咸宁咸宁大道证券营业部分别买入3260.56万元、1998.87万元;东方财富证券拉萨金融城南环路证券营业部、中国银河证券北京中关村大街证券营业部分别卖出2339.83万元、1863.18万元。

评论