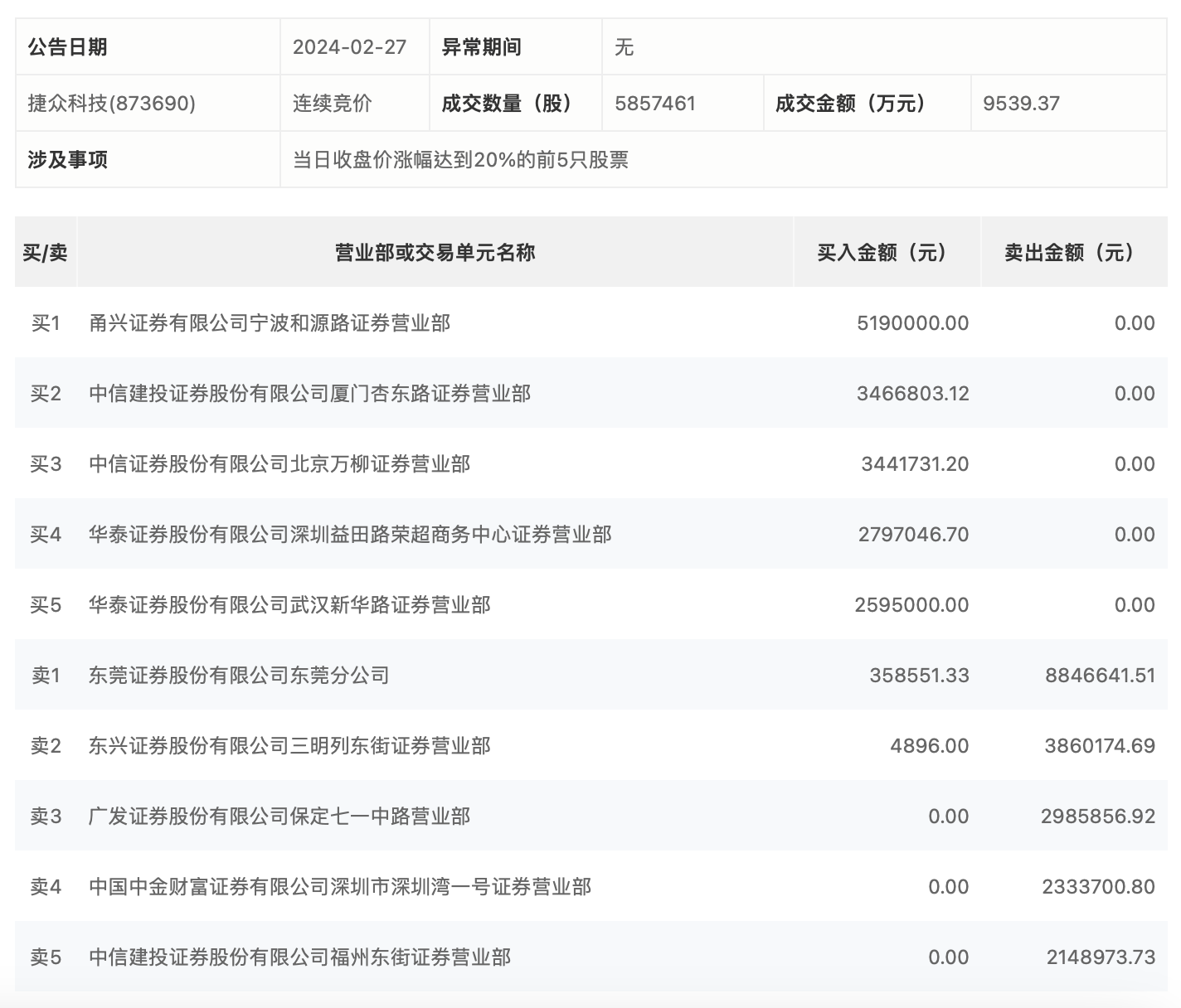
2月27日,捷众科技今日涨停,龙虎榜数据显示,上榜营业部席位全天成交3802.94万元,占当日总成交金额比例为39.87%。其中,买入金额为1785.4万元,卖出金额为2017.53万元,合计净卖出232.13万元。
具体来看,甬兴证券有限公司宁波和源路证券营业部、中信建投证券厦门杏东路证券营业部分别买入519.00万元、346.68万元;东莞证券东莞分公司、东兴证券三明列东街证券营业部分别卖出884.66万元、386.02万元。

来源:界面新闻
2月27日,捷众科技今日涨停,龙虎榜数据显示,上榜营业部席位全天成交3802.94万元,占当日总成交金额比例为39.87%。其中,买入金额为1785.4万元,卖出金额为2017.53万元,合计净卖出232.13万元。
具体来看,甬兴证券有限公司宁波和源路证券营业部、中信建投证券厦门杏东路证券营业部分别买入519.00万元、346.68万元;东莞证券东莞分公司、东兴证券三明列东街证券营业部分别卖出884.66万元、386.02万元。

评论