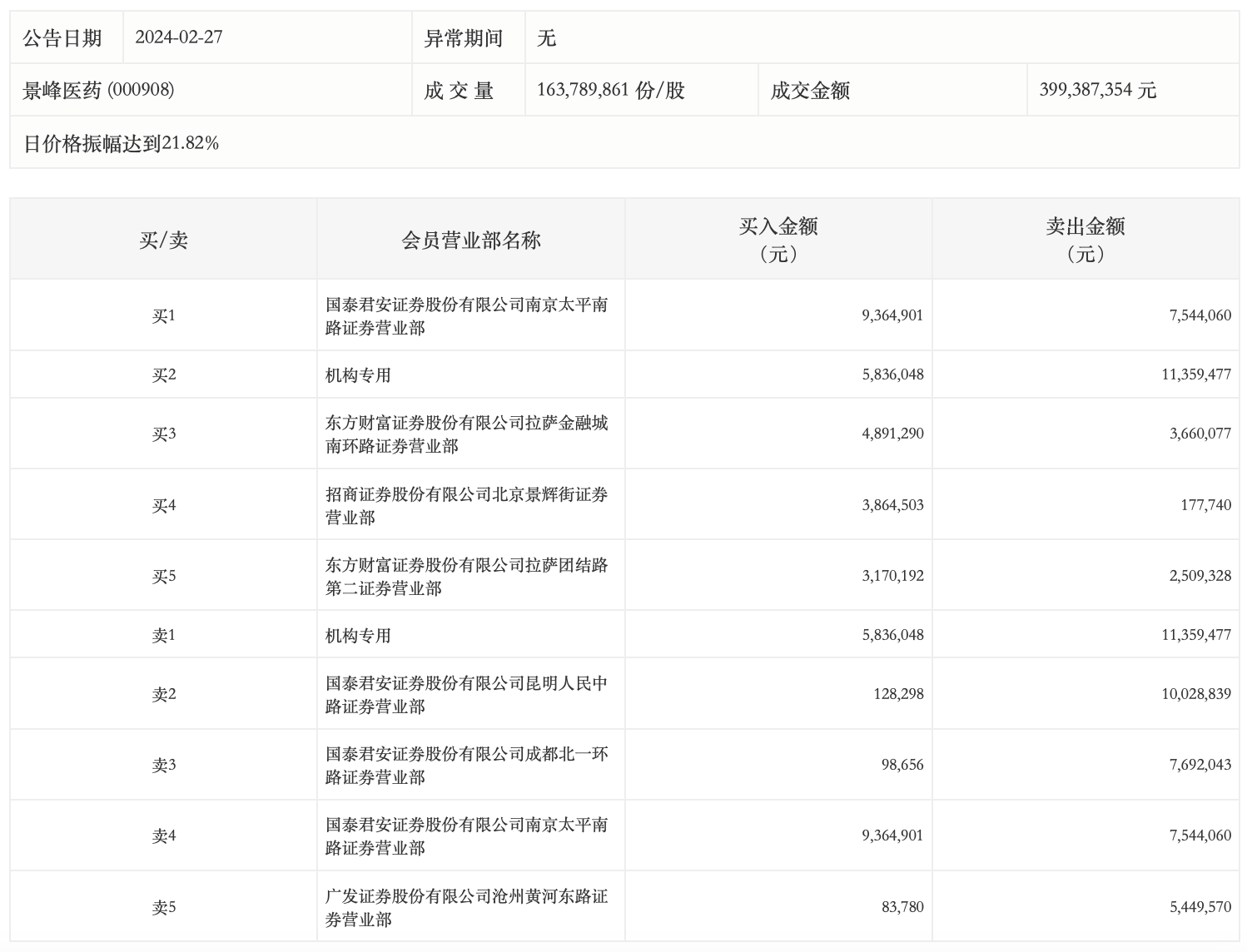
2月27日,景峰医药今日跌3.69%,龙虎榜数据显示,上榜营业部席位全天成交7585.88万元,占当日总成交金额比例为18.99%。其中,买入金额为2743.77万元,卖出金额为4842.11万元,合计净卖出2098.35万元。
具体来看,机构买入583.6万元,卖出1135.95万元,合计净卖出552.34万元。此外,知名游资现身龙虎榜,国泰君安证券昆明人民中路证券营业部、国泰君安证券成都北一环路证券营业部分别卖出1002.88万元、769.20万元;作手新一(国泰君安证券南京太平南路证券营业部)、东方财富证券拉萨金融城南环路证券营业部分别买入936.49万元、489.13万元。

评论