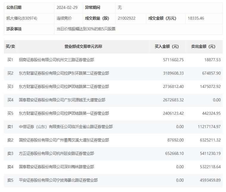
2月29日,凯大催化今日涨22.57%,龙虎榜数据显示,上榜营业部席位全天成交5293.75万元,占当日总成交金额比例为28.87%。其中,买入金额为1745.72万元,卖出金额为3548.03万元,合计净卖出1802.31万元。
具体来看,招商证券杭州文三路证券营业部、东方财富证券拉萨东环路第二证券营业部分别买入571.16万元、318.96万元;中信证券(山东)临沂金雀山路证券营业部、国投证券广州番禺汉溪大道东证券营业部分别卖出1121.72万元、632.52万元。

来源:界面新闻
2月29日,凯大催化今日涨22.57%,龙虎榜数据显示,上榜营业部席位全天成交5293.75万元,占当日总成交金额比例为28.87%。其中,买入金额为1745.72万元,卖出金额为3548.03万元,合计净卖出1802.31万元。
具体来看,招商证券杭州文三路证券营业部、东方财富证券拉萨东环路第二证券营业部分别买入571.16万元、318.96万元;中信证券(山东)临沂金雀山路证券营业部、国投证券广州番禺汉溪大道东证券营业部分别卖出1121.72万元、632.52万元。

评论