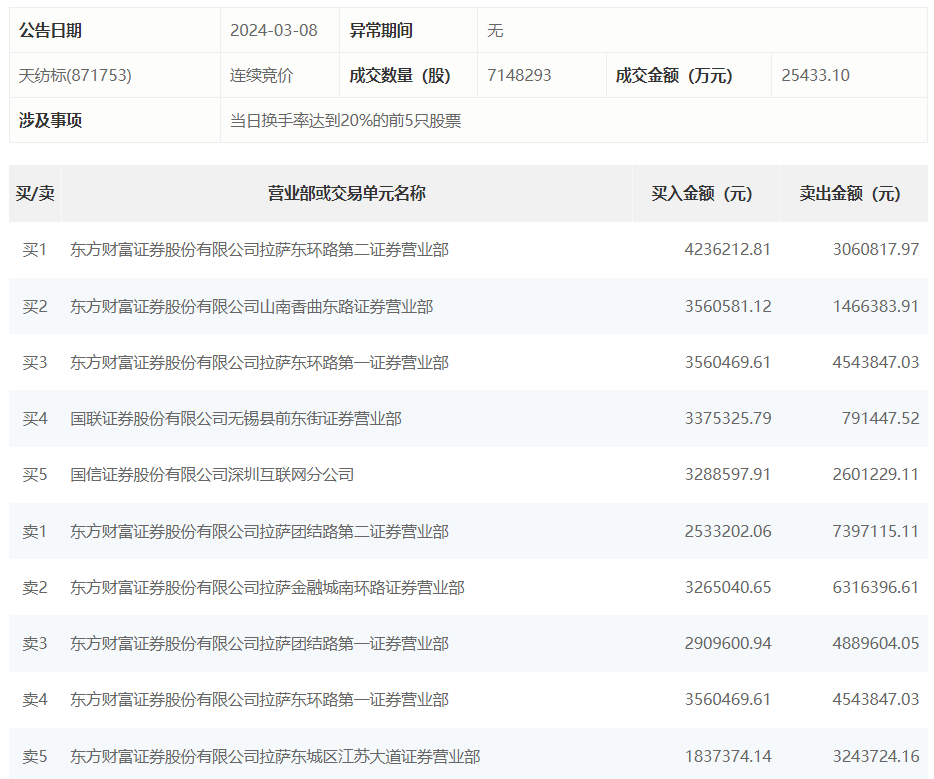
天纺标3月8日跌8.45%,龙虎榜数据显示,上榜营业部席位全天成交6287.7万元,占当日总成交金额比例为24.72%。其中,买入金额为2856.64万元,卖出金额为3431.06万元,合计净卖出574.42万元。
具体来看,东方财富证券拉萨团结路第二证券营业部、东方财富证券拉萨金融城南环路证券营业部分别卖出739.71万元、631.64万元;东方财富证券拉萨东环路第二证券营业部、东方财富证券山南香曲东路证券营业部分别买入423.62万元、356.06万元。

来源:界面新闻
天纺标3月8日跌8.45%,龙虎榜数据显示,上榜营业部席位全天成交6287.7万元,占当日总成交金额比例为24.72%。其中,买入金额为2856.64万元,卖出金额为3431.06万元,合计净卖出574.42万元。
具体来看,东方财富证券拉萨团结路第二证券营业部、东方财富证券拉萨金融城南环路证券营业部分别卖出739.71万元、631.64万元;东方财富证券拉萨东环路第二证券营业部、东方财富证券山南香曲东路证券营业部分别买入423.62万元、356.06万元。

评论