文|雷达财经 长帆
编辑 | 深海
在今年的315晚会上,号称能够调节性功能,改善心脑血管的听花酒被央视点名。
在央视315晚会曝光后,在京东、天猫、淘宝、拼多多等电商平台上搜索“听花”“听花酒”,均显示未找到相关商品。而在曝光前,京东、天猫等商城仍能查到听花酒旗舰店,并且有相关酒类产品还在销售。
雷达财经梳理发现,听花酒曾因高价出名,其53度精品装更是高达58600元/瓶,远超茅台。
值得一提的是,据A股上市公司青海春天董事长、听花酒设计师张雪峰此前在采访中介绍,某日凌晨梦到在昆仑山上一位太上老君模样的人来到他面前,不发一言,只是用拂尘在他手上写下一个字,而听花酒就是以此为灵感设计研发的。张雪峰曾感叹“听花酒不是我们做出来的,这是上天给饮者们的一个巨大恩惠”。
值得一提的是,听花酒曾因涉嫌侵犯商标权和不正当竞争,被贵州茅台和泸州老窖两大知名酒企告上法庭。
虽然听花酒堪称天价,但其背后的上市公司青海春天却连年亏损,三年多亏损金额近十亿。
听花酒设计灵感来自太上老君
被315晚会听花酒定位为高端白酒,官网首页主推的750ml高端白酒售价为5.86万一瓶。
公司官网称,听花酒的总设计师为张雪峰。研发历程中提及张雪峰于2016年重回酒业,其研发团队历时四年,经多次方案试剂调整最终酿造成功。公司出品的酱香风格、浓香风格酒,基于先进的酒体设计,分别采用10年以上酱香原酒和5年以上浓香原酒,通过特制香曲和定向菌二次发酵、精馏浓缩等白酒制化增益酿造工艺,制化酒性与酒体,取得口感、体感的重大提升,创造了全新的饮用价值。

听花酒官网的企业简介和网站备注均为宜宾听花酒业。
工商资料中,宜宾听花酒业成立于2012年12月,实缴资本1470万人民币。公司存在两次名称变更,2017年7月由宜宾市润公坊酒业有限责任公司变更为宜宾凉露酒业有限公司;2020年10月从宜宾凉露酒业有限公司变更为宜宾听花酒业发展有限责任公司。

值得注意的是,公司官网中显示,听花酒总设计师张雪峰还担任上市公司青海春天的法人代表。在研发历程中,提及的冬虫夏草为青海春天的主营之一,此外还有以酒水产品销售为主的快消品业务板块。
在青海春天的2018年半年度报告中提及,2018年3月公司通过收购西藏听花酒业有限公司获得凉露酒独家经销权,进行凉露酒的销售。天眼查资料显示,西藏听花酒业有限公司成立于2017年7月,实缴资本5000万元。公司现由上市公司青海春天100%控股。2020年11月公司名称变更为西藏春天酒业有限公司。该公司同时为听花酒微博账号的认证公司。
在青海春天的互动问答中,有投资者提问听花酒与上市公司的关系。公司回答称,二者为合作关系,宜宾听花酒业负责生产,青海春天负责销售。

值得一提的是,据青海春天董事长、听花酒设计师张雪峰此前在采访中介绍,某日凌晨梦到在昆仑山上一位太上老君模样的人来到他面前,不发一言,只是用拂尘在他手上写下一个字,而听花酒就是以此为灵感设计研发的。张雪峰曾感叹“听花酒不是我们做出来的,这是上天给饮者们的一个巨大恩惠”。听花酒官网中也包含相同的表述。

曾被茅台和泸州老窖同时起诉
天眼查App显示,宜宾听花酒业成立于2012年12月,法定代表人为李蓉全,注册资本1470万人民币,经营范围包括白酒的生产和销售、配制酒的生产和销售等,由成都久谊兴生物技术有限责任公司、林晓莉共同持股。司法风险信息显示,该公司涉及多个法律诉讼纠纷,曾被泸州老窖股份有限公司、贵州茅台酒股份有限公司起诉。
2022年5月26日,听花酒官方微博发布了相关事件的声明。声明称,近期很多网友关注到听花酒生产厂商宜宾听花酒业被贵州茅台和泸州老窖起诉一事,现将该事件的事实情况和目前进展进行说明。5月20日,宜宾听花酒业在网上得知被茅台和泸州老窖起诉一事,马上主动去法院领取了相关文件。在此之前,其没有收到过相关沟通文件或律师函,对此完全不知情。

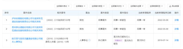
据悉,贵州茅台和泸州老窖对听花酒业提起诉讼,在5月9日同时立案,案号为(2022)川15知民初122号和123号。事由是2021年9月中旬到10月初,有约两周左右时间,上述两家公司在百度上以“茅台”和“国窖1573”为关键词进行搜索时,在网页中出现了听花酒的相关信息,因此认为听花酒业涉嫌侵犯“茅台”和“国窖1573”的商标权和不正当竞争。对此,茅台索赔50万元,泸州老窖索赔30万元。
宜宾听花酒业介绍,公司曾与成都百度科技有限公司签署协议并于2021年9月上旬在百度平台进行过两周的推广服务测试。根据与百度公司的协议约定,听花酒业提供的推广信息不含有任何违反国家有关法律、法规的内容,符合百度相关政策和规定。
目前,宜宾听花酒业正在了解详细情况准备应诉,相信法律会有公正评判,此事件不影响听花酒的生产经营。
在宜宾听花酒业的天眼查资料中,在2022年5月9日新增了上述两则立案信息。

青海春天三年多亏损近十亿
负责听花酒销售的青海春天官网显示,公司成立于2003年,是青海省重点高科技及产业化龙头企业,公司业务聚焦于以冬虫夏草产品为主的大健康板块和酒水产品板块。2015年6月公司借壳上市成功。
东财choice资料显示,青海春天于2009年正式推出了极草5X系列冬虫夏草纯粉产品,该系列产品作为冬虫夏草物理加工领域的最高科技成果,为冬虫夏草整个产业带来划时代的变革。公司目前已完成了涵盖保健食品、药品等冬虫夏草高效利用产品的储备和战略布局,拥有六个以冬虫夏草为主要原料的中药产品和储备有六种同样以冬虫夏草为主要原料的保健食品的产品。
同时,公司创立了由全球顶级科学家、博士生导师、博士、硕士等高级工程技术人员组成的研发平台。1998年“诺贝尔生理学或医学奖”获得者斐里德·穆拉德、2013年“诺贝尔化学奖”获得者亚利耶·瓦谢尔与青海春天董事长张雪峰为公司联席首席科学家,致力于将诺奖成果用于酒类产品研发,追求更优质的口感风味,促进白酒健康化发展,引领世界蒸馏酒健康化航向的新未来。
财务数据显示,2020年以来,青海春天一直处于亏损状态,2020年公司归属于母公司股东的净利润为-3.2亿元,2021年亏损2.49亿元,2022年亏损2.88亿元,2023年前三季度亏损0.7亿元,合计亏损近十亿。


评论