界面新闻记者 |
近日,天津证监局对一名“牛散”做出重罚。
“牛散”王建林在持有深交所上市公司“滨海能源”股票达5%期间,涉及信披违规、限制期违规转让股票等行为。 天津证监局决定对王建林合并采取责令改正,给予警告,没收176.73万元违法所得,并处以300万元罚款。
经天津证监局查明,王建林控制使用其本人、彭某忠等8人名下证券账户(以下简称“账户组”)交易“滨海能源”股票,交易资金大部分来源于本人及家庭资金。
2022年12月,王建林控制使用的账户组合计持有“滨海能源”比例首次达到公司总股本的5%以上,为5.2%,此后继续交易,至2023年9月合计持股比例为10.96%,期间最高持股比例达11.09%。
2023年3月,滨海能源创下了近7年价格新高,一度飙至16.79元/股的高位。

据了解,王建林使用账户组违规炒作该股票期间,滨海能源价格一直在10元/股关口之上。而目前股价已经有所回落,Wind显示,截至3月22日收盘,“滨海能源”股票报收8.88元/股。
在证监会的听证会上,王建林表示,其违法行为未对公司及股民造成实质性损害,作出承诺后未再交易,且目前滨海能源浮亏巨大,家庭负债严重,生活困难。
按照规定,股东持股比例达5%时要及时披露相关信息。
但王建林在持有“滨海能源”比例达到总股本的5%、达到5%后每增加和减少5%、以及达到5%后每增加和减少1%时,均没有在规定时限内报告和披露其持股信息变动情况,未报告和披露其控制和使用的其他股东账户交易“滨海能源”的事实。
此外,在前述持股信息变动发生后的限制期内,王建林还在继续交易“滨海能源”股票,期间共卖出2058万股,卖出成交金额2.95亿元,获利176.73万元。
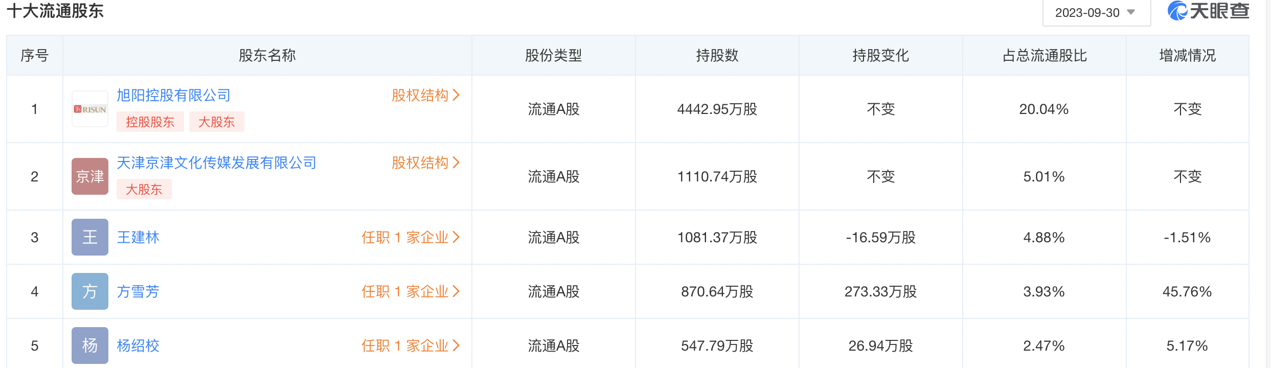
天眼查显示,滨海能源是一家从事电力、热力生产和供应业的企业,总部位于天津市,企业注册资本2.22亿元,公司控股股东为旭阳控股有限公司。
截至2023年三季度末,王建林仍位于滨海能源十大流通股东的第三名,持股4.88%。
对于上述违法交易行为,王建林表示,自己并非有表决权的股东,监管对其持股变动信息未披露进行罚款没有法律依据。且交易行为仅构成短线交易,短线交易所得收益2.6万元已上缴公司,不应再予处罚。违法是由于不熟悉股票市场交易规则所致,请求从轻或减轻处罚。
天津证监局对王建林的申辩意见不予采纳。并决定合并没收176.73万元违法所得,并处以300万元罚款。其中,对持股变动信息未披露行为采取责令改正,给予警告,罚款100万元;对限制期转让证券行为采取责令改正,给予警告,没收176.73万元违法所得,并罚款200万元。
监管认为,当事人控制使用账户组交易并成为“滨海能源”5%以上股东后,其并非无表决权股东,而是表决权受限。
另外,对于其提到的上缴部分短线交易所得收益的事实,并不影响证监局对其限制期转让证券的认定与处罚。天津证监局指出,对于当事人交易行为同时构成限制期转让证券和短线交易的情况,依据竞合“择一重”原则仅对限制期转让证券作出处罚,符合《行政处罚法》第二十九条规定。
关于当事人违法的主观故意。一方面,当事人作为证券投资者应自觉遵守各项交易规则,不知晓法律、不熟悉规则不是豁免法律责任的理由。另一方面,当事人存在违法行为被发现后转移资金至非近亲属账户继续交易的情形,其本人在调查中亦承认使用他人账户是为规避持股5%以上股东的交易限制,足以证明其违法动机。



评论