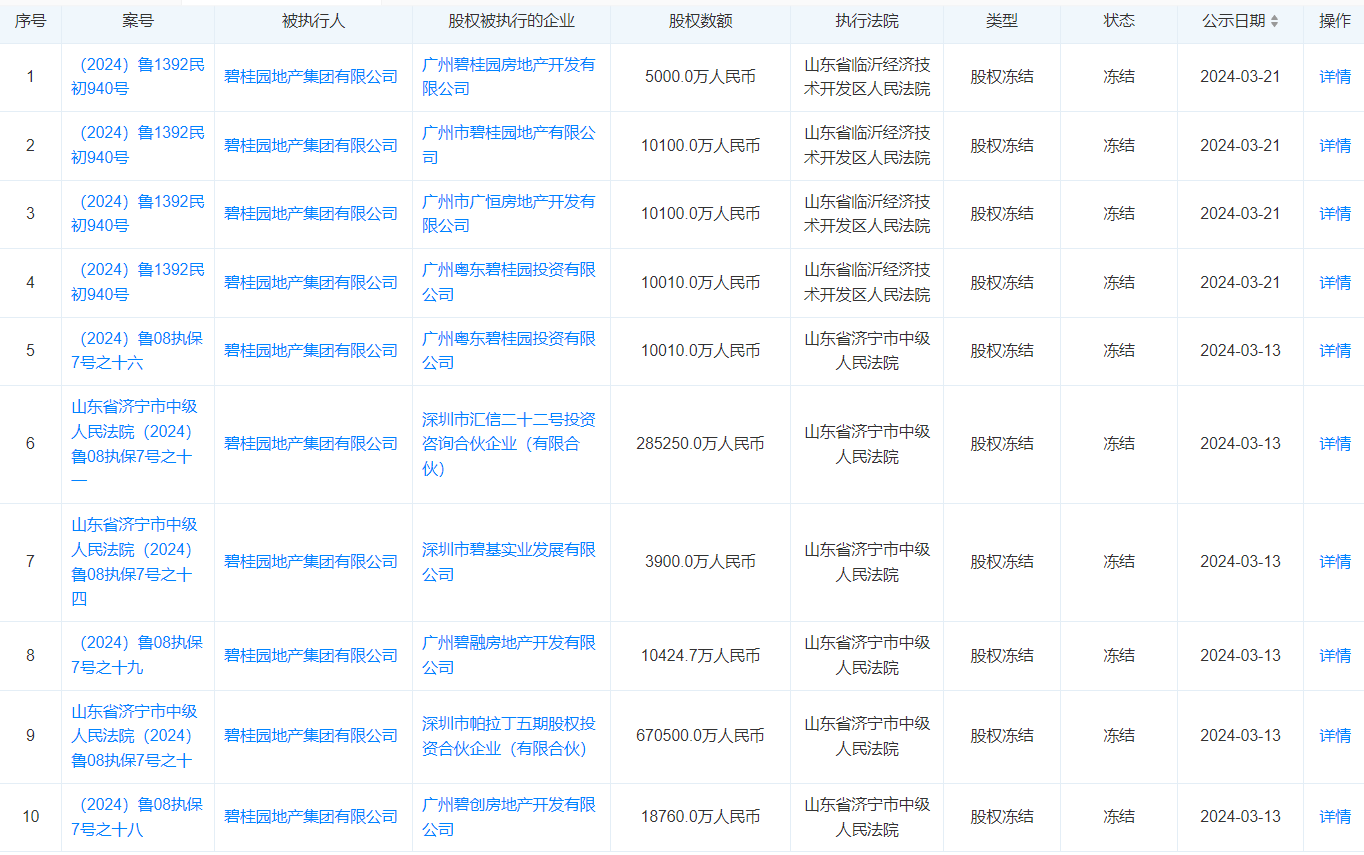
3月25日,天眼查法律诉讼信息显示,近期,碧桂园地产集团有限公司再新增多条股权冻结信息,股权被执行的企业包括深圳市帕拉丁五期股权投资合伙企业(有限合伙)、深圳市汇信二十二号投资咨询合伙企业(有限合伙)、深圳市碧基实业发展有限公司等,冻结股权数额从3900万至67.05亿不等,合计冻结股权超百亿,执行法院为山东省济宁市中级人民法院、山东省临沂经济技术开发区人民法院。碧桂园地产集团有限公司成立于2015年4月,法定代表人为简暖棠,注册资本约153亿,由佛山市顺德区宙华投资咨询有限公司、深圳市碧桂科技发展有限公司共同持股。风险信息显示,此前,该公司持有的多家公司股权已被冻结。此外,该公司还存在被执行人、限制消费令等信息。

评论