智能穿戴续航问题一直都是消费者比较关注的重点,这也是Apple Watch最受争议的问题之一。续航等技术难题还没有彻底解决,现在一天一充确实无法避免。不过Apple Watch续航问题或许将会得到改善。据外媒报道,美国专利商标局日前批准了一项有关苹果手表的专利申请,该专利描述了一个内置电池模块的Apple Watch表带,而这一表带将可以为设备提供额外的电量供应。

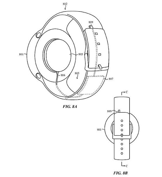
据悉,苹果所申请的这一专利名为“可穿戴电子设备的充电装置”(charging apparatus for wearable electronic device),采用更易装卸的磁性搭扣设计。值得一提的是,专利申请设计图显示,Apple Watch的表盘将采用了圆形样式,与现在的方形表盘差别很大。

需要注意的是,苹果在此次专利申请中主要包括了两种设计方案,其中一种是将电池内置在表带内部为手表进行供电。而另一种则是将电池模块单独安置在手表表盘下方,并可以进行有线充电。此外,苹果还提出使用散热电路以确保表带电池模块舒适地佩戴在用户皮肤上。

目前暂时不清楚这一专利未来是否会应用到下一代苹果手表中。但提高苹果手表的电池续航时间可以让用户在无需充电的前提下连续使用多天,这将给Apple Watch系列产品带来巨大的市场机会,这也将是Apple Watch重度用户的福利。


评论