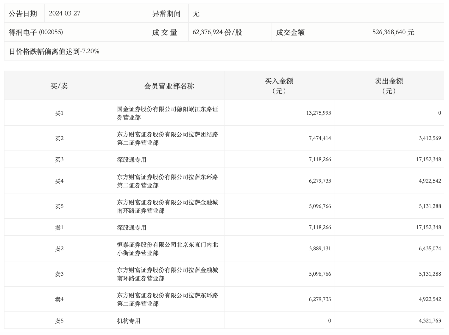
3月27日,得润电子今日跌停,全天换手率达10.58%,振幅达6.74%。龙虎榜数据显示,营业部席位合计净买入175.87万元。其中,机构合计净卖出432.18万元。此外,深股通专用、恒泰证券北京东直门内北小街证券营业部分别卖出1715.23万元、643.51万元;国金证券德阳岷江东路证券营业部、东方财富证券拉萨团结路第二证券营业部分别买入1327.60万元、747.44万元。

来源:界面新闻
3月27日,得润电子今日跌停,全天换手率达10.58%,振幅达6.74%。龙虎榜数据显示,营业部席位合计净买入175.87万元。其中,机构合计净卖出432.18万元。此外,深股通专用、恒泰证券北京东直门内北小街证券营业部分别卖出1715.23万元、643.51万元;国金证券德阳岷江东路证券营业部、东方财富证券拉萨团结路第二证券营业部分别买入1327.60万元、747.44万元。

评论