文|新能源产业家
01 开路即冲刺的热潮
市场水温的变化是从一个网站开始的。
“工商业储能已经卷得不行了,今天在网站备案一个项目,第二天马上就要动土开工,否则业主门外等了一大批要撬单的投资人。”
作为一位从医疗设备跨行过来的打工人,王利被储能市场的阵势镇住了。
最高端的商战,往往只用最朴素的手法。

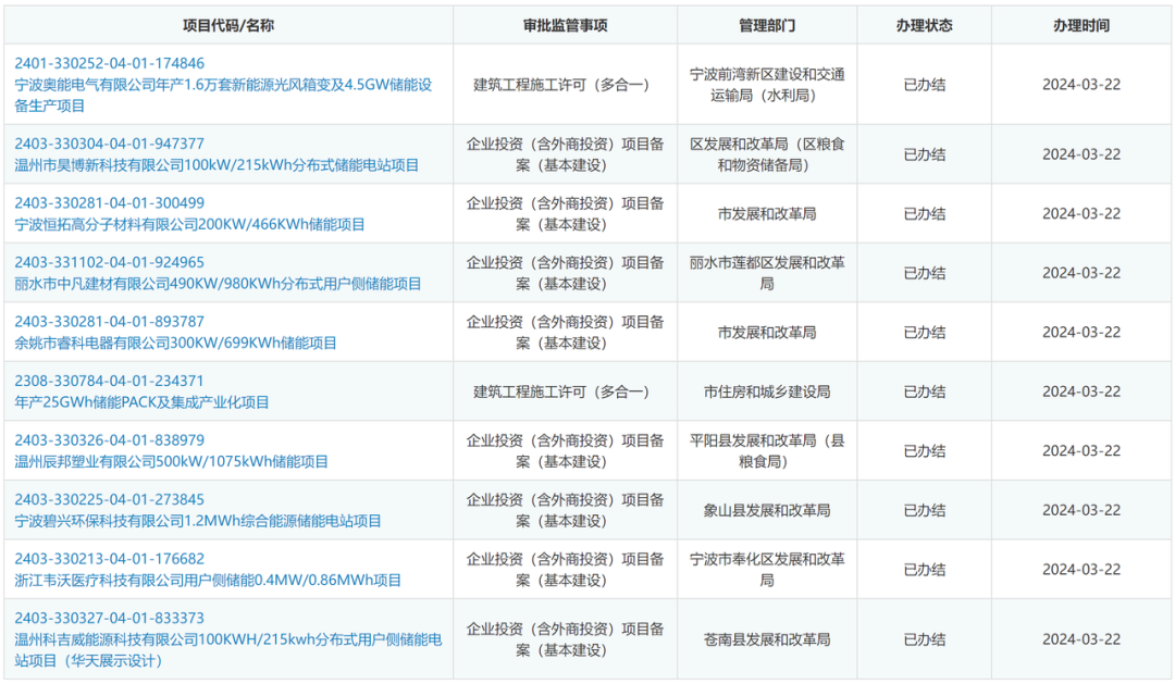
王利口中的网站,浙江投资在线平台,是一个企业项目投资备案和审批的地方政府网站。
每个工商业储能项目投建前,企业都可以在这上传项目位置、面积和储能容量等信息,并受到公示。
从2023年下半年起,这个网站上传的工商业储能备案数量就实现了日以十计的增长,远超传统行业项目投资的增速。
原本,备案意在公示项目开工的前期基础信息,但在工商业储能爆发的当下,已成了浙江工商业储能投资方疯抢项目的集中地。
想撬单的投资人看到愿意投资储能的工厂信息后,直接登门给出了更优惠的分成比例。而分成比例实际上已是变相的激烈价格战。

浙江省储能项目备案公示列表,是投资方的关键项目源
除了已经卷到地板价的35/65分成(项目收益给到业主35%),王利说,还有更多投资方选择了前五年20/80,最后五年50/50分成。
这一分成比例,正是投资人用高收益分成铺开市场、又要在前期快速收回贷款本金的权衡之举。
“以前在传统行业,一个项目从备案到开工建设,基本会预留一星期的时间,在储能,一切规则都变了,已经到了疯狂的程度。”王利对新能源产业家说道。
投资人的疯抢只是储能市场的一个切面。
“搞不好,工商业储能会3、5年走完光伏产业10年的路。”王利告诉我。
过去二十年,光伏产业每三五年就会经历一次起伏周期,每一次起高楼时就有数百家公司、数百亿资金入场,而在“楼塌”时,都会规模成倍地洗牌,留下最终的巨头。
这个起伏周期可以总结为:
新兴蓝海诞生,吸引大规模资金涌入、各路人马蜂起;
下游高强度竞争,倒逼全产业链成本下降;
下游受益低价,整体市场渗透率进一步升高;
扛不住的企业退出市场,活下来的公司吃到红利。
看惯科技产业的读者想必都熟悉这种产业发展的剧本。
对于工商业储能而言,因为上游是更卷的锂电池产业,依附着更大的新能源车产业,产业周期轮换的速度只会比光伏产业更快。
据不完全统计,2023年,工商业储能全国备案项目超2300个,总装机量超3.5GWh,是2022年的三倍,据预测2024年将再增长三倍。
而去年全年,有超300家公司入局工商业储能,单单浙江地区就超过133家,甚至工商业储能最终客户——工厂老板,也亲自下场做储能。
身处上游,做工商业储能安全认证生意的程晓,更是直接感受到了行业的火爆。
程晓供职于某央企下属的认证实验室,从去年上半年开始,预检测的工商业储能产品就堆满了仓库。
因为他每个月都能拿到四五家公司的认证需求,而工商储仅国内标准的认证周期都长达四个月,一次费用高达五十万元。
令人唏嘘的是,堆在仓库的不仅有工商业储能产品,还有两年前同样火到滚烫的便携式储能。但市场风向改变的速度之快让人错愕。
程晓对接的三家便携式储能公司最终因为市场不景气,纷纷取消了订单。
到了今年年初,市面上一下出现了数家工商业储能认证的民营实验室。“费用直接砍了一半。”程晓说。
可以说,仅用半年时间就完成规模化验证的工商业储能,接下来就是拼市场份额、拼产品技术的血战阶段。
02 最赚钱的公司既不造储能,也不做投资
一个关键问题,工商业储能的商业模式真的有这么“性感”吗?
工商业储能最形象的比喻是给工厂配一个大型充电宝,低电价时充电,高电价时放电,让工厂挣峰谷电价差的钱。这是最本质的逻辑,只要算得过来账,工厂就可以直接大举投资。
在苏沪两地拥有150MWh储能项目的郑集说,在江苏落地一个10MWh项目,总投资1200万元,3年就能回收成本,收益率近29%。而传统项目的收益率均值也才不过7%。
但赚钱的既不是储能产品公司,也不是他们这些投资商。
“跨行三个月,净赚两百万。”
这个看上去非常具有传销骗局风格的故事,在陈坤身上真实发生了。“比之前创业一年赚得还多。”他告诉新能源产业家。在入局储能之前,陈坤做过地产销售、开过小饭店。
2023年4月,陈坤在江苏南通某炼钢厂落地了一个20MWh的储能项目。作为毫无背景的业务员,陈坤前前后后向工厂副总宣传储能,再到老板娘,最后再到老板,一路通关,项目落地,到手居间费200万元。
在这之后,陈坤选择了再次创业单干,在浙江、江苏密集落地储能项目。
居间人是2023年工商业储能的风云角色。一手拉通储能产品商,一手撬动雄厚资金,在实际工厂完成落地,这就是居间人的作用。

工商业储能的商业模式主要有三种,但撮合两方的居间人是最关键的角色 图源:阳光电源
陈坤入局时,储能居间费也才不过0.1元/Wh。而到了今年年初时,居间费已经水涨船高到0.2元/Wh,几乎翻倍,占到储能项目成本的15%以上。
如第一部分列出的成本表,翻倍的利润基本是从电芯、3S、土建等各个成本项中一点点抠出来的。
“这代表现在的市场仍然是以资源方为主导,项目都在天上飘,全要靠这些居间人去落地。”王利说。但在竞争加速的市场,定位变得越发重要。居间人暴富的神话或许也只是昙花一现。
郑集将工商业储能市场中的角色分为产品方、资源方和资本方。
工商业储能市场中的角色有产品方、资源方和资本方。
产品方就是储能设备厂,是现在最弱势的一方,价格战激烈。半年时间,工商业储能的系统价格就从1.5元/Wh降到了0.9元/Wh,直降三分之一,成本直逼规模更大的大型储能。
更关键的是,储能系统不是什么技术创新的产物,动力电池的技术至少比储能先进一代。
一位曾在宁德时代任职的投资人告诉我,现在最主流的工商业储能产品——模块化储能柜,宁德时代早在两三年前就研发出来了,但是做惯了大生意的宁德时代,不愿意碰C端市场。
资源方和资本方各有优势,在去年互相跨界。“但互相跨界反而丧失了自己的竞争力。”郑集说。
本质上,资源方也就是居间人,赚的是市场开发的钱,是一次性收益。而资本方是长期收益,赚的是五到十年收益,关键是资产管理运维。赚不同的钱也对应着不同的能力要求。
但郑集有一次接手了想做设备、投资的资源方项目。不仅要重新购买设备,重新备案,甚至还要重新铲掉地皮。
“这家公司最终一年十个项目都做不到。反过来资本方也一样,团队都是投行精英,但一旦做前端市场资源开发,一个都做不了,甚至被骗。”
03 谁将留在牌桌?
过去两年,储能都是关注度极高的市场,伴随着大型储能、户用储能的发展,一大批企业迅速崛起并完成上市。
而工商业储能被视为下一个高增长市场,将会批量造出下一批上市独角兽。这不仅让原本错失造富机会的储能公司转型涌入,工商业储的低门槛,也吸引了一大批行业外的公司跨界卷入。
观察2023年储能出货量榜单的变化就可以发现,大型储能基本由央国企盘踞,国资背景的公司在撬动大项目时有无可比拟的优势,也是更能承受长期的价格战。
两年冲至top1的中车株洲所,更是将大储价格砍至0.6元/Wh,成为储能大单的“钉子户”。
而工商业储能的机会对于普通人来说更加触手可及,创业公司更能够发挥灵活性。
榜单显示,民企是工商业储能的主力军。一家出货量Top5的公司告诉我,去年他们就选择主动放弃一些大储项目,全面转向工商业储能。
“民营资本的优势就在于能够深入到细枝末节中,去把以前央国企看不上的几兆瓦时项目做下来。效率,是他们唯一的优势。毕竟央国企都做惯了一个几百兆瓦时的项目,投资动辄上亿元,收入高得多。”王利说。
据新能源产业家了解,目前估值最高的工商业储能独角兽奇点能源,其策略之一就是依靠极快的落地速度。
2023年11月,奇点能源交付了中开新能源60MWh储能项目,这一项目开工到交付并网,用了仅仅一个月时间。
有业内人士告诉我,正是靠了这一项目,奇点能源直接锁定了全国出货量前三的位置。

奇点能源深圳赤湾60MWh储能项目,图中后方为深圳赤湾石油输送管道 新能源产业家/摄
奇点能源是国内跑马圈地的一个代表,其原本的主要收入来源为大储,而通过重组新建团队,迅速切入工商业储能。
例如,在全国各省市落地经销商大会宣讲,吸引下游资源,和融资租赁公司强绑定,撬动大量资金。经过2023年的抢跑,业内才逐渐摸透了其打法。
对于工商业储能而言,比亚迪、华为、阳光电源等巨头的入局或许将是最大的变数。据新能源产业家了解,阳光电源内部早期对是否要进入工商业储能还十分犹豫,因为订单过于分散。
但在2024年,其策略显然要激进得多——落地超100场工商业储能宣讲会,吸纳经销商,同时大笔投资冠名高铁广告,触达C端。这一系列举措是B端大公司所不擅长的。
加速竞争之下,留在牌桌的机会将越来越稀少。
(文中受访人均为化名)



评论