界面新闻记者 |
4月9日,高新发展(000628.SZ)跌停,成交额22.32亿元,换手率17.73%。
4月8日晚间,高新发展发布涉及四川华鲲振宇智能科技有限责任公司(简称“华鲲振宇”)70%股权并配套募资重组进展称,公司存在未在首次董事会决议公告后6个月内发布召开股东大会的通知导致需重新召开董事会审议发行股份购买资产事项,并以该次董事会决议公告日作为发行股份定价基准日的风险,从而存在交易各方无法就重新确定的发行股份的价格达成一致,导致交易终止的风险。
回顾起来,2023年9月27日,因筹划重大资产重组事项,该股票当日开市起停牌。随后10月18日,高新发展披露,拟通过发行股份及支付现金的方式购买成都高投电子信息产业集团有限公司(简称“高投电子集团”)、共青城华鲲振宇投资合伙企业、海南云辰合业科技合伙企业(2024年1月平潭云辰科技合伙企业已更名为“海南云辰合业科技合伙企业”)合计持有的四川华鲲振宇智能科技有限责任公司(简称“华鲲振宇”)70%的股权,并募集配套资金。
本次交易预计构成关联交易,构成重大资产重组,不构成重组上市。标的公司华鲲振宇为算力产业企业,主要提供基于数据中心、人工智能处理器的自主品牌计算、存储等系列产品的设计、研发、生产、销售及服务。高新发展称,通过收购华鲲振宇,公司将进一步丰富公司业务类型,有助于拓宽盈利来源,提高上市公司的核心竞争力,实现业务拓展和利润增长。
2023年10月19日,公司收到深圳证券交易所上市公司管理一部下发的问询函。公司及相关各方随后就《问询函》中所涉及事项逐项进行了认真的核查、分析和研究,对照《问询函》中的有关问题向深圳证券交易所进行了回复。

2024年2月18日,高新发展披露进展公告称,收到本次重大资产重组交易对方高投电子集团的通知,高投电子集团已参与竞价购买四川长虹电子控股集团有限公司持有的华鲲振宇22%股权,并受让了四川申万宏源长虹股权基金合伙企业持有的华鲲振宇3%股权,完成了全部交易价款的支付。高投电子集团此次收购的华鲲振宇25%股权不参与本次交易,上述收购事项不涉及对本次交易方案的调整,不会对本次交易造成影响。
高新发展表示,自本次交易预案披露以来,公司、各中介机构及其他相关各方积极推进本次重大资产重组的各项工作,已完成对标的公司历史沿革、业务数据、财务数据等主要资料的收集和整理工作。公司与中介机构持续跟进尽调过程中关注的重点问题,就相关重点问题进行进一步商讨、论证,跟进标的公司后续补充的相关资料。
但截至公告披露日,公司本次交易所涉及的审计、评估等相关工作尚在进行中,经审计的财务数据可能与已披露的数据存在差异,公司与交易各方对交易方案的核心问题进行了沟通、磋商和审慎论证,但交易各方对交易作价的谈判尚未最终达成一致。
高新发展称,由于审计、评估结果,标的资产交易作价的协商以及国资审批程序的履行仍存在不确定性,本次交易存在无法在法定期限即首次董事会决议公告后6个月内发布股东大会通知的风险。
按照重组相关规定,上市公司在发行股份购买资产的首次董事会决议公告后,六个月内未发出召开股东大会通知的,应当在六个月期限届满时,及时披露关于未发出召开股东大会通知的专项说明。专项说明应当披露相关原因,并明确是否继续推进或者终止本次重组事项。继续推进的,上市公司应当重新召开董事会审议发行股份购买资产事项,并以该次董事会决议公告日作为发行股份的定价基准日。
就此,高新发展坦言,“截止目前,上市公司已就是否继续推进事项与部分交易对方进行讨论,但尚未达成一致意见。此外,前期股价大幅上涨,如需重新锁价,存在交易各方无法就重新确定的发行股份价格达成一致,导致本次交易终止的风险。”
截至公告出具日,该公司股票收盘价较本次重大资产重组事项停牌前收盘价已上涨334.78%,股价从2023年9月26日的每股16.33元飙升至如今的63.9元,期间最高曾达95.7元/股;期间曾51次触及异动红线。其中,于2023年10月18日披露交易后,高新发展连收11个涨停板,成为当年最受市场关注的个股之一。
不过,可以看到,自2024年3月19日爬升至高位后,高新发展股价便开始持续回落。3月19日至4月9日,该股票区间跌幅约为26.55%,成交额520亿元,区间换手率329.15%。
实际上,3月18日,高新发展就披露,公司存在未在规定的6个月内发出召开股东大会的通知,导致需重新确定支付对价发行股份的定价基准日,从而存在交易各方无法就重新确定的发行股份的价格达成一致,导致交易终止的风险。据财联社消息,4月9日,该公司相关人士称,公司昨晚公告仅披露了目前进展和相关风险提示,并非指交易失败。
4月9日,该公司进一步提示风险称,由于本次交易存在的相关风险,交易方案及交易进展的不确定性可能导致公司股价下跌。
主力资金和游资反应更灵敏。界面新闻根据东方财富Choice数据统计,3月20日至4月9日,高新发展获主力资金净流出累计超28亿元。而2023年10月18日至2024年4月9日,该股票获主力资金累计净流出约102.83亿元。
知名游资也在“出逃”。4月9日盘后龙虎榜数据显示,深股通专用席位买入1亿元并卖出8506.58万元,一机构净买入5279.86万元,牛散葛卫东(国泰君安上海分公司)为卖一席位,净卖出1.89亿元。

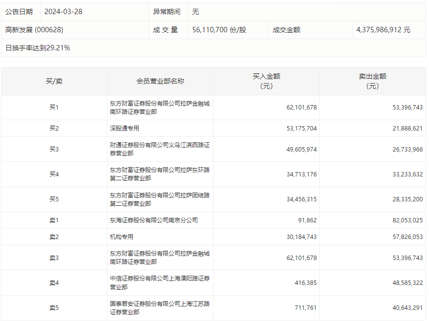
3月28日收盘,高新发展龙虎榜显示,机构合计净卖出2764.13万元,深股通专用账户合计净买入3128.71万元,知名游资上海溧阳路(中信证券上海溧阳路证券营业部)净卖出4816.89万元、章盟主(国泰君安上海江苏路证券营业部)累计净卖出3993.15万元。

当前,高新发展主营业务仍为建筑业和功率半导体业务。建筑业是公司目前第一大收入及利润来源,目前还有智慧城市建设、运营及相关服务业务、厨柜等业务,但收入或利润体量均较小。2023年,该公司实现营业收入80.08亿元,同比增21.88%;归母净利润3.66亿元,同比增83.82%。公司拟向全体股东每10股派发现金红利1.52元(含税)。



评论