界面新闻记者 |
新“国九条”颁布之后,科创板公司的“硬科技”属性将得到进一步加强。4月12日,证监会提出,要凸显科创板“硬科技”特色,强化科创属性要求。
具体看来,证监会拟将《科创属性评价指引(试行)》第一条第一项“最近三年研发投入金额”由“累计在6000万元以上”调整为“累计在8000万元以上”,将第三项“应用于公司主营业务的发明专利”数量由“5项以上”调整为“7项以上”,将第四项“最近三年营业收入复合增长率”由“达到20%”调整为“达到25%”。

另外,值得一提的是,证监会发布《关于严把发行上市准入关从源头上提高上市公司质量的意见(试行)》提出,要严查严防拟上市企业突击“清仓式”分红。在指标方面的初步考虑是,对于报告期三年累计分红金额占同期净利润比例超过80%的;或者报告期三年累计分红金额占同期净利润比例超过50%且累计分红金额超过3亿元,同时募集资金中补流和还贷合计比例高于20%的,将不允许其发行上市。
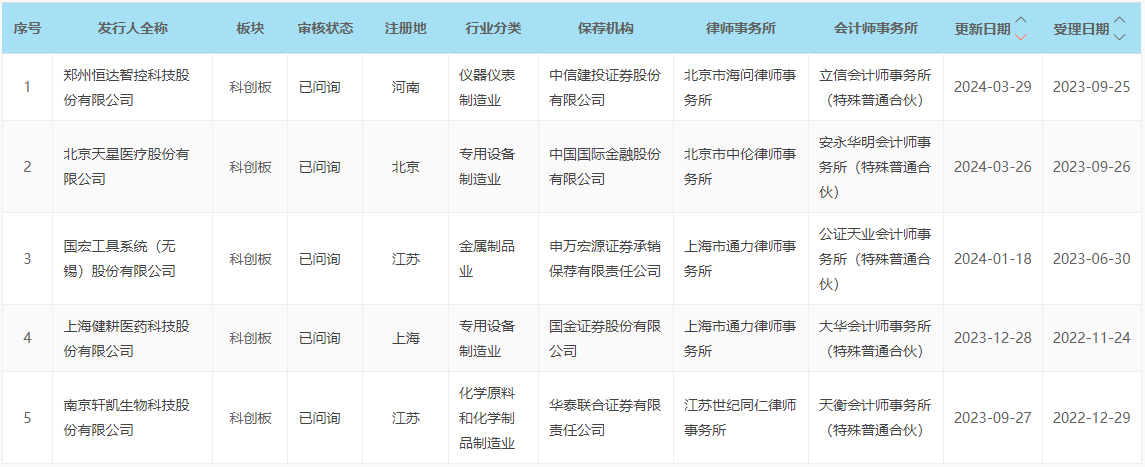
界面新闻根据上交所科创板官网获悉,截至2024年4月18日,郑州恒达智控科技股份有限公司(简称“恒达智控”)、北京天星医疗股份有限公司(简称“天星医疗”)、国宏工具系统(无锡)股份有限公司(简称“国宏工具”)、上海健耕医药科技股份有限公司(简称“健耕医药”)、南京轩凯生物科技股份有限公司(简称“轩凯生物”)等5家公司仍处于审核状态。

健耕医药:23.46%IPO募资将补流,近三年及半年合计研发费用2.39亿元

健耕医药的科创板IPO上市申请材料于2022年11月24日获上交所受理,目前公司处于第二轮问询已回复阶段。公司是器官移植领域全球领先的医疗器械产品及服务提供商。公司自成立至2010年,主要经营器官移植领域医疗器械及免疫抑制剂的代理销售业务;2010年,公司成立研发部门,开始进行移植领域体外诊断试剂的研发。
该公司此次IPO拟投入募资10.23亿元,其中2.4亿元用于补充流动资金,占比23.46%。该公司于2020年进行现金分红3000万元。

财务数据显示,2020年至2022年及2023年1-6月,健耕医药分别实现营业收入为4.21亿元、4.8亿元、5.41亿元、3.48亿元。报告期内,该公司研发费用分别是6589.77万元、6446.06万元、6644.54万元、4251.57万元,分别占当期营收比例为15.68%、13.33%、12.2%、12.36%。总计下来,该三年及半年,健耕医药合计研发费用2.39亿元,占该期间总营收比例为13.35%。
2016年,健耕医药完成了对美国器官移植领域知名公司LSI的收购,其主要产品为全球应用最广泛的肾脏低温机械灌注产品——LifePort肾脏灌注运转箱及与其配套使用的一次性肾脏灌注耗材、器官保存液产品,以及目前已完成临床试验并处于FDA注册阶段的LifePort肝脏灌注运转箱及其配套耗材。2019年至今,公司多项自研的用于监测器官移植患者术后药物浓度的体外诊断试剂取得注册证。
该公司2016年因收购LSI形成商誉合计4522.34万美元,合31371.47万元。由于汇率变动,截至2022年3月31日,公司合并资产负债表中上述商誉的账面价值为28708.71万元,占2022年3月31日公司资产总额的22.85%,占比较高。
健耕医药称,自收购LSI相关技术产品以来,公司自主改进提升和国产化已取得实质性成果,公司具备独立自主持续研发能力。自收购LSI以来,该公司实际控制人吴云林、副总经理杨晓岚通过LSI定期董事会、不定期高管会议、境内外研发团队会议及境外实地考察等形式,提出或参与了有关移植器官保存及修复产品在核心技术、组件及工艺和质量指标方面改进及提升的决策。截至2023年6月底,公司总体研发人员占比24.73%,公司本科以上学历人员占比66.13%。
截至2023年6月30日,健耕医药境外子公司LSI及ORS已取得的器官保存及修复产品技术相关的专利共522项,其中496项专利(含435项发明专利)系境外子公司LSI和ORS在2016年发行人收购前申请,26项专利(含13项发明专利)系境外子公司LSI和ORS在发行人收购后申请。除上述已授权专利外,LSI和ORS目前处于在审阶段的35项专利(含34项发明专利)系在公司收购后申请。截至本报告出具日,公司境内研发团队于收购LSI后,已提交17项与器官保存及修复产品技术相关的专利申请(含5项发明专利申请),其中5项实用新型专利及1项外观专利已取得专利授权。
轩凯生物:三年及半年合计研发投入6168.19万元,占合计营收比例6.91%
轩凯生物于2022年12月29日获上交所受理其科创板IPO申请材料,目前第一轮问询已回复状态。公司立足于工业生物技术、合成生物学的持续研发和产业化,主要从事聚谷氨酸、壳寡糖和枯草芽孢杆菌等生物助剂产品,以及生物刺激素类、特种肥料和饲料添加剂等生物制剂产品的研发、生产和销售。
轩凯生物曾于2019年、2021年分别进行现金分红800万元、1000万元。同时,该公司此次IPO募资并未用于补充流动资金项目。

轩凯生物称,其属于《上海证券交易所科创板企业发行上市申报及推荐暂行规定》第四条规定的“生物医药”领域。公司产品为生物助剂和生物制剂产品,是基于微生物发酵法和酶催化法等工业生物技术生产的新型生物制品。2020年至2022年及2023年1-6月,该公司分别实现营业收入是1.42亿元、2.53亿元、3.27亿元、1.71亿元。
公司已构建以冯小海、殷文锋、许宗奇、梁金丰、周哲、王延斌等6名核心技术人员在内的技术团队。同时,围绕冯小海等核心技术人员,截至2023年6月30日,公司研发人员占比为17.27%。
此外,2020年至2022年及2023年1-6月,轩凯生物研发费用投入分别为810万元、1611.99万元、2512.46万元和1233.74万元,分别占当期营业收入比例为4.74%、4.93%、9.94%、8.7%。据此统计,报告期内,该公司三年及半年度研发投入合计6168.19万元,占这期间公司合计营收比例为6.91%。
在发明专利方面,2020年至2022年和2023年1-6月,轩凯生物研发项目数量分别为11个、23个、24个和24个。2020年以来,截至2023年6月30日公司获得授权的新增发明专利共计12项,同时另有12项发明专利系2020年以来,截至2023年6月30日新申请、仍在专利审核过程中的专利,上述发明专利均为公司单独申请,不涉及共同专利、共同申请的情形。
国宏工具:近三年累计研发投入4674.09万元,占累计营收比例为5.35%
国宏工具的科创板IPO申请材料于2023年6月30日获上交所受理,目前处于已问询状态。公司是一家专业从事超高精密数控刀具和集成电路封装楔形劈刀的研发、生产、销售和服务的高新技术企业。公司所属行业领域为“新材料产业”领域中的“硬质合金及制品制造”。
该公司此次IPO拟投入募资额3.67亿元,其中6000万元用于补充流动资金,占比16.35%。该公司曾于2021年及2022年分别进行现金分红3150万元、1463.64万元。

2020年、2021年和2022年,国宏工具分别实现营业收入为23121.33万元、29594.41万元、34688.87万元。


报告期内,该公司研发投入分别为1276.30万元、1533.17万元、1864.62万元,近三年累计研发投入是4674.09万元,占三年累计营业收入的比例为5.35%。

截至本招股说明书签署日,国宏工具共拥有已获授权专利96项,其中发明专利10项,实用新型专利86项,拥有包括刀具槽型结构设计、精密磨削、PVD涂层和CVD涂层等在内的多项自主研发关键技术。截至2022年12月31日,公司研发人员为57人,占当年员工总数的比例为11.61%。

恒达智控:2020年至2022年合计现金分红14亿元,占当期累计净利润83.53%
恒达智控的科创板IPO审核材料于2023年9月25日获上交所受理,目前处于已问询的审核状态。公司称专业从事煤炭智能化开采控制系统技术与产品的研发、生产、销售和服务,属于高端装备行业。
该公司此次IPO拟投入募资额25亿元,其中2.5亿元用于补充流动资金,占比10%。公司曾于2020年、2021年至2022年分别进行现金分红3.5亿元、3亿元、7.5亿元,累计14亿元;同期公司净利润分别是4.2亿元、5.23亿元、7.33亿元,累计16.76亿元;最近三年公司现金分红占同期净利润比例为83.53%。

财务数据显示,2020年至2022年及2023年1-3月,恒达智控分别实现营业收入为14.54亿元、18.5亿元、24.28亿元、6.1亿元。同期,该公司研发费用分别为5260.30万元、7405.40万元和9932.59万元,分别占当期营收3.62%、4%、4.09%、4.68%;最近三年及一期合计研发费用22598.29万元,占该期间总营收比例为3.56%。

截至2023年3月31日,公司共拥有研发人员225人,占员工总数比例为31.91%,涵盖工业控制、工况检测、数字通信等多学科领域,其中硕士及以上学历共66人,占研发人员比重29.33%。截至2023年3月31日,应用于公司主营业务收入的发明专利15项。

天星医疗:27.45%IPO募资将补流,最近三年研发投入占累计营收比例22.04%
天星医疗的科创板IPO申请材料于2023年9月26日获上交所受理,目前处于已问询的审核状态。公司是一家运动医学创新医疗器械企业,主要从事运动医学植入物、有源设备及耗材,以及手术工具的研发、生产与销售,为患者和医生提供运动医学整体临床解决方案。
该公司此次IPO拟投入募资10.93亿元,其中3亿元用于补充流动资金,占比27.45%。

截至本招股说明书签署日,天星医疗已获得15张III类医疗器械注册证、12张II类医疗器械注册证,并且已获得13个产品的CE认证,以及产品获得美国、英国、澳大利亚、印度和印度尼西亚医疗器械注册证。公司承担北京市科学技术委员会医药健康重点创新研发储备项目,与北京市积水潭医院、上海市第六人民医院、上海市第一人民医院等多家知名三甲医院开展产学研合作。
2020年、2021年、2022年及2023年1-3月,该公司分别实现营业收入为2640.72万元、7301.30万元、14797.05万元、3503.68万元。2020年至2022年公司最近三年营业收入复合增长率为136.72%。

2020年至2022年及2023年前3月,天星医疗研发投入分别是1504.99万元、2116.46万元、1829.86万元、698.25万元,占当年营收比重分别是56.99%、28.99%、12.37%、19.93%。其中,2020年-2022年公司累计研发投入5451.31万元,占最近三年累计营业收入比例22.04%。

截至2023年3月31日,公司研发人员数量61人,研发人员占员工总数的比例为22.85%。

截至招股说明书签署日,天星医疗已获得96项专利,其中15项为发明专利。其中,截至2023年3月31日,该公司及其子公司应用于主营业务的发明专利为14项。




评论