2016年11月4日,国家网信办发布《互联网直播服务管理规定》(以下简称《规定》)。目前,距离规定实施已经两月有余,却有平台无视规定,为吸引用户,放任主播尺度,而实际控制人为李学凌的“比邻”恰恰是其中之一。
涉黄直播平台都藏匿“地下”了吗?非也
2016年7月,文化部公布首批网络表演黑名单,依法查处23家网络文化经营单位共26个网络表演平台,关闭严重违规表演房间4313间,处理违规网络表演者16881人。随后,一批又一批的直播平台被媒体曝光,直播涉黄一事也得到了广泛关注。
在如此严格的管理下,大部分直播平台纷纷响应主管部门号召,加强管控,远离低俗与色情。但也有一些平台铤而走险,藏匿于地下进行涉黄表演。昨日,有报道称,在一款名为“亲亲直播秀”的平台上,数十名主播在线,并不断有女主播裸露身体,要求观众打赏,声称打赏越多,裸露越多。
事实上,这种大尺度的直播表演并不仅仅局限于这种秀场类直播平台上。今日凌晨,速途网登陆社交APP比邻,发现了更为“不堪入目”的直播内容。而该APP在iOS以及Android均可下载使用,且用户较为活跃。
比邻午夜三大关键词:造人、抛胸、裸聊
2013年5月,比邻正式上线,当时网友将比邻称为“语音版陌陌,90后约炮神器,乡村非主流聚集地,饥渴男大本营,川渝妹子扎堆,东北人的网上聊天室。”
抛开微信、QQ等几大社交应用来看,比邻在当时也算小有名气,毕竟此类社交软件在当时可谓是“百花齐放”。而后,为了顺应时代的风口,比邻也进入改变阶段,增加直播功能。至此,比邻已经彻底脱去了语音社交APP的标签,随之而来的是,比邻多了一顶“色情的帽子”。

比邻上的色情直播更多是来源于平台方面的放纵,虽在其APP页面上呼吁遵循文明公约,但实际上,平台的监管力度却并没有跟上。

情人节当日凌晨,速途网登陆比邻后发现,其直播标题多数与色情有关,更有甚者一丝不挂开始直播。

随后,一名年轻男子的直播间瞬间飙升到了比邻直播榜的第一位,经了解,这名年轻男子与年轻女子在直播间表演起了“直播造人”,同时,该男子声称“反正不是自己媳妇”。

同时,经了解后发现,比邻直播榜前几名均为色情直播,而这其中最常见的直播方式就是抛胸、漏点,摆弄骚姿。其主播不断抚摸自身来挑逗游客并获得礼物。

不仅直播如此,比邻似乎也成为了色情服务中介平台,许多用户明码标价,视频裸聊,自拍视频公开出售。
值得一提的是,比邻的大尺度直播中,主播不会始终将画面对准自己,而是间歇性的将画面对准其它地方以“销魂”的声音来吸引用户,并不断像用户索要礼物。也正因如此,比邻才色情直播才得以持续,这擦边球打的的确“漂亮”。
公司三次转手,比邻的涉黄之路愈演愈烈
事实上,在比邻成立之初,就有人质疑比邻打色情擦边球一事,当时,比邻创始人曾表示,这种事情不能避免,因为构建一个产品,产品上有不同的人,上面会发生不同的事情,有可能是不好的事情,开发者会想办法降低发生不好事情的概率,我们会做类似举报的功能,这是正常的现象,开发者会慢慢引导用户往好的方向发展。

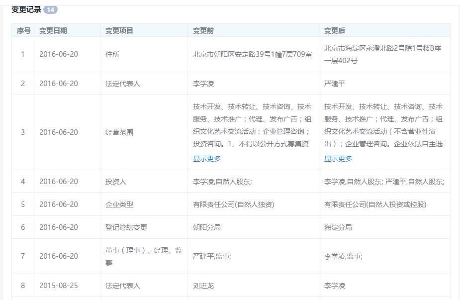
但事情并没有向好的方向发展,比邻反而被转手。公开资料查询可以发现,2015年8月25日,比邻被转手过度给了YY创始人李学凌。要知道,当年的YY可是被李学凌治理的“风调雨顺”,不允许任何擦边球现象存在,想必治理当时还未开通直播功能的比邻不会有难度吧。

但不足一年,比邻法人由李学凌变更为严建平(曾任欢聚时代财务总监),而比邻的监管越来越松散,增加了直播功能后直播尺度也变得越来越大。我们是否可以认为,李学凌对已经上市的YY和比邻,在内容方面实行了双重标准,甚至放任自流。
业内人士表示,直播平台对内容的监管通过技术和人力两种方式是能够绝大部分规避的。如果平台上出现淫秽色情的直播内容,只要平台方投入足够的监管人力是一定能够见效的。技术上,目前的自动识别的技术,90%到95%的明显淫秽色情内容都能够识别,一旦出现违规内容,通过这套技术会自动封停直播的账号。比邻这种大规模公然上线涉黄内容,可以归罪于平台方不作为。


评论