文 | 野马财经 张凯旌
编辑丨武丽娟
80岁资本大佬陆克平的晚年生活有些不太平。
5月8日,威创股份(002308.SZ)因涉嫌未按时披露年报等信息披露违法违规,遭证监会立案。这已经是半年内公司第二次被立案,上一次是因为账上13亿元资金被离奇划走,下落不明。
而就在威创股份被立案的前一天,ST阳光(600220.SH)控股股东阳光集团因内幕交易海润光伏股票,收到了证监会2.3亿元的罚单。ST阳光身上还有另一桩针对陆克平的立案尚未水落石出,理由同样是涉嫌信披违规。

来源:ST阳光公告
出事的两家公司,都指向“阳光系”和其前掌门陆克平。其中,威创股份虽然没有实控人,但其控股股东中数威科合伙企业背后的出资方是阳光集团;ST阳光是陆克平资本蓝图的起点,帮他积累起第一桶金的国内纺织业龙头。此外,“阳光系”还实控四环生物(000518.SZ)。
短时间内连续出现利空,对于资本市场的信心产生了不小打击。截至5月16日,ST阳光股价已经九连跌停,股价跌破1元/股,市值仅剩17亿元;而威创股份已因未披露年报被停牌,停牌前的7个交易日,公司股价大起大落,出现2次涨停、3次跌停,市值定格在18亿元。
多起事件都在朝着不利于“阳光系”的方向发展,而更猛烈的暴风雨,可能还在后面……
“阳光系”多家上市公司被立案
事实上,上一次阳光集团与海润光伏产生交集,还要追溯到9年前。
海润光伏曾是国内最大的晶硅太阳能电池生产企业之一,2011年完成借壳上市,控股股东是阳光集团子公司紫金电子。然而上市后,海润光伏业绩却每况愈下,没有一年达成业绩承诺。
2012年-2013年,阳光集团需要补偿的利润差额超12亿元。败局已定之际,陆克平开始套现。
2014年底,海润光伏限售股解禁;2015年1月7日开始,在3个月的时间内,紫金电子就将自己在海润光伏的持股比例从16.63%减持至0.32%,套现超20亿元。
证监会在处罚书中,并未明确提及阳光集团内幕交易的细节。不过,单是看紫金电子减持过程中,海润光伏的股价变化,就有不少蹊跷之处。
虽然减持周期有3个月,但紫金电子实际披露的减持日只有7天,最多一次一天就减持了海润光伏5%的股票。

来源:海润光伏公告
大股东如此集中地减持,海润光伏盘面本应面临较大的抛压,然而实际情况是,紫金电子减持的这7天里,海润光伏股价都以收涨告终,最后三个减持的交易日还都封上了涨停板。减持的3个月里,海润光伏股价累计涨幅达83.08%。
即便中间公司曾经一度放出高送转的分配方案刺激市场,这样的股价走势也有些反常。毕竟放出分配方案前,紫金电子已经减持了超11%,在此期间海润光伏股价还是涨了22.66%。
香颂资本董事沈萌认为,大股东大规模减持而股价不降反增,这不属于正常的市场行情,极大可能是上市公司、大股东及游资联手进行的市场操纵。
与阳光集团被罚相比,威创股份的立案显得更加扑朔迷离。
“阳光系”是在2020年入主威创股份的。当年,威创股份原控股股东将所持全部股份转给了有限合伙企业中数威科,而中数威科LP(出资方)“蒙萨斯(台州)”的全资股东为阳光集团,陆宇也在2022年被推选为总经理,并于2023年当选董事长。
值得一提的是,陆宇刚当选董事长不久,阳光集团就心生退意,准备把手里的股权转让给西岭能源,后者实控人为刘钧。但问题也恰是出现在刘钧这。
威创股份称,2023年9月-11月,刘钧先是通过共管银行账户将公司账上13.3亿元资金划到自己账户,随后全额归还,然后又将这笔巨款分批转走,至今未还。
巧合的是,近期威创股份又在无法披露年报的原因中解释称,就在刘钧第一次把钱转走的同一时间段,公司向深圳博海净转出13.269亿元,管理层对该款项性质无法判断,无法保证该事项在财报中进行了真实、准确的披露。
金额和时间上的一致性,难免会让外界对这两笔先后披露出的转账产生联想。实际上,威创股份也已经确认,这13亿元正是年报难产的重要原因之一。
那么谁该为丢失13亿元担责呢?首先,刘钧尚未成为实控人,就能将共管账户资金转移,说明上市公司内控存在极大问题;其次,从刘钧的状况来看,阳光集团这次也是找了个“不靠谱”的接盘方。
虽然刘钧是资本市场老手,曾染指东北电气、步森股份等上市公司,还曾与“世界铜王”王文银的正威集团有过合作,但其
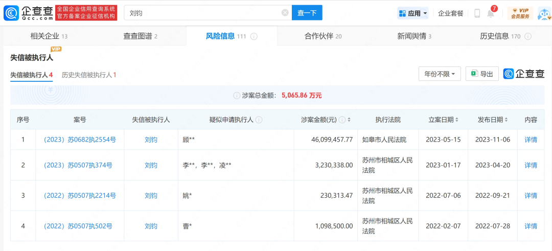
2021年就开始被限消,现在还身背24个限消令,同时还是“老赖”,目前失信被执行金额5065.86万元。

来源:企查查
或许是被“盯得太紧”,刘钧近几年已经有意隐居幕后。若不是威创股份交代,外人很难发现西岭能源的实控人是刘钧,因为这家公司无论股东还是主要人员都没有刘钧的名字。只有从执行董事刘琛担任监事的其他公司中,才能发现刘钧的影子。
在这种情况下,阳光集团还选择与刘钧合作,出了问题之后,阳光集团和身后的陆克平很难置身事外。
“毛纺巨子”生涯后期多次违规
陆克平本是实业起家的大佬,但自从开始“追光”,就不停被监管开出罚单。
业内曾评价其职业生涯为:起于江苏阳光,兴于海润光伏,终于四环生物。
陆克平生于中国纺织工业重镇江阴,年少时从基层做起,42岁当上了江阴市精毛纺厂厂长。其率先从国外引进设备、流水线,还创造了自主品牌和技术体系,让江苏阳光(ST阳光)脱颖而出,成为国内最大的精毛纺生产企业。
2005年,陆克平以14亿身家首登胡润百富榜,名列榜单第124位,被业界誉为“毛纺巨子”。
财富积累起来后,陆克平开始觊觎光伏产业。然而在全球性光伏产业寒冬的冲击下,陆克平设立和收购的宁夏阳光、海润光伏很快便“一死一伤”。
2013年,江苏阳光因为在宁夏阳光停产、破产事项等方面的信息披露及决策程序方面存在违规行为,被证监会警示;2015年,因为在海润光伏高送转分配预案中存在误导性陈述,紫金电子被警告,并处罚款40万元。这成为了陆克平违规的开端。
2014年,陆克平又盯上了四环生物。其在4年的时间里,拉上妻子、儿子和一干在阳光集团担任过要职的老员工,累计买入四环生物股票金额43.21亿,一度把自己和一致行动人的持股比例买到了30%以上。
这4年里,陆克平一直隐秘掌权。其会给上市公司的文件盖章签字,也会出席股东大会、投票,甚至四环生物还与阳光集团子公司阳光置业发生了关联交易,可面对监管的提问,四环生物却坚称公司无实控人。哪怕是证监会的罚单已经开出,陆克平依旧辩称,四环生物和自己没关系,且投资四环生物亏损近10亿,并无违法的故意。
但无论陆克平怎样辩解,其所入主的每一家上市公司都会出现违规行为已是既定事实。
而且仅从四环生物一案来看,陆克平可谓“赔了夫人又折兵”。不仅亏损严重,其个人还被证监会采取终身市场禁入措施,并处罚款2734万元。
一直到2022年,江苏阳光还会出现因财报披露不准确、核算不规范被监管点名、警告的情况,也难怪股民中会喊出“对其(陆克平)应倒查20年”的声音。
而一次次的违规,也让陆克平和“阳光系”的处境愈发艰难。
“70后”儿子接班
资本运作不力,目前“阳光系”经营上的状况也难言乐观。
主营医疗诊断试剂的四环生物自2021年起,营收就连续下滑,并且难以扭亏。
数字拼接墙系统业务提供商威创股份自2019年起,营收也进入了下降通道。2023年前三季度,公司营收同比下降15.68%,净利润同比下降82.36%,其在年报难产原因中明确表示,2023年存在较多识别出来的重大和重要内控缺陷,涵盖经营管理中多个重要环节,对公司产生重大而广泛影响,且整改计划进展缓慢。

来源:Wind数据
相较而言,2022年还年入17亿元的ST阳光已经算是优质资产。但最近,ST阳光的情况也急转直下。
年初ST阳光给出的业绩预告中,虽然净利润大幅下降,但好歹还维持盈利;可4月公布年报时,ST阳光却出现业绩变脸,2023年净亏损近1亿元,这也是近十年来公司首次年度亏损。
这背后是ST阳光两家关联方——阳光服饰和阳光集团的还款均未达预期,上市公司不得不计提更高的坏账和信用减值损失。
阳光集团还出现了非经营性占用ST阳光1.7亿元资金的情况。此外,截至5月8日,阳光集团累计质押上市公司股份已经占到其持股总数的97.47%;阳光集团及其一致行动人合并已质押股份占所持上市公司股份总数的95.09%。
还款预期下调、占用资金、高比例质押……种种迹象显示,阳光集团的资金流动性正承受较大的压力。
5月15日晚,ST阳光三位独董联名上书,催促上市公司尽快采取措施解决问题。在阳光集团的拖累下,ST阳光正面临极大退市风险。
值得一提的是,在此之前,陆克平已经与儿子陆宇做了不少交接,主要就集中在ST阳光的职位和控制权方面。
陆宇出生于1975年,中国香港居民,本科学历。2011年起,陆宇开始担任江苏阳光生态园科技有限公司总经理;2017年进入ST阳光董事会;2022年被选为威创股份总经理、董事。
2023年3月,陆宇接替缪锋成为ST阳光新一任董事长;6月,陆克平家族开始腾挪股权。按照原本的计划,股权转让完成后,陆宇及一致行动人对上市公司的持股比例将达26.92%,其也会正式成为ST阳光新实控人。
父子交易的股权作价为3.63亿元,而《详式权益变动报告书》发布时正值江苏阳光一年内的股价低点。即便以当日股价计算,这份报价相较市场价还是打了七折。
不过,由于陆克平手上的股权有大比例质押,股权交割过户受限,至今父子计划中的交接也没能完成。
或许是为了做另一手准备,2023年7月,陆宇斥资3.1亿元对阳光集团大股东阳光控股进行了增资。但至少目前,ST阳光的实控人还是陆克平。
“阳光系”还能完成真正的“交接”吗?相关规定显示,若上市公司股价连续20个交易日每日收盘价均低于1元/股,股票将被退市。5月16日是ST阳光股价低于1元/股的第一天,留给陆宇和陆克平的时间不多了。
你认为陆克平最终会以怎样的结局收场?陆宇能顺利接班吗?评论区聊聊吧!


评论