文|独角金融 郑理
青岛前首富姜俊平控股的巴龙国际集团有限公司(下称“巴龙集团”),又拍卖了青农商行(002958.SZ;或称“青岛农商行”)5512万股股权。
5月20日,因债务原因,青岛市崂山区人民法院对青岛农商行股东巴龙集团所持该行的5512万股份在阿里巴巴拍卖平台被司法拍卖,本次拍卖所展示的评估价格为1.49亿元,起拍价1.55亿元。经过一天的竞逐,在3名出价者中,上海楷巨信息科技有限公司(下称“楷巨信息”)以出价1.56亿元竞拍成功。

图源:阿里巴巴拍卖平台
而让外界好奇的是,姜俊平旗下的“巴龙系”,近年持有青岛农商行的股权频遭拍卖,背后究竟出了什么事?此外,“巴龙系”2022年从青农商行借来的近9亿元资金,已经逾期一年之久,对于资金链紧张的“巴龙系”而言,与青农商行的借款要靠什么偿还?
1、买家半年内3次竞拍,持股2家上市公司
银行作为吸纳资金的特殊金融机构,其股东股权的变动自然会受市场高度关注。
此次“巴龙系”拍卖涉及的股份,占巴龙集团所持青岛农商行全部股份比例为42.1%,占青岛农商行全部股份比例为0.99%。
这并非巴龙集团首次拍卖青岛农商行股份。
2023年5月24日,青岛农商行公告称,因债务问题,青岛市黄岛区人民法院公开拍卖了该行股东巴龙国际集团有限公司、巴龙国际建设集团有限公司所持该行的部分股份,涉及巴龙集团持有的6012万股股份,占青农商行总股本的1.08%;以及巴龙建设持有的1873万股股份,占青农商行总股本的0.34%。不过,当时的拍卖因为无人出价而流拍。
2023年12月16日,巴龙国际集团持有的青岛农商行3400万股无限售流通股被挂上京东司法拍卖平台,该笔股权经过237轮紧张竞拍,最终拍出了8719.1万元的价格。
此次股权拍卖成功后,后续还有缴款、股权变更等环节。
独角金融梳理发现,接盘方楷巨信息成立于2017年9月,主营业务为软件开发和信息技术服务,公司由两名自然人股东持股,实控人为郑志坚,持股比例70%,吴晓敏持股30%。2021年-2023年,公司参加缴纳社保人数仅有2人。

图源:天眼查
楷巨信息通过竞拍成为公司股东的事件,并不止这一起。
*ST榕泰披露的一份执行裁定书显示,兴业银行汕头分行就其与*ST榕泰、*ST榕泰旗下公司、揭阳市兴盛化工原料有限公司、揭阳泰禾房地产开发有限公司等借款纠纷案,向法院申请拍卖兴盛化工持有的*ST榕泰1667万股无限售流通股票,2023年12月19日,楷巨信息以5895.58万元的出价竞得该笔股权。
同时,该股东又因与工商银行揭阳分行存在借款纠纷,以839.8万元竞得231.42万股股权。股权转让完成后,楷巨信息总计持有*ST榕泰2.7%的股份。

*ST榕泰业务以IDC业务(互联网数据中心)的轻资产运营模式为主。而在发展过程中,公司连续两年年报虚增利润、连续三年业绩亏损(2023年转亏为盈利)、董事长还曾被采取3年证券市场禁入措施等诸多问题爆发后,2023年12月25日,*ST榕泰重整计划获得揭阳市中级人民法院批准。
2、青岛前首富从“买买买”到“断舍离”
“巴龙系”掌门人姜俊平,曾是青岛前首富。1991年,姜俊平创立专注高端商务服饰及职业装的巴龙国际服饰集团。1997年,巴龙建设集团成立,进入房地产开发、房屋建筑、市政等领域。
2009年,姜俊平以31.7亿元的资产,登上福布斯中国富豪榜;彼时,根据公开信息,巴龙集团以大股东身份投资青岛、济南、烟台、潍坊、长岛5家农商行,拥有6000亿金融资产;2013年,在“新财富500位富人榜”出炉,青岛共有3个家族选入这一榜单中。其中,姜俊平以52亿元的财富排在第232位,进入到青岛地区首富榜单中。
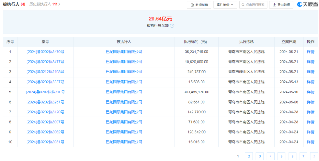
2022年下半年,“巴龙系”流动性风险逐渐暴露。天眼查APP显示,仅巴龙集团一家公司,被执行总金额就高达29.64亿元,姜俊平还多次被法院下达限制消费令,所持青岛农商行、巴龙建设、巴龙服饰、巴龙地产等股权显示为出质状态。

图源:天眼查
2023年3月16日,巴龙集团于公众号“央联万贸”发布一则声明显示,其总资产约为73亿元,其中房产、持有的金融机构股权价值分别约32.8亿元、40.2亿元,金融机构贷款49亿元,负债率约67%。
在上述的声明中,巴龙集团曾明确表示,公司“资产优良、保值增值空间较大,资产远大于负债,不具备破产重整的条件。我们一定信守承诺,全力以赴,尽快分期偿还所有债权人的款项。”
对于造成公司资金紧张的原因,巴龙集团表示,2017年,青岛港巴龙生活消费品集散中心项目启动,为了确保这个民生工程早日建成,巴龙集团在租赁的土地上先行开工建设,并且将全部自由资金投入项目建设。
巴龙集团进一步指出,由于多种原因,在长达5年多的时间里,一直没有解决土地这一“瓶颈”问题,造成建筑物和土地长期分离,项目无法正常融资,导致公司资金长期紧张,无力偿还项目工程款和短期拆借的民间借款。
除了被限制消费,巴龙集团还遭遇员工讨薪。2023年1月8日,巴龙集团曾发布《关于集团积极筹措员工薪资的说明函》,对近期未能及时发放薪资向员工们道歉。
此外,2023年8月,上海票据交易所发布《截至2023年7月31日持续逾期名单》,2023年7月1日开始,巴龙集团持续逾期,累计逾期发生额为704万元,逾期余额为60万元。当月,巴龙国际服饰集团开始持续逾期,累计逾期发生额约为8126.56万元。
资金链危机没有解除,“巴龙系”旗下银行股权频被拍卖。
值得注意的是,作为青岛农商行昔日第三大股东,“巴龙系”两家公司在青岛农商行合计高达9.17亿元的借款逾期未还。其中巴龙国际建设集团涉及3.68亿元、巴龙集团借款5.5亿元未还。青农商行向法院申请强制执行,要求“巴龙系”偿还本金及逾期利息、罚息、复利等,并已对上述贷款计提了相应贷款损失准备。
对于青农商行发布的相关诉讼公告,IPG中国首席经济学家柏文喜曾认为,这是上市公司涉及重大事件与重大事项必须的信披责任,也是就自身运行状况、可能的风险向公众投资者的必要通报,是上市公司管理层勤勉尽责的职责所在,至于对青农的具体影响还要看诉讼结果如何。
“巴龙系”在青岛农商行的逾期借款,会通过何种方式偿还?对此,青岛农商行称,“巴龙系”借款前有抵押物,但处置资产需要一定的时间。

图源:年报
截至2023年末,仅巴龙集团还持有青岛农商行1.65亿股股份,且均处于质押、标记或冻结状态。
3、青岛农商行资产质量提升
青岛农商行成立于2012年6月,是在原青岛华丰、城阳、黄岛、即墨农村合作银行和胶州、胶南、平度、莱西农村信用社联合社以及青岛市联社基础上,以新设合并方式组建而来。2019年3月在深交所上市,成为全国最年轻的A股上市行。
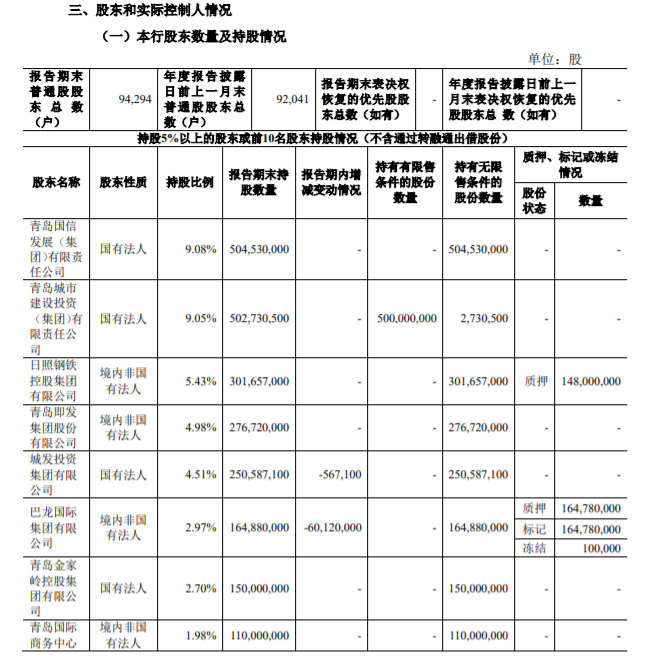
据2023年报信息显示,青岛国信发展(集团)有限责任公司持股9.08%,青岛城市建设投资(集团)有限责任公司持股9.05%,分别为第一、二大股东,巴龙集团以2.97%的持股比例,位列该行第七大股东。在此之前,巴龙集团和巴龙国际曾合计持股7.16%,位列该行第三大股东。

来源:青农商行财报
从业绩表现看,该行2023年实现营业收入103.25亿元,同比增长3.84%;归属于母公司股东的净利润为25.68亿元,同比增长10.82%。
具体看青岛农商行2023年的营收组成,该行利息净收入为营业收入的主要来源,占总营收的比例为71.2%,利息净收入为73.56亿元,较上年减少4.83亿元,降幅为6.17%。
对此,青岛农商行表示,主要原因是由于让利实体经济、市场利率下行、贷款重定价效应、存量房贷利率下调等因素,生息资产平均收益率较上年下降0.29个百分点。
截至2023年末,青岛农商行的资产规模达到4679.37亿元,增长7.62%。进入到2024年一季度末,青岛农商行资产规模为4738.58亿元,较年初增加59.21亿元,增长1.27%。
2023年,青岛农商行发放贷款和垫款总计为2558.45亿元,四个季度分别增长48.9亿元、66.52亿元、13.75亿元和27.44亿元。截至一季度末,该行发放贷款和垫款总额为2597.8亿元,同比下降近20个百分点,不过较2023年底增加39.35亿元。
此外,青岛农商行去年信用减值损失46.62亿元,同比减少0.38亿元。在年报中青农商行表示,发放贷款和垫款信用减值损失是信用减值损失最大组成部分。2023年,青岛农商行计提的发放贷款和垫款信用减值损失为45.13亿元,较上年同期减少0.85亿元。
资产质量方面,不良贷款余额与不良贷款率双降。报告期末,青岛农商行不良贷款余额为46.42亿元,较上年末下降6.18亿元,降幅11.75%,不良贷款率为1.81%,较上年末下降0.38个百分点;拨备覆盖率237.96%,较上年末提高30.33个百分点。一季度末,该行不良贷款率1.8%,较上年末下降0.01个百分点;拨备覆盖率233.17%,较上年末下降4.79个百分点。
青岛农商行时隔一年,重启分红。年报显示,青岛农商行2023年的利润分配预案为计划向普通股股东每10股派发现金红利1元(含税),以该行目前总股本推算,将现金分红5.56亿元,此分红金额位于当前已披露利润分配预案的A股上市银行的中下游。
作为全国最年轻的股份行,未来青岛农商行将走向何方?我们拭目以待。你看好青岛农商行吗?评论区留言讨论吧。


评论