文|趣解商业 张凯旌
曾经雪糕市场中的“网红”,“躺”在热搜上的品牌——钟薛高,如今已经面目全非。
5月28日晚,钟薛高创始人林盛准时现身直播间,在此之前,其要开直播卖红薯的消息已经广为流传。
“趣解商业”注意到,目前林盛在淘宝直播中的账号名为“钟薛高老林”,粉丝755个,签名为“好好做产品,好好还债,好好在一起”。

图源:淘宝截图
林盛出现10分钟后,该直播间的观看人数虽然已接近8万,但距离当前淘宝头部主播还有明显差距;同时期李佳琦直播间观看已达345.6万,烈儿宝贝为284.7万。
曾将雪糕卖到66元一支的钟薛高,能把红薯卖出什么新花样?“雪糕刺客”的场景,会在红薯身上复现吗?
01.被限高的林盛,卖红薯还债
外界最初将林盛与红薯联系在一起,还要追溯到今年4月21日新浪财经CEO邓庆旭发的一条微博。
邓庆旭晒出自己与林盛的合影,称林盛被限高后,坐一晚上绿皮火车到了北京。“吃饭的时候和我说,就是卖红薯也要把债还上。”

图源:微博截图
而直播一开始,林盛也是开门见山。其直言最近一年钟薛高遭遇了经营困难的情况,很多员工的薪水、补偿金、报销没有及时兑付,直播带货是为了把公司恢复到正常运营状态,并且努力赚钱还给大家。
直播背景中,“729”数字格外醒目。林盛表示,这是公司欠钱的所有员工人数,未来希望能尽快降到0。

图源:淘宝截图
值得一提的是,林盛在直播间坦言,自己当时说“卖红薯还债”的时候喝了点酒,没有想到红薯并不是现在这个季节常见的产品,因为这个事自己还被员工吐槽了。
也因此,红薯只是钟薛高直播间诸多上架产品里的一种,而且售卖的是其他品牌的红薯。除此之外,直播间商品还包括五芳斋粽子、洽洽香瓜子、炫迈口香糖等等。
此前,邓庆旭的微博评论区中尽管也有“向企业家致敬”“人在,路在”这样鼓励的声音,但也不乏许多质疑:“钟薛高,非常成功的割韭菜手法”“好多老赖都会说,钱肯定会还的,但是问什么时候,就说有钱的时候”“红薯刺客要来了”……

图源:微博截图
对此,林盛表示:“我们怕被骂,所以今天带来的红薯价格适中,我们希望找到性价比更好、品质更好的红薯带给大家。”
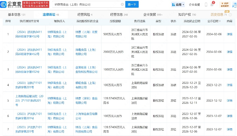
最近钟薛高确实遇到了一些困难。3月11日,上海市嘉定区人民法院对钟薛高和林盛发出限消令;工商资料显示,疑似申请执行人为陈某某等6名自然人,执行标的81.81万元。除此之外,4月钟薛高又新增一起被执行案件,执行标的901.32万元。

图源:企查查截图
目前,钟薛高旗下还有包括钟嘉商贸、殊趣食品、盘箸有喜等多家子公司股权被冻结,累计股权冻结数额近4000万元。
02.钟薛高跌下“神坛”
曾经红极一时的钟薛高,从顶峰滑落的过程令人唏嘘。
2018年,林盛创立钟薛高,当年就斩获经纬创投、真格基金、天图投资等知名投资机构参与的两轮融资,并以66元一支的“厄瓜多尔粉钻”雪糕火速出圈。当年“双十一”当天,“厄瓜多尔粉钻”雪糕在天猫上15小时售出了20000片,钟薛高“一战成名”。
林盛是广告人出身,曾服务过冠生园、大白兔、味全等产品,操盘过中街1946、马迭尔等雪糕品牌,因此其深谙营销之道。
消费者需要一个理由购买高价雪糕,钟薛高就为厄瓜多尔粉钻包装出了“物以稀为贵”的故事,称这款雪糕用的半野生柠檬柚,20年才结一次果;取代色素的天然粉可可,全国只能找到3吨;还有秸秆制作的环保棒签。
消费者需要“潮流”属性,钟薛高就不断与娃哈哈、泸州老窖、盒马、小米等各大品牌联名,还将产品送进罗永浩、薇娅、李佳琦等头部主播的直播间,并通过限量售卖营造稀缺性。
再加上彼时新消费领域还流传着“20000篇小红书、8000条抖音、150个知乎问答”打造爆款的流量公式;钟薛高“不遗余力”地投入,在销售端获得了可观的回报。

图片来源:小红书
创立16个月,钟薛高销售额破亿;整个2021年,钟薛高卖出1.52亿根雪糕,销售额破10亿;不少网友将其奉为“雪糕界的爱马仕”。
树大招风,成名后的钟薛高很快成为外界关注的焦点,无论是创始人说过的话,还是品牌经历过的处罚,都被拿到放大镜下观察。这时,人们发现这家网红品牌似乎有些经不起推敲。
先是林盛在一档访谈节目中谈及钟薛高产品时,称“最贵一支66元,产品成本差不多40块钱,它就那个价格,你爱要不要”;随后钟薛高被曝出曾在2019年时先后两次因为“虚假宣传”被市场监管部门行政处罚,一次是宣称轻牛乳冰激凌产品“不加一滴水”,实际含有饮用水成分,一次是因为宣传红提雪糕产品使用吐鲁番“特级红提”,实际为“散装/一级”。引发网友们对“钟薛高是智商税还是物有所值”的讨论。

图片来源:微博截图
值得一提的是,近日林盛做客自媒体栏目“吴晓波频道”时,称“爱要不要”是恶意剪辑,“把你的A问题和B答案剪到了一起”。
如果说这两起风波只是小插曲,那么2022年小红书上一组“钟薛高在高温下50分钟不化”的猎奇测评,则彻底让钟薛高遭遇“滑铁卢”。

图片来源:微博截图
尽管钟薛高给出了“适量添加卡拉胶符合国家食品安全标准”的回应,但此次事件留给消费者的阴影很难逆转。
之后钟薛高就从“雪糕之神”沦为“雪糕刺客”,销量大降的同时,团队也从巅峰时期2000多人急剧收缩至100人左右,随之而来的还有“欠薪”、“降价”等一系列风波。
2024年,有网友们发现,如今在网上,仅需2块5,就能买到一支临期的钟薛高。
03.能否复刻“真还传”?
有网友称林盛直播是效仿罗永浩直播还清欠款的“真还传”,对此,林盛回应称:“还债是应该的,无论是用直播还是卖货,欠债还钱不丢人”。
但是,林盛如今能靠直播卖红薯复刻罗永浩的“真还传”吗?仅从公开信息来看,林盛与当初罗永浩欠下的6亿元“天价债务”并不在一个数量级,但这也不意味着林盛的操作难度就更低。
毕竟罗永浩自诩“中国初代网红”,早在新东方当教师时就曾有学生记下“老罗语录”并在互联网广泛流传;“真还传”期间还频繁登上《脱口秀大会》,其个人IP的影响力更高。在此基础上,罗永浩还赶上了抖音发力直播电商的红利,并且有锤子团队旧将的帮衬。
直播间的商品类目上,罗永浩从3C扩展到全品类,其中3C类商品与罗永浩前期积累下来的“直男”粉丝画像十分贴合,同时该类目还是彼时淘宝直播的弱环。

图片来源:微博截图
而如今,直播电商已是一片红海,林盛个人的IP又缺乏足够高的人气,想要借此翻盘或是开辟公司收入的第二曲线,难度可想而知。
中国食品产业分析师朱丹蓬认为,钟薛高此前的下滑与价格虚高有关,其价格与价值不对等。“目前中国消费者要的是有性价比的产品。整体去看的话,它的没落跟整体经营的思路、定位,以及它的一些言论有很大的关系。
在朱丹蓬看来,现在的钟薛高想东山再起,已经没有太多机会。如果产品走低端,容易丧失原有高端产品的粉丝,被消费者认为是交了智商税;而且未必做得过诸如东北大板等一些区域品牌。没有品牌、规模效应,与主流的梦龙、蒙牛、伊利也难以竞争。
零售电商行业专家庄帅则认为,在直播这块,钟薛高如果有更多预算,能持续去做推广、传播,选品也还好的话,或许还有一些机会;如果投入不够,风评、选品、性价比跟不上,可能就比较难了。
在庄帅看来,钟薛高销售情况的急转弯有本身产品定价的问题,也有渠道的问题。在线下渠道,跟钟薛高价格相近的哈根达斯是去开专卖店的,哪怕放在便利店里,都会有个单独的冰柜,但钟薛高却跟其他雪糕混在一起卖;这种渠道铺货的专业度较差,跟它的品牌定位有很大矛盾。此外,出现公关危机之后,钟薛高也没有运用召回商品、给消费者补贴、发放优惠券,亦或是推出新产品,调整渠道策略等方式去处理,导致错过了很好的时机。三者叠加才出现今天的情况。
庄帅还表示,钟薛高想重新崛起是很有压力的。一方面雪糕赛道本身竞争激烈,且差异化程度不大,消费者对品牌的认知已经有些固化;另一方面现在公司也很难得到注资,财务上没有支持,难以化解目前的资金状况。
当“网红效应”失灵,钟薛高还剩下什么?这或许是未来很长一段时间内,林盛需要考虑的问题。


评论