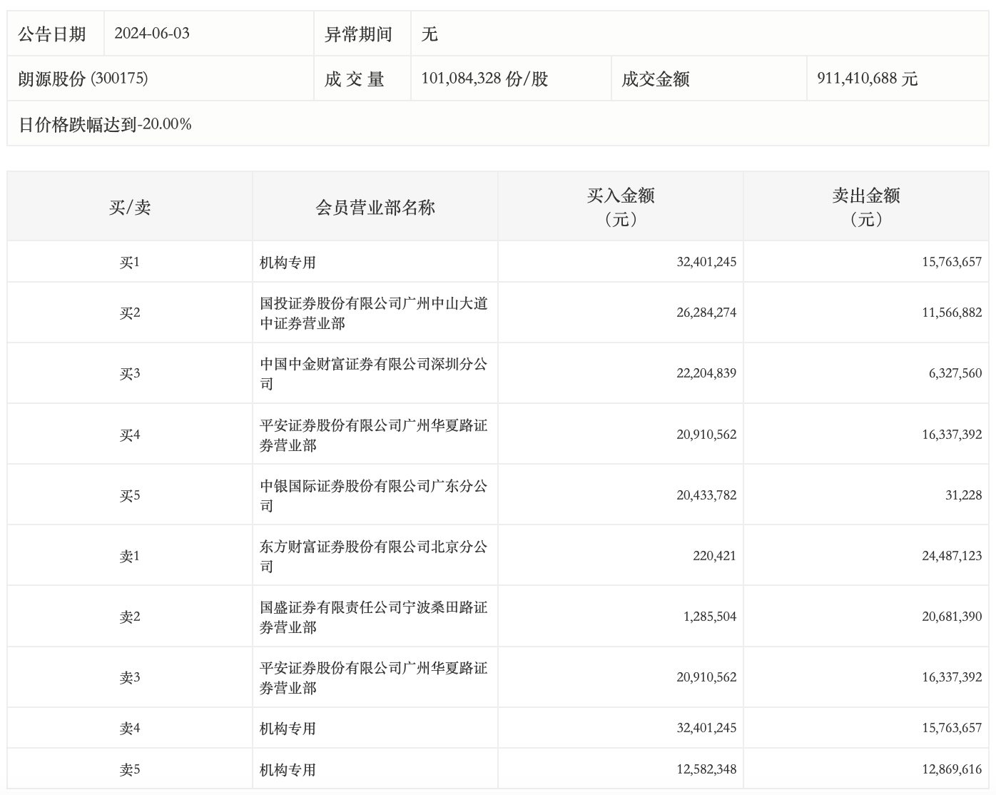
朗源股份今日跌停,龙虎榜数据显示,上榜营业部席位全天成交2.44亿元,占当日总成交金额比例为26.81%。其中,买入金额为1.36亿元,卖出金额为1.08亿元,合计净买入2825.81万元。
具体来看,机构买入4498.36万元,卖出2863.33万元,合计净买入1635.03万元。此外,知名游资现身龙虎榜,东方财富证券北京分公司、宁波桑田路(国盛证券宁波桑田路证券营业部)分别卖出2448.71万元、2068.14万元;国投证券广州中山大道中证券营业部、中国中金财富证券有限公司深圳分公司分别买入2628.43万元、2220.48万元。

评论