首页
科技
金融
证券
地产
汽车
健康
地方
硬科技
文旅
数据
ESG
双碳
电厂
商业
科技
地产
汽车
消费
工业
时尚
交通
医药
互联网
创投
能源
数码
教育
食品
新能源
家电
健康
酒业
物流
零售
美妆
体育
楼市
家居
餐饮
日用
企服
珠宝
腕表
智库
电厂
农业
出海
财经
金融
投资
证券
IPO
宏观
股市
财富
有连云
新闻
天下
中国
地方
评论
数据
职场
国是
文娱
影像
营销
大湾区
ESG
双碳
长三角
中西部
文化生活
文化
文旅
生活方式
美食美酒
艺术
游戏
正午
箭厂
VIP
投资早晚报
宏观晚6点
打新早报
盘前机会前瞻
盘中必读
风口价值
调研早知道
研报新知
快报
今日热点
公司头条
股市前沿
监管通报
财经速览
时事追踪
界面号
财经号
城市号
媒体号
视频
界面Vnews
直播
箭厂
品牌创酷
番茄社
商业微史记
胡说财经
专题
新闻专题
活动专题
Global
登录
消息
我的面点
我的关注
我的文章
投稿
报料
账号设置
退出账号
旧版搜索
新版搜索
旧版搜索
历史搜索
全部删除
热门搜索
股市快讯
供销大集
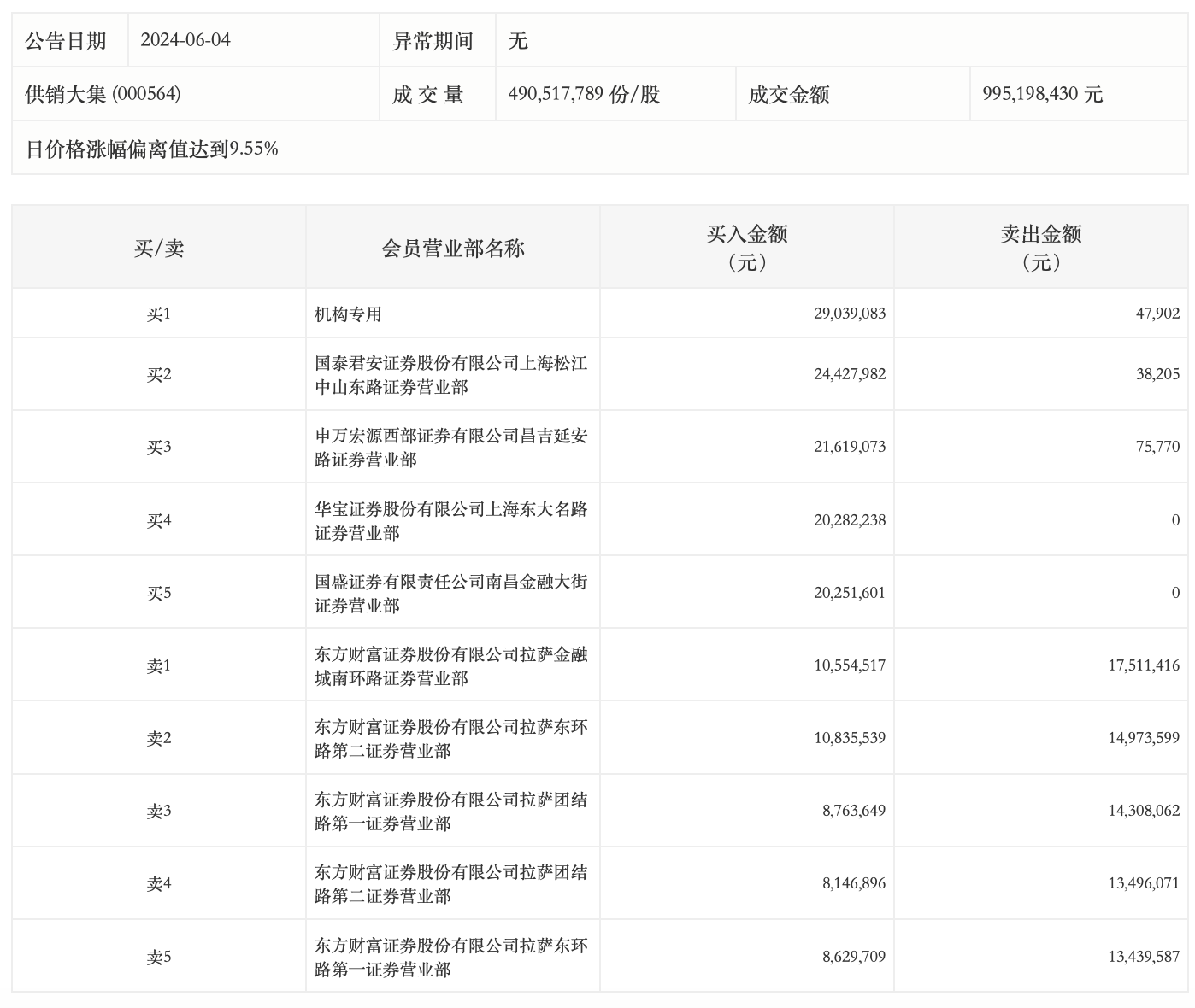
龙虎榜丨供销大集今日涨停,卖方前五均为“散户大本营”席位
界面快报
·
来源:界面新闻
6月4日,供销大集今日涨停,成交额9.95亿元,换手率3.23%,盘后龙虎榜数据显示,一机构专用席位净买入2899.12万元,卖方前五均为“散户大本营”席位。
未经正式授权严禁转载本文,侵权必究。
供销大集
供销大集(000564.SZ):2025年三季报净利润为7235.53万元、同比较去年同期下降37.74%
5个月前
午间涨跌停股分析:56只涨停股、5只跌停股,跨境电商概念活跃,供销大集、飞马国际等涨停
6个月前
点赞
收藏
看评论
分享至
微博分享
微信分享
QQzone
评论
暂无评论哦,快来评价一下吧!
热门排行
April 03
豆包Token日均消耗量两年翻1000倍,火山引擎千亿营收目标再提速
特朗普:美国对伊朗战事的核心战略目标“接近完成”
近12小时大宕机后仅隔一天,DeepSeek再崩一小时后恢复
以色列海法炼油厂遭袭起火
东方甄选线下首店4月开业,自营产品约占三分之一
敏昂莱在缅甸联邦议会选举中赢得过半选票,将当选总统
伊朗称击落第二架美军F-35战机
涉嫌走私贩卖毒品,美方向中方遣返移交一名中国籍涉毒逃犯
全球最复杂大桥被炸致百余伤亡,美以袭击民用设施逼迫伊朗达成协议
中美禁毒执法合作新成果,美方向中方遣返移交一名涉毒逃犯
评论