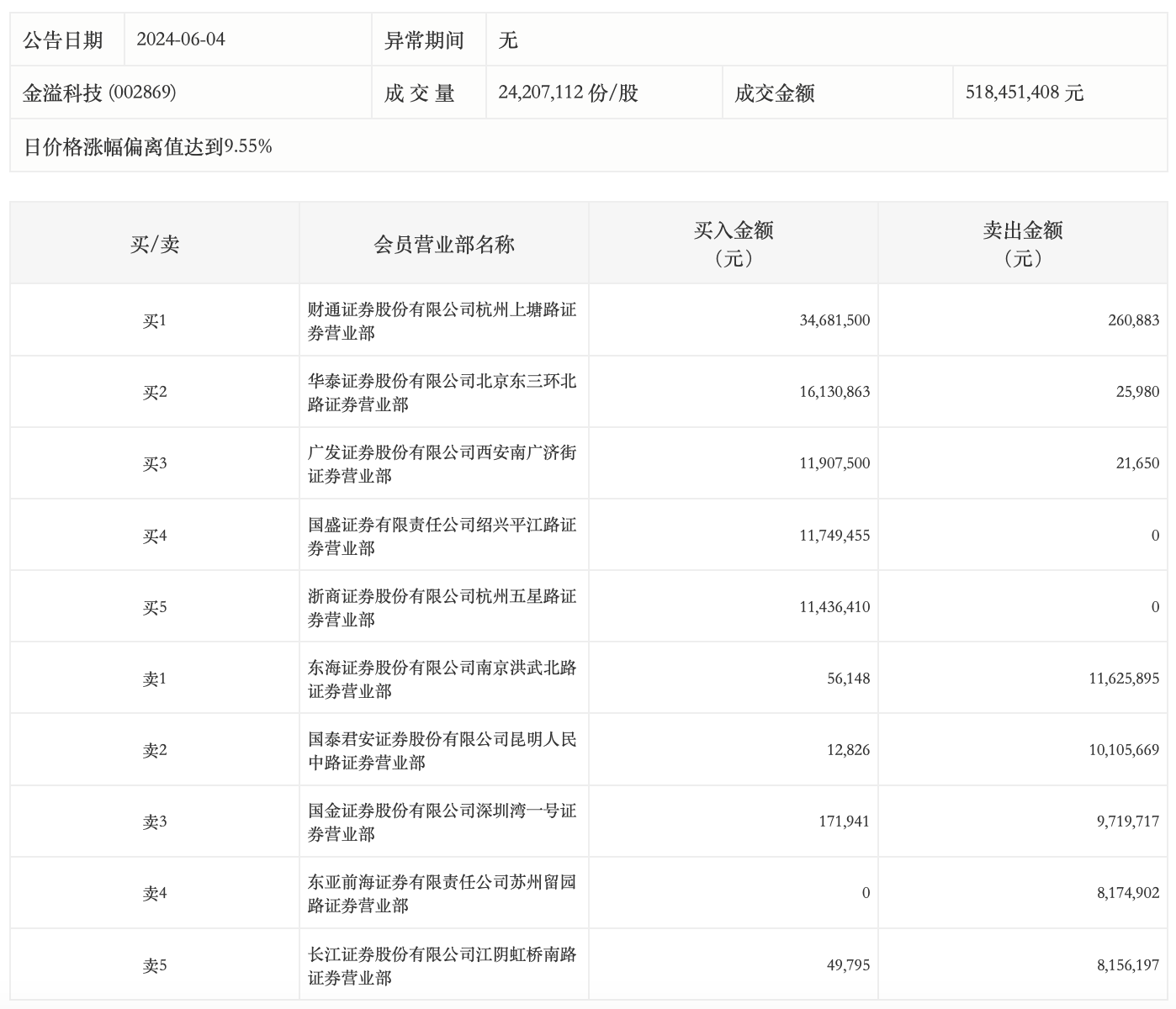
6月4日,金溢科技今日涨停,龙虎榜数据显示,上榜营业部席位全天成交1.34亿元,占当日总成交金额比例为25.9%。其中,买入金额为8619.64万元,卖出金额为4809.09万元,合计净买入3810.55万元。
具体来看,知名游资现身龙虎榜,方新侠(广发证券股份有限公司西安南广济街证券营业部)净买入1188.59万元。此外,财通证券杭州上塘路证券营业部、华泰证券北京东三环北路证券营业部分别买入3468.15万元、1613.09万元;东海证券南京洪武北路证券营业部、国泰君安证券昆明人民中路证券营业部分别卖出1162.59万元、1010.57万元。

评论