文|野马财经 张凯旌
编辑|高岩
私募起家、年少成名的“丰利系”美女创始人毛凤丽,却因为入主上市公司迎来了人生的转折点。如今,44岁的毛凤丽不仅被终身禁入证券市场,还可能即将迎来牢狱之灾。
5月28日,新动力(300152.SZ)公告了实控人毛凤丽因涉嫌违规披露、不披露重要信息罪被刑拘的消息。与其一同被刑拘的还有涉嫌提供虚假证明文件罪的新动力财务总监王子龙。
毛凤丽在资本市场上的成名一战,便是2016年用6000万拿下54亿科融环境(新动力前身)实控权,然而此后毛凤丽却屡次触碰违规红线,上市公司也每况愈下。如今新动力控股股东、毛凤丽实控的徐州丰利已经宣告破产,手中的新动力股权也在被陆续拍卖。上市公司随时存在易主的可能。
5月29日-5月31日,新动力股价累计下跌13.68%,目前股价1.83元/股,距离历史最高点(前复权)跌超87%,总市值仅剩13亿元。
毛凤丽被刑拘,涉及旧案?
目前被刑拘的两人中,毛凤丽并不在上市公司任职,王子龙则是2023年8月刚刚成为新动力财务总监兼副总经理,此前在上市公司没有任职记录。
不过,王子龙与新动力其实结缘已久。其曾任亚太会计师事务所首席合伙人。企查查显示,王子龙在亚太会计所的认缴出资日期为2013年,直到2021年才退出。而新动力自2018年就开始聘请亚太会计所为年度审计机构,不再续聘的时间点恰好也是2021年

来源:企查查
值得注意的是,新动力曾于2019年被证监会要求整改,理由是2017年虚增归母净利润6867万元。但如此一来,财报调整后新动力2016年-2018年就将连续三年亏损,将被暂停上市。于是新动力申诉对年报重新调整,改为虚增归母净利润2713.9万元。
在此基础上,2020年新动力又一次收到证监会《行政处罚决定书》,因在2017年虚增利润717.88万元,上市公司和毛凤丽等人分别被给予警告、罚款。
新动力的归母净利润,经过两次调减后,从4183.89万元降至349.25万元。而不再续聘亚太会计所,正是与此事有关。
亚太会计所曾对新动力2017年财报出具“非标”审计意见,而在监管下达处罚后,新动力需要对2017年年报中的部分财务数据进行修正,且需要第三方专业会计师事务所出具差错更正的鉴证报告,但亚太会计师事务所却由于内部决策原因,无法出具该鉴证报告,这才换了新会计所。
而这一背景,也为两人被刑拘的原因,提供了参考。
北京时择律师事务所臧小丽律师分析指出,违规披露、不披露重要信息罪比较常见的情形是,上市公司财务造假,司法机关对财务造假直接负责的主管人员和其他直接责任人员进行追究。该罪名的量刑标准是:处五年以下有期徒刑或者拘役,并处或者单处罚金;情节特别严重的,处五年以上十年以下有期徒刑,并处罚金。
在臧小丽看来,在已经查实2017年新动力年报存在虚假记载,并且公司还受到证监会行政处罚的情况下,本次毛凤丽被追究刑事责任,可能还是与2020年处罚事项有关,最终要以司法机关的文书认定为准。
另有不愿具名的法律界人士表示,同一违法行为是有可能同时承担民事赔偿、行政处罚、刑事责任的,因此追溯此前的案件也合乎情理。至于时间线拉的如此之长,一方面可能与“违规披露、不披露重要信息罪”的办案流程有关,其一般是由证监会移送公安,不会公安直接办;另一方面今年打击财务造假、加大证券违法案件移送公安的力度加大,也可能对本案起到了推波助澜的作用。
混迹金融12年,借“牛市”走到台前
2017年的财务造假只是毛凤丽所有违规记录中的冰山一角。而这一切,都要从毛凤丽入主上市公司说起。
毛凤丽有着亮眼的履历。其本科毕业于郑州大学,毕业一年后就成为了银河证券郑州陇海路营业部营销经理。25岁时,毛凤丽创立河南银河投资管理有限公司,并担任董事长;28岁时,毛凤丽走出河南,创立“丰利系”,其中核心公司东方丰利(后更名为“丰利财富”),就坐落于北京金融街。
金融街诞生之初,就被定位为国家级金融管理中心,是北京金融机构总部的聚集之地。如此年轻就在金融街创业,足以见得毛凤丽的野心和魄力。
事后来看,毛凤丽整个职业生涯都扎根金融圈。在她的带领下,“丰利系”主业逐渐从证券研究、投资顾问、管理咨询,以及金融相关软件、网站等的开发,拓展到了私募、资管等领域。

来源:中国并购工会官网
在很长一段时间里,“丰利系”颇为神秘,鲜少见诸公开报道,外界很难窥见这家PE机构的真貌。直至2015年,毛凤丽开始走到台前。
2015年1月,《证券日报》的一篇报道中,将毛凤丽描述为“80后私募基金掌门人”,其除丰利财富董事长的身份外,还是中国并购公会理事、北京金融街商会特邀会员、京城俱乐部投资决策委员会委员、中国证券业投资基金业协会会员、京城五大俱乐部高尔夫球会委员。而丰利财富的资管规模则达40亿元,截止2014年底,其专户产品为投资人创造的收益大都在77.7%-156%的区间。
2015年7月,丰利财富旗下在管产品合计规模更是达到约50亿元,在当时1.3万多家私募公司中,可以排到100位至200位之间。公司甚至放出准备上市的信号,预计年底前完成挂牌。
公开资料显示,丰利财富2014年5月登记成为私募投资基金管理人,两个月后,上证指数自底部2000点启动,于2015年6月飙涨至超5000点。在牛市的助推下,丰利财富实现了“出道即巅峰”。

来源:中国证券投资基金业协会官网
亮眼的收益率,可能让许多股民暂时忽略了丰利财富只是行业“菜鸟”的事实。
有丰利财富股东在接受《中国证券报》采访时称,“我们是一家非常不起眼的私募机构,不但资金短缺,人员也非常匮乏。当时,整个公司加上一个司机、一个行政刚好凑足10个人。”
很快,丰利财富资金实力和风控的不足就在股灾中显露。2015年9月,丰利财富发行的长安丰利24号私募因跌破止损线被停止交易。紧接着,公司欲挂牌新三板,引进40多名股东后遇阻,引发回购风险;产品也陆续到期,管理规模迅速缩水,新产品迟迟发不出来。
为了承接公司发展,也为了给股东们一个交代,毛凤丽提出控股一家A股上市公司。至于拿到上市公司的控制权后怎么办,上述股东表示,“我们当时都没有想过。”
毛凤丽“蛇吞象”:一个愿打一个愿挨
“小燕子”赵薇曾尝试自掏6000万融资30亿收购万家文化,杠杆之高令人咋舌。但从时间上来看,毛凤丽进行类似的操作,还是在赵薇之前。
而被毛凤丽选中的标的则是科融环境。一方面,是丰利财富的股东姚东曾担任过科融环境董秘,离职后依然与上市公司方面保持联系;另一方面,彼时科融环境业绩滞涨,控股股东杰能科技6位一致行动人都已六七十岁高龄,对于公司发展方向存在分歧,有卖壳散伙的打算。
双方一拍即合,而毛凤丽只掏出6300万元,就拿下了这家停牌前市值约54亿元的上市公司控制权。
丰利财富先是通过子公司天津丰利跟杭州私募浩中金宏借了7亿元,并约定借款条件之一为天津丰利向指定账户中汇入至少2亿元。然后为了凑足2亿元,毛凤丽又跟杰能科技借了1.37亿元。如此一来,毛凤丽只需要自己出6300万元,就能融到合计9亿元资金。

来源:和讯网报道
最终,天津丰利用8.5亿元买下杰能科技91.96%股权。而该笔收购的另一个精妙之处 是,杰能科技出借的1.37亿元,是刚刚通过大宗交易减持得来的,同时减持后,杰能科技在科融环境的持股恰好降至30%以下,避免触及要约收购红线。
但这出神奇的并购,只是闹剧的开始。
据《中国证券报》报道,毛凤丽与科融环境前任董事长贾红生谈的条件,是贾红生继续负责上市公司三年,丰利方面负责资本运作。
“丰利系”入主后,并未拿到公章,这成为了“内斗”的导火索。先是“丰利系”对科融环境原管理层进行“清洗”;而后原管理层反击,索要1.15亿元收购后“丰利系”欠下的激励款项,一度闹上法庭;而恰好在这时,原管理层又被举报涉嫌职务侵占。
2018年,贾红生因伙同总经理、财务总监等其他科融环境高层,虚开增值税发票私分公款350万元,被判有期徒刑四年。
2019年,证监会公布,天津丰利收购杰能科技股权一事,存在资金来源造假、虚假陈述等违规事实。天津丰利实际上是以9.24亿元,获得杰能科技100%股权;其在公告中声称收购资金不存在来源于上市公司关联方的情形,显然也是假的。
同时,2016年丰利财富通过伪造协议、挪用其他私募产品4240万元资金的方式补资的“骚操作”也东窗事发,毛凤丽被终身禁入市场。
一起“巧妙”的“蛇吞象”,演变为了一场双输的骗局。
罚单拿到手软,“80后”女富豪资本故事结束了吗?
虽然被监管连续处罚,但当初的收购早已成定局。可从实际情况来看,毛凤丽显然并没有做好执掌上市公司的准备。
2016年-2023年,新动力营收从7.72亿元降至2.03亿元,净利润仅有两年为正,累计亏损超25亿元。

来源:Wind数据
公司管理层风波不断。刚把贾红生等原管理层“请走”,“丰利系”自己又开始内斗,毛凤丽更是仅当了一年董事长就宣告辞职。
有意思的是,毛凤丽辞职前还搞了一出“忽悠式增持”。其先是宣布自己及董监高将在1年内增持上市公司,计划增持金额1亿元-10亿元;然后发倡议书鼓励员工买公司股票,并承诺持有1年以上并在职的员工,亏损部分由毛凤丽个人承担。但一切都随辞职化为泡影。
毛凤丽辞职后至今,新动力已经换了五任董事长,其中毛凤丽的兄长毛军亮前后两次走马上任,累计在职时间接近5年。
本身主业就问题缠身,上市公司还得为“丰利系”输血。2018年,新动力给徐州丰利支付的房租达701.94万元;2023年,新动力又被质疑搞“忽悠式重组”、利益输送,在自身账上仅剩不到2000万元、子公司银行贷款逾期的情况下,新动力拟以不超6亿元购买德威华泰60%股权,毛凤丽还突击入股了德威华泰。最终这笔重组被叫停。
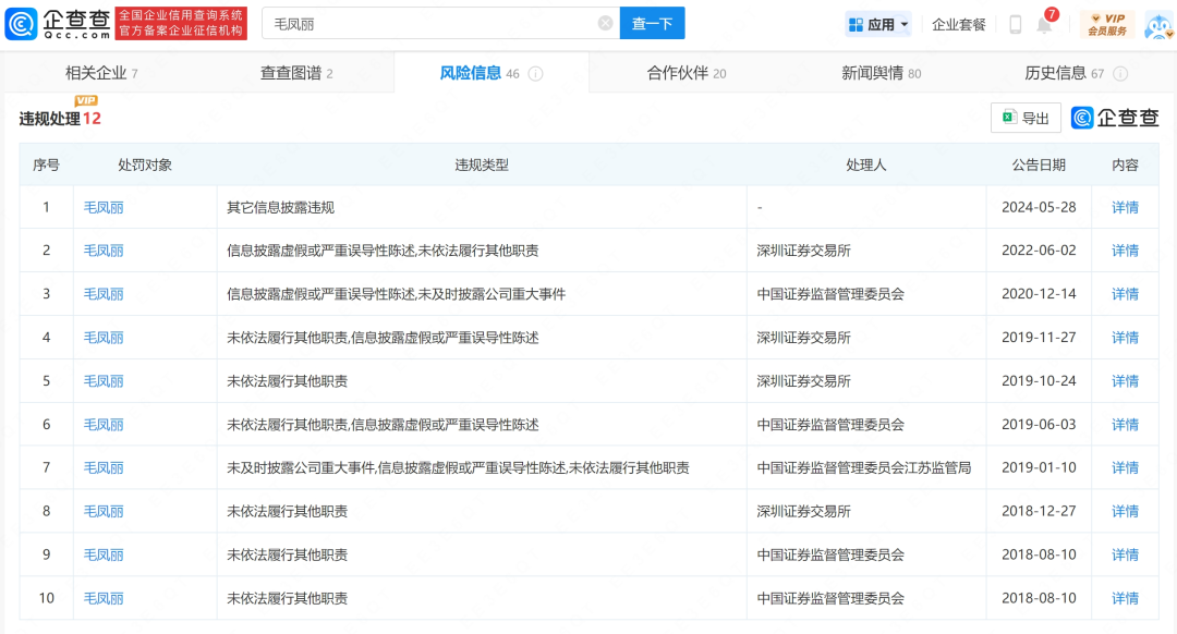
忙活了8年,新动力业绩持续下滑,“丰利系”的私募也宣告退场。毛凤丽如今身背3个限消令,失信被执行金额109.01万元,履历上还多了12个违规处理记录。徐州丰利在新动力的持股也全被冻结,质押比例超94%。

来源:企查查
目前,徐州丰利所持股份即将被第三次公开拍卖,如果全部拍卖成功,徐州丰利持股将降至8.38%,可能导致新动力控制权易主。
其实,新动力所处的环保行业原本是国家倡导的战略发展方向,公司拥有的338项国家发明专利,以及亚洲规模最大的燃烧实验室,也印证着其在行业内的积累。否则身为央企的中国电建(601669.SH)也不会至今还是新动力的最大客户。
但至少这个盘子,毛凤丽很难玩转。这位“80后”金融女老板的资本市场路,正在走向尽头。
你如何看待毛凤丽跌宕起伏的一生?评论区聊聊吧!


评论