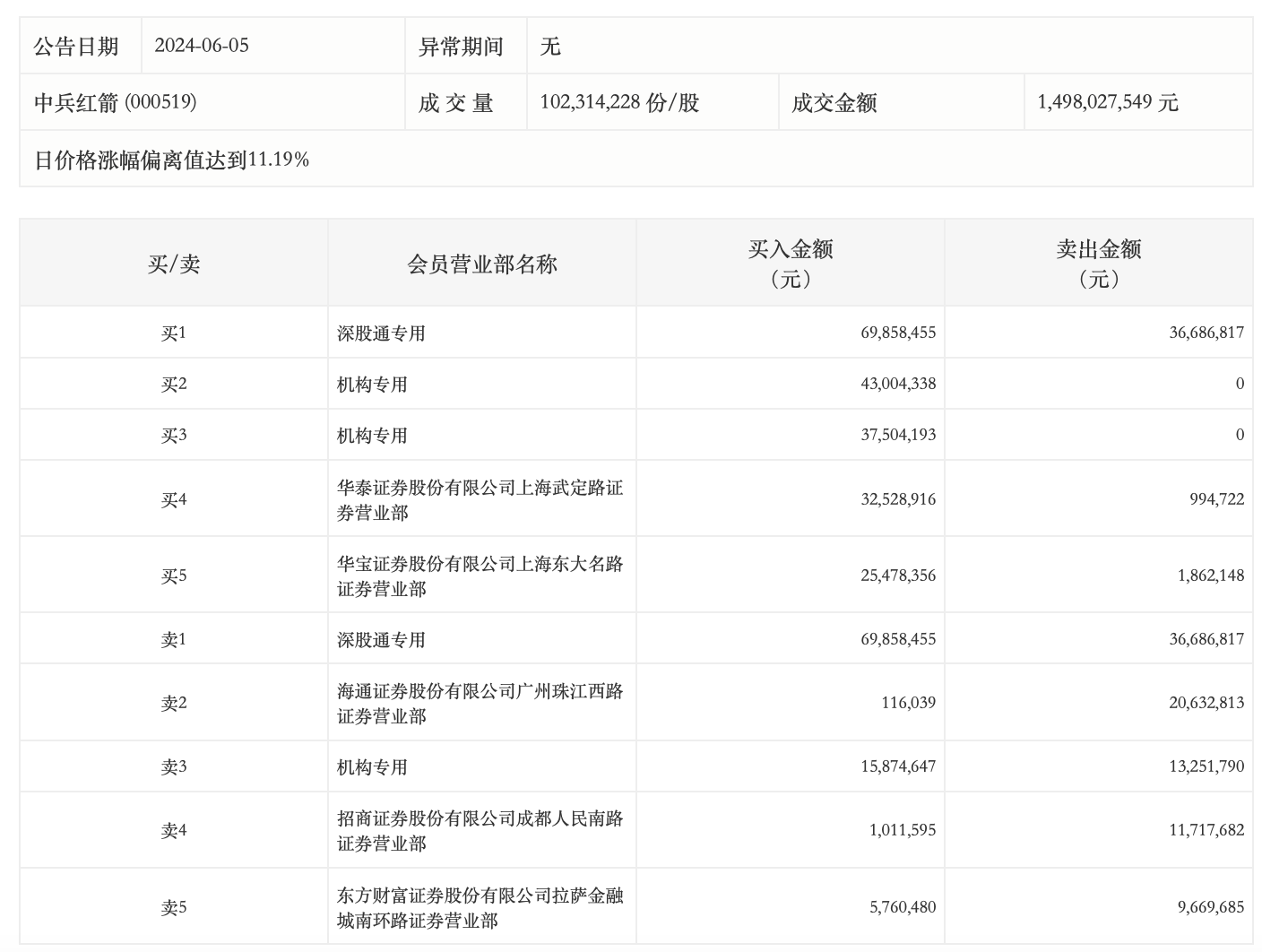
龙虎榜丨中兵红箭今日涨停,三机构净买入8313.14万元

6月5日,中兵红箭今日涨停,成交额14.98亿元,换手率7.35%,盘后龙虎榜数据显示,深股通专用席位买入6985.85万元并卖出3668.68万元,三机构专用席位净买入8313.14万元。

 

未经正式授权严禁转载本文,侵权必究。

中兵红箭

  • 中兵红箭(000519.SZ):2025年三季报净利润为-5881.97万元,同比亏损缩小
  • 中兵红箭:网传“公司的6英寸金刚石衬底片订单已突破3亿元”不属实

评论

暂无评论哦,快来评价一下吧!