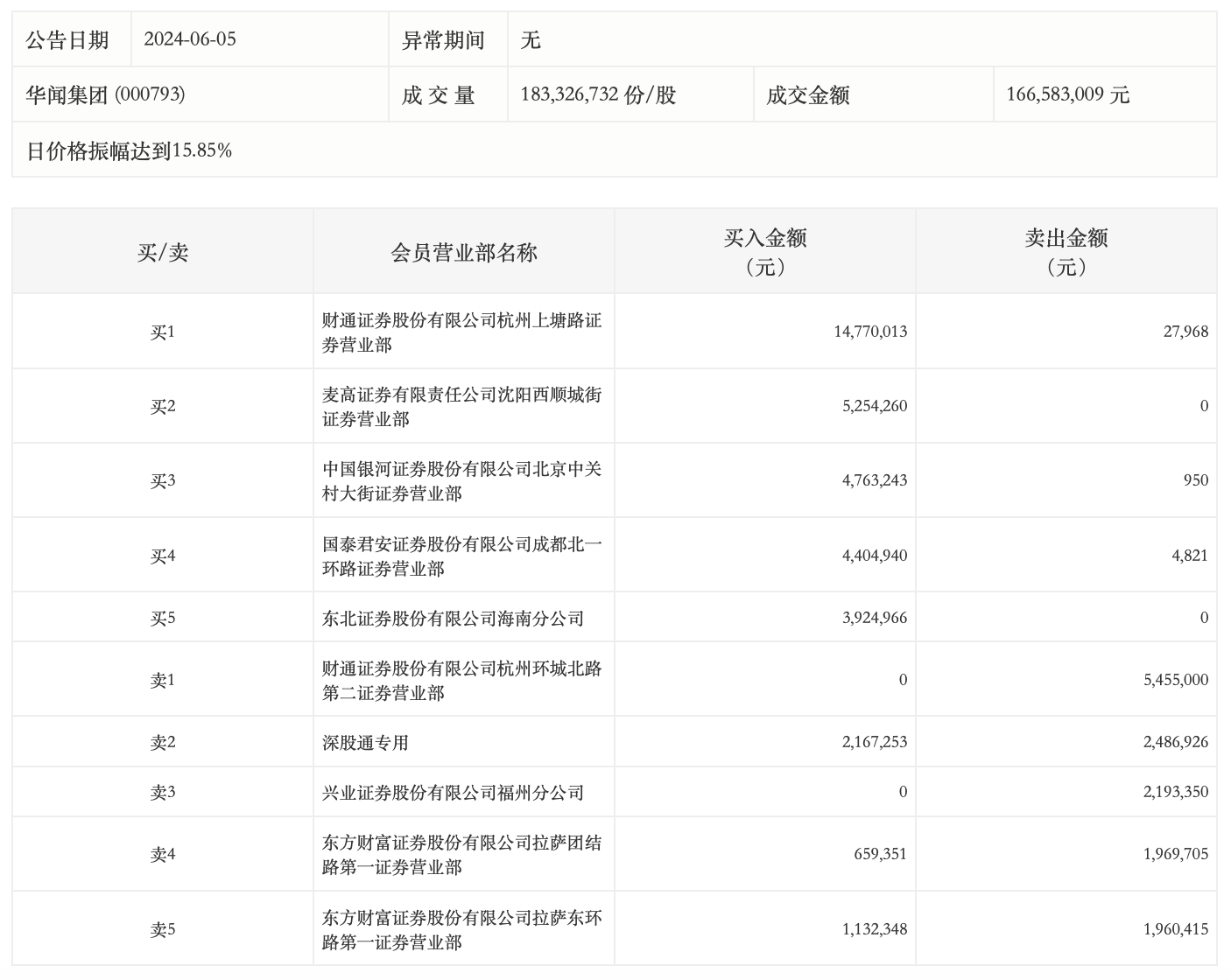
6月5日,华闻集团今日涨停,龙虎榜数据显示,上榜营业部席位全天成交5117.55万元,占当日总成交金额比例为30.72%。其中,买入金额为3707.64万元,卖出金额为1409.91万元,合计净买入2297.72万元。
具体来看,财通证券杭州上塘路证券营业部、麦高证券沈阳西顺城街证券营业部分别买入1477.00万元、525.43万元;财通证券杭州环城北路第二证券营业部、深股通专用分别卖出545.50万元、248.69万元。

来源:界面新闻
6月5日,华闻集团今日涨停,龙虎榜数据显示,上榜营业部席位全天成交5117.55万元,占当日总成交金额比例为30.72%。其中,买入金额为3707.64万元,卖出金额为1409.91万元,合计净买入2297.72万元。
具体来看,财通证券杭州上塘路证券营业部、麦高证券沈阳西顺城街证券营业部分别买入1477.00万元、525.43万元;财通证券杭州环城北路第二证券营业部、深股通专用分别卖出545.50万元、248.69万元。

评论