文|趣解商业
近日,何猷君担任董事长兼CEO的星竞威武集团递交了上市申请,计划在纳斯达克证券交易所上市交易。这意味着,若是星竞威武集团上市成功,其将成为“中国电竞第一股”。
1.“中国电竞第一股”即将诞生?
今年5月底,星竞威武集团获得了中国证监会境外发行上市备案通知书,备案通知书显示,星竞威武集团预计在美国纳斯达克证券交易所上市,拟发行不超过26902827股普通股。不到一个月,星竞威武集团就正式递交了上市申请。据悉,此次IPO的承销商包括德银、中金公司、老虎证券及广发证券。

图片来源:微博截图
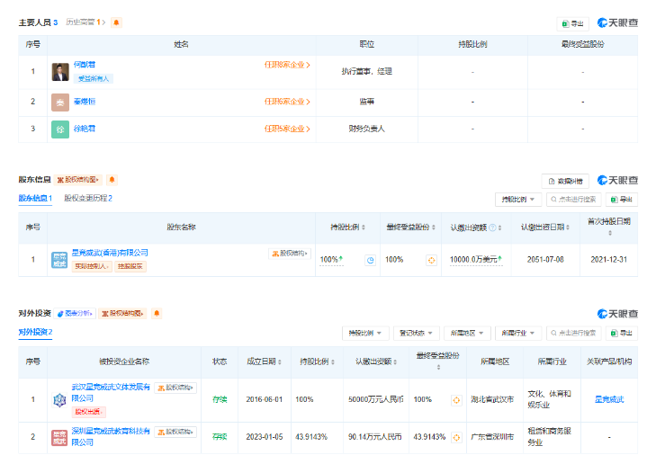
星竞威武集团最出名的,莫过于它的董事长兼CEO——“赌王”之子何猷君。天眼查显示,星竞威武是一家以电子竞技俱乐部业务为核心,电竞赛事、电竞MCN等多元化业务并行发展的综合性数字体育集团,所属武汉星竞威武文体发展有限公司,由武汉木叶村网络科技有限公司100%持股。而武汉木叶村网络科技有限公司是由何猷君担任法定代表人、执行董事、经理,并由星竞威武(香港)有限公司100%持股的公司。招股书显示,星竞威武集团通过武汉木叶村网络技术有限公司在中国开展业务。

图片来源:天眼查
值得一提的是,著名音乐唱作人王嘉尔也与星竞威武集团渊源颇深。2020年,何猷君宣布王嘉尔出任V5电竞俱乐部(NIP电子竞技俱乐部的前身)的合伙人。作为明星的王嘉尔与何猷君合作,毫无疑问可以给星竞威武集团带来更多关注。
目前,星竞威武集团旗下拥有eStar和NIP 两大知名电子竞技俱乐部品牌。eStar电子竞技俱乐部旗下拥有QQ飞车手游分部、穿越火线双端分部、使命召唤手游分部等多个游戏分部。其中王者荣耀分部曾在2019年和2021年取得王者荣耀挑战者杯冠军。NIP电子竞技俱乐部旗下拥有英雄联盟分部,其2020年拿下了LPL夏季赛六强,2022年拿下了春季赛季军。
不过,虽然旗下俱乐部实力强劲,但作为企业,星竞威武集团想要成功上市,还面临一些挑战。
2.星竞威武集团上市路有何阻碍?
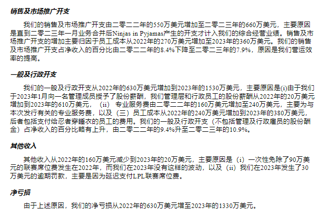
招股书显示,2022年到2023年,星竞威武集团的净收入从6580万美元增加到了8370万美元,原因主要是人才管理服务费和赛事制作产生的收入增加。但2022年到2023年,净亏损却从630万美元扩大到了1330万美元,星竞威武集团认为,亏损扩大主要是因为成本增加和其他收入减少。2023年,星竞威武集团的营运开支、销售及市场推广开支、一般及行政开支相较2022年都在增加,同比增长分别为85.59%、20%、142.86%。总体来说,星竞威武集团近两年处于亏损状态。

图片来源:招股书
另外,2024年4月22日,NIP电子竞技俱乐部关联公司深圳威武电竞网络科技有限公司新增一条被执行信息,执行法院为北京市西城区人民法院,执行标的650000。

图片来源:微博截图
除此以外,招股书显示,由于行业的特殊性,星竞威武集团的品牌和声誉与企业发展息息相关。而若是“无法维持和提升品牌”,可能会对业务、运营和财务状况产生不利影响。同时,星竞威武集团已经在亚洲和欧洲拥有团队,未来还将扩大到中东、北非等地,因此政策、市场环境等都可能会给企业的发展带来风险。
3.电竞行业前景如何?
前瞻产业研究院发布的《2023年中国电子竞技行业全景图谱》显示,2017年到2021年,我国电子竞技产业收入规模呈增长态势,尽管受疫情影响,2022年下降到了1445.03亿元,但预计2028年电竞产业市场规模将突破3000亿元。伴随着行业规模的增长,国内电竞相关企业也在增加。天眼查数据显示,截至2022年10月21日,我国电竞相关企业有6.2万家。
目前,业内已经形成了电子竞技游戏到赛事运营、俱乐部与选手、电子竞技内容制作再到内容传播的产业链。其中,游戏研发和运营已形成头部效应,腾讯游戏、网易游戏、米哈游、完美世界等企业占据了大部分市场份额;赛事运营则有英雄体育、NeoTV等,俱乐部除了NIP,曾获得俱乐部史上首座英雄联盟全球总决赛冠军、多次拿下LPL季赛冠亚军的EDG与在2023年KPL夏季赛总决赛夺冠的TT电子竞技俱乐部知名度也很高,而他们的背后分别是广州超竞投资有限公司和广州趣丸网络科技有限公司。直播和相关媒体主要为斗鱼、虎牙、快手、抖音、哔哩哔哩等。
虽然已形成产业链,但国内的电竞行业仍有很大的成长空间。一来,相较于传统体育项目,电竞的国民认知度仍比较小,再加上因为有一定的门槛,电竞想要成为一项大众的体育项目还需要时间。二来,由于发展时间较短,电竞行业的管理、企业的收入模式还需要探索。
从备受争议到为国争光,电竞行业迎来了一个重要的发展时期。而若是星竞威武集团上市成功,国内或将涌现更多电竞企业。你认为星竞威武集团能成为国内“电竞第一股”吗?欢迎在评论区留言讨论。


评论