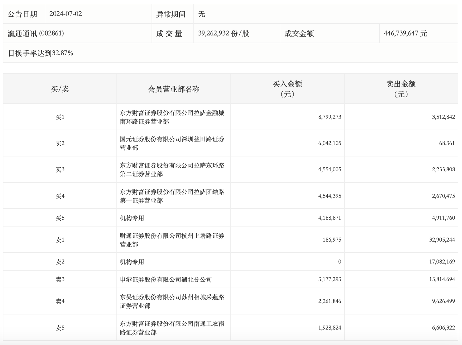
7月2日,瀛通通讯今日跌停,龙虎榜数据显示,上榜营业部席位全天成交1.29亿元,占当日总成交金额比例为28.9%。其中,买入金额为3568.36万元,卖出金额为9343.22万元,合计净卖出5774.86万元。
具体来看,机构买入418.89万元,卖出2199.39万元,合计净卖出1780.51万元。此外,财通证券杭州上塘路证券营业部、申港证券湖北分公司分别卖出3290.52万元、1381.47万元;东方财富证券拉萨金融城南环路证券营业部、国元证券深圳益田路证券营业部分别买入879.93万元、604.21万元。

评论