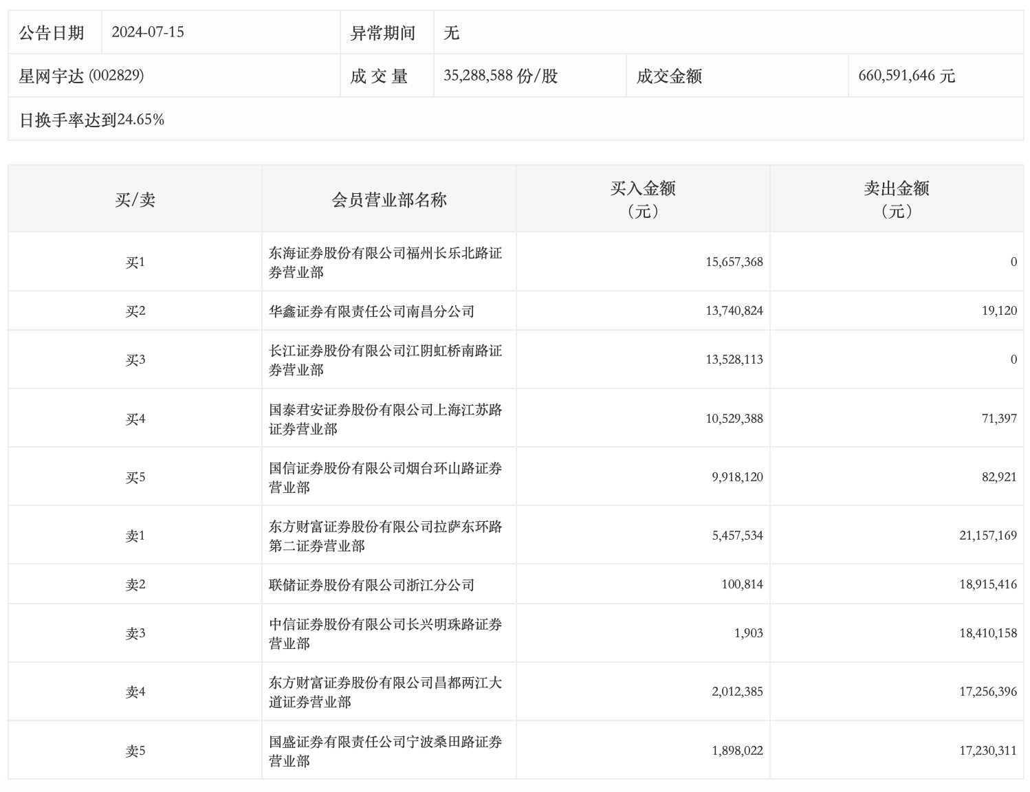
7月15日,星网宇达今日涨停,龙虎榜数据显示,上榜营业部席位全天成交1.66亿元,占当日总成交金额比例为25.13%。其中,买入金额为7284.45万元,卖出金额为9314.29万元,合计净卖出2029.84万元。
具体来看,知名游资现身龙虎榜,章盟主(国泰君安证券股份有限公司上海江苏路证券营业部)净买入1045.80万元、宁波桑田路(国盛证券有限责任公司宁波桑田路证券营业部)净卖出1533.23万元。此外,东海证券福州长乐北路证券营业部、华鑫证券南昌分公司分别买入1565.74万元、1374.08万元;东方财富证券拉萨东环路第二证券营业部、联储证券浙江分公司分别卖出2115.72万元、1891.54万元。

评论