文|新偶 光尘
编辑 | 钊
7月12日晚,抖音美妆一哥骆王宇时隔5个月后再次发布视频,宣布了一个令人惊讶的决定——“退网”。
在此之前,他多次因为带货产品的成分与功效问题频繁陷入争议之中,这次又将面临1.5亿元的天价退款,这位在巅峰时期粉丝数超过2000万的超级头部主播,就这样在被一次次推上风口浪尖后选择“躺平”。这让人想起了前些天被封禁的另一个大网红“一个人的莎士比亚”。
和骆王宇恰恰相反,这位一次次趴在社会热点的风口上不断蹭热点的网红凭借情绪输出一路狂奔。在809个“换药不换汤”的视频之后,他的抖音粉丝来到1205.2万,视频获赞量超过2.1亿。
“一个人的莎士比亚”走红的优势标签显而易见:社会热点+观点输出,主打一个搏出位。四年之间,这个带有极强个人情绪、一次次踩在宣泄爽点上的博主,随着影响力增强,做起了网红们都会做的业务——带货。
越来越多网红不断翻车背后,哪些品牌会受到影响,不同的翻车原因又会给不同的品牌造成怎样的效果?我们通过将809个视频逐一“鉴赏”,了解了这位前“网络巨擘”背后的商业版图,试图去探寻,这些KOL们是如何“成也流量,败也流量”的。
1、涉猎广泛,带货商品绝大多数为国货
网红与企业品牌合作的方式有几种:品牌代言、产品软广、社交媒体活动、直播带货。“一莎”主要是通过直播带货和产品软广这两个渠道,其中,后者主要是以短视频和公众号文章为渠道。
通过短视频,“一莎”推荐的商品品类横跨各类,在个人护理方面,其推荐过墨雪牌、海飞丝牌洗发水;奢瓶牌发胶;活力28的洗衣液。其中,“墨雪”被称为抖音渠道TOP的洗护品牌。还有HBN品牌眼霜、珀莱雅品牌也在他的推广图谱上。
此外,该账号还推荐过极萌美容仪和舒客、西帕依的牙膏。无一例外,也都是国产品牌。
在饮食品牌方面,与他合作的品牌有伊利、白象。
手机领域,其视频中软广推荐过vivo、华为。令人意想不到的是,他还涉猎过游戏领域,代言过“奇迹战神点卡手游”,该期短视频一如既往,采取的是“支持国产,国产强于外国”的逻辑。
值得一提的是,在短视频中,与“一莎”合作最多的是汽车行业,而这也是他唯一一个不拘泥于国产品牌,“敞开心胸”向外国品牌的领域,毕竟挣钱嘛,不寒碜。
据不完全统计,在他的推广视频中,曾出现过凯迪拉克、上汽 MG4 EV、小米 SU7、上汽智己 L6、广汽传祺 M8、长城汽车、魏牌蓝山、理想L7、奇瑞混动、沃尔沃、蔚来等十多个汽车品牌,其中,蔚来是与其合作最紧密的车企,有三期视频是其推广内容。
除了在短视频中出镜的这些品牌,在各大平台的橱窗中,还有诺特兰德、朗迪的钙片、麦富迪的狗粮、啡否的咖啡、萃修堂的桃胶……
经过梳理,能发现,他会根据自身视频调性选取商品。因此,其视频中推广的商品绝大多数为“国货”品牌,以此来吸引客流、增加转化率的同时,巩固自身的人设。
目前,在被封禁后,该账号抖音橱窗的商品已经无法查看,其他几个平台中,小红书账号正常,快手账号也已经封禁,只有视频号还能查看橱窗,不过也已经和全网一样十几天没有更新。不过,值得一提的是,其同名公众号目前仍在坚持每天更新内容,保持热度。
2、曾做演员,现名下有多家公司
值得玩味的是,“一莎”在短视频平台发布视频之前,也曾经在荧屏上露过面。
该出镜人本名叫商子见,毕业于中央戏剧学院2002级表演系本科,本职是一名演员,其出演过多部影视剧作品和话剧,其中最有名的作品是《武林外传》,扮演“厨神”诸葛孔方的徒弟清风。
这也能解释为何他能在视频出镜时有如此良好的“镜头感”,读文案时也能如此“声情并茂”。
或许是作为演员总是出演各种配角,发展得一直不温不火,嗅觉敏锐的他在互联网流量上开辟了自己的新事业,走上了短视频赛道。
与他相关联的公司有哪些呢?
在他的抖音账号首页标明,其“无mcn公司”,不过,在微信视频号账号中,点开其企业微信一栏,相关企业为“北京大山草堂策划咨询有限公司”。在其相关的公众号“一莎公社”介绍界面,其认证主体同样为“北京大山草堂策划咨询有限公司”。

图源:视频号
企查查显示,该公司成立于2014年5月20日,注册资本为100万元,所属行业为商务服务业,经营范围广泛,从社会经济咨询服务,到各类商品的销售,法定代表人为任政伟,不过,在2023年11月2日,该公司的实控人由任政伟变更为了商子见。

图源:企查查
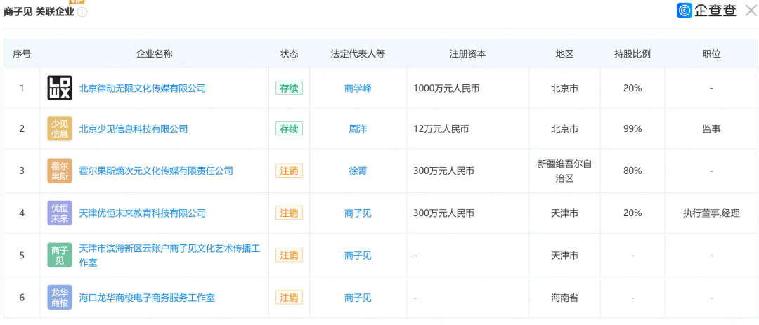
目前,任政伟的持股股份已经由100%下降到了29.97%。而商子见持股99%的北京少见信息科技有限公司则持有70%的“青岛元商联行信息科技有限公司”的股份,后者正是认缴全额出资“北京大山草堂策划咨询有限公司”的实体。
除了该公司外,商子见还曾经担任过5家公司的法定代表人,其中4家现已注销,还有一家“北京日升时间科技文化有限公司”目前处于存续状态,不过其也在2021年5月卸任。

图源:企查查
目前,他担任着北京少见信息科技有限公司的监事以及北京律动无限文化传媒有限公司的股东,并在后者持股20%。
值得一提的是,该公司的大股东,持股80%的实际控制人名为“商学峰”。
3、网红频翻车,互联网生意被重拳治理
近些年来,网红“翻车”的原因五花八门。
直播带货领域,这种现象尤其明显,这年头,不翻个车都不好意思称自己是头部主播。
去年,李佳琦“眉笔门”事件闹得沸沸扬扬,直播间里怒怼粉丝,嘲讽普通人“不努力”,不仅给自己带来了极大的舆论危机,也亲口毁掉了自己的基本盘。虽然此后进行了道歉,但无论是人气还是口碑,都再也无法重回巅峰。
作为曾经齐名的二人,比起薇娅,李佳琦已经算是幸运的。深陷“偷税漏税”风波的薇娅直接触碰到了红线,被罚13多亿元后,只能从台前回到幕后。
快手一哥辛巴翻车得更早,早在2020年,他就深陷“糖水燕窝”风波,被职业打假人王海打假后,发布公开信,承认直播推广时存在夸大宣传,将召回全部售出产品退一赔三,其最后被判赔付消费者4100万元。
曾经的抖音一哥“疯狂的小杨哥”随着商业版图越来越大,遭遇的质疑也越来越多,带货商品梅菜扣肉被央视315曝光为槽头肉,带货的茅台则被检测质疑有假货嫌疑。

图源:运营研究社
此外,香菇来了、贾乃亮、董宇辉这些耳熟能详的名字也一次次出现在舆论漩涡中心。
今年315前夕,北京阳光消费大数据研究院、消费者网等机构发布《直播带货消费维权舆情分析报告(2023)》,报告中指出直播带货消费维权舆情反映了虚假宣传、产品质量等在内的八大问题。可见,网络直播营销仍然缺乏更有力的监管措施。一旦这些带货主播深陷舆情,其带货的品牌自然会受到不小牵连。
不止专职带货的主播,一些日常拍短视频的主播们也频频翻车、封号。单单是过去一年,就有一批网红倒下。
视频内容造假是一大原因,首当其冲的是全网 4000 万粉丝的超级网红“猫一杯”,因为编造剧本全网封号;后来,因为拍摄步步高点读机成名的点读机女孩高君雨一开始自曝患上罕见脑瘤,引来了大量关注,但很快被发现视频造假,其母亲承认高君雨全网账号由签约 MCN 运营,随即其全网被封。此外,抖音有4800万粉丝的“二驴”也因为编造剧本摆拍被警方通报,账号遭到封禁。
此外,因为直播时不良行为而被举报的网红也不在少数,号称“迷倒万千大妈”的@秀才、@张启曼波妮、@铁头惩恶扬善,或因诱导打赏,或诱导购物,或自爆不良行为,引起粉丝举报。
还有视频内容引发不良影响,像@李一舟一样,利用 AI 噱头引发社会焦虑,通过知识付费割韭菜的一波网红也被纳入到了更严格的监管体系中,“一个人的莎士比亚”也属于此类。
更有甚者直接实行诈骗,4月19日,网友@翻滚吧花花 发布视频称她母亲被无良化妆品网红骗走救命钱,博主母亲是在一个网红的直播间里购买的曼泊妮胶原蛋白肽,该带货主播叫张启,在抖音上直播,自称是曼泊妮的创始人。而后,这名主播旗下的几个账号均被封禁,其公司旗下的部分主播甚至牵涉到敏感问题,但出问题后转战视频号依然活跃。
网红频频翻车,给平台们提出了监管规范化的更高要求。抖音上线直播新版“健康分”制度、发布“关于开展‘厚黑学’、‘伪成功学’专项治理的公告”;小红书则对违规引流和违规种草做了一定的限制;视频号则是严管直播,尤其是“网赚”现象。
治理力度强化之下,这些拥有巨大影响力的网红们需要更加掂量掂量,在互联网上做生意,应该怎样合法合规,无愧于心。毕竟,那些合作品牌方们都有避险倾向,谁愿意冒险,一不小心,钱打水漂呢。
4、写在最后
从李一舟到猫一杯,再到“一个人的莎士比亚”,一个个网红大V账号被封禁,背后应该是整个网红经济生态的反思。
作为流量世界的意见领袖,网红们可以发挥自身影响力,越来越多的厂商找到网红营销产品,但与此同时,也需要面对诸多风险,例如:网红的粉丝与品牌的目标受众不匹配、网红发布的内容与品牌的价值观不一致、网红的粉丝不信任品牌、网红的粉丝不愿意购买品牌的产品或服务。
以猫一杯举例,在她翻车之后,多个品牌迅速与其撇清关系。针对猫一杯签约智己汽车代言的传闻,智己官方称从未与“猫一杯”有任何官方代言合作,针对猫一杯与FPA合作联名服饰传言,FPA品牌客服表示,很久之前曾与猫一杯合作联名服饰,目前没有合作。此外,欧缇丽、SAINT LAURENT圣罗兰等也都在第一时间进行切割。
如何避免选择不合适的网红自然是各品牌的一大课题,而在追求流量的狂热中,怎么摒弃忽视了内容创造的本质,避免忘了到底该怎么传递价值、分享知识或是娱乐大众,防止靠极端手段博眼球,最后落得一地鸡毛的戏码一次次上演,也是网红们应该思考的课题。
流量,从来都是双刃剑。它能让普通人迅速起飞,一跃成为像曾经明星一样的网红,又能瞬间变奏,让人立刻被打上无法洗刷的标签与烙印。


评论