文 | 独角金融 郑理
成立12年之久、押注新能源赛道而备受关注的老基金,东方新能源汽车主题混合,二季度又亏了。
由东北证券(000686.SZ)控股的东方基金管理股份有限公司(下称“东方基金”)管理的东方新能源汽车主题混合二季度报告显示,该只产品净值下跌12.24%,跑输基准3.34个百分点,期间合计浮亏11.46亿元。
若算上一季度业绩,上半年该只产品累计浮亏20.02亿元。
东方新能源汽车主题混合基金经理李瑞,自2017年开始管理该产品后,2021年迎来了高光时刻,不仅创造41.84亿元的净利润,仅用了半年时间规模从一百亿猛增至224亿元,一时间在公募圈一骑绝尘。不料却又在2022年和2023年陷入合计亏损超百亿,产品规模也跌破百亿。
随着新能源板块的持续调整,这些重仓新能源车的主题基金“深陷”其中,今年下半年,这类基金能实现反转吗?
1、持股集中度较高,新能源汽车主题混合半年浮亏20亿
东方新能源汽车主题混合,成立于2011年12月,2017年12月,基金经理李瑞开始管理该只产品。二季报显示,东方新能源汽车主题混合的报告期末单位净值为1.6086元,二季度净值下跌12.24%,跑输基准3.34个百分点。
二季度,东方新能源汽车主题混合的总申购份额达3.64亿份、总赎回份额约5.19亿份,出现净赎回。截至二季度末,该只产品份额总额达50.82亿份,较2023年年末减少6.34%;产品的资产净值为81.76亿元,较2023年末减少24.04%,跌破百亿规模。
2021年,东方新能源汽车混合迎来高光时刻,当年年底其规模曾达到224亿元,以41.83亿元的净利润在基金圈赢得广泛赞誉。
格隆汇还在2021年8月份公布的一份《2021年头部基金经理业绩表现对比》报告中,统计了当年在管规模百亿元以上的逾五十名权益类基金经理。对比结果显示,东方基金基金经理李瑞执掌的东方新能源汽车混合以超50%的年内回报率拔得头筹,成为2021年业绩最佳的百亿基金经理。对新能源汽车板块的坚守,是东方新能源汽车混合曾取得优异业绩的关键。
年初到7月22日,东方新能源汽车主题混合净值下跌18.52%,而同类平均下跌5.66%,在同类4124只产品中排在第3763位。近一年,该基金净值累计回撤36.56%;近2年该基金回撤59.62%,近3年累计回撤63.42%。

近两年,东方新能源汽车主题混合的股票仓位维持在90%以上,二季度末达到91.99%。近一年,基金前十大重仓股市值占基金净值比提高至60%以上,二季度末达到63.77%,超过同类平均水平的45.93%。
6年以来,坚守新能源汽车行业,是李瑞管理东方新能源汽车主题混合一直不变的投资策略。2017年四季度开始,该产品的投资策略就与新能源及汽车产业相关。前十大重仓股中,就包括比亚迪、宇通客车等。
二季报显示,该基金前十大重仓股依然有比亚迪。此外,宁德时代、科达利、汇川技术、新宙邦等新能源板块股票,该基金自2022年四季度以来一直持有。
需要注意的是,该基金半数以上投向了新能源电池板块。例如宁德时代、科达利、汇川技术、新宙邦、亿纬锂能、璞泰来、天赐材料、三花智控等。
今年以来,璞泰来、三花智控、天赐材料股价跌幅居前,年初,三只股票的股价分别为20.79亿元/股,29.15亿元/股、24.78元/股。截至7月23日收盘,上述股票价格分别为12.67元/股、18.63元/股、15.48元/股,股价分别较年初下跌38.85%、36.09%和37.53%。
相对而言,比亚迪、宁德时代股价表现较好,今年以来分别上涨26.76%、18.98%。
上述产品重仓的股票中,亿纬锂能的高管还在2023年8月"吃过"证监会广东监管局的一张罚单。主要问题在于,2022年11月以来,亿纬锂能与关联方曲靖市德枋亿纬有限公司、常州市贝特瑞斯材料有限公司发生多笔关联交易,交易金额合计23.1亿元。
因未按规定及时履行股东大会补充审议和披露相关关联交易,亿纬锂能董事长刘金成、总经理刘建华、董事会秘书及财务总监江敏对上述违规行为负有主要责任,因此被监管层出具警示函。

东方新能源2019年至2021年业绩一直保持高速增长,净利润分别为1031.22万元、8.32亿元、41.83亿元;从2022年开始业绩下降,2022年和2023年净利润分别为-72.12亿元,-56.95亿元。从5年的业绩表现看,累计亏损78.82亿元,再加上2024年2个季度分别亏损8.56亿元、11.46亿元,该基金近5年半累计亏损98.84亿元。
展望后市,东方新能源汽车主题混合在二季度财报中分析,市场对新能源汽车行业产能投放带来的内卷加重持续担忧,对行业盈利何时见底持观望态度。
东方基金称,新能源汽车产业链3月排产强势恢复,4月排产进一步增加,5月排产趋势仍然向上,3季度排产相对平稳,4季度有望继续上行,行业龙头在充分内卷的竞争之后,体现出来的竞争优势或将非常显著。
2 依靠固收类产品,规模站稳千亿“台阶”
不仅东方新能源汽车混合亏损,在李瑞管理的4只(A、C类合并统计)产品中,今年的业绩表现均不理想。从近一年收益看,截至7月23日,收益率最差的产品则是东方新能源汽车混合收益率最好的产品东方汽车产业趋势混合A和C,分别下跌-19.67%、-20.06%。
东方汽车产业趋势混合A和C,自2022年2月9日成立后,则由李瑞开始管理。截至二季度末,该产品规模0.94亿元,亏损700万元。另一只产品东方高端制造混合,自2023年3月1日成立,成立以来收益率为-34.57%,二季度亏损500万元。
李瑞不仅管理4只权益类基金,还是东方基金权益投资部总经理、投资决策委员会委员。2011年7月,加盟东方基金后,最初从权益投资部研究员做起,后来担任基金经理助理 ,直到2017年12月管理东方新能源汽车混合后,开始踏上基金经理的路程。
目前,李瑞在东方基金已经13年的时间,管理基金规模84.18亿元。在天天基金的APP上,还将李瑞介绍为“新能源车老司机”。
金乐函数分析师廖鹤凯表示,基金经理的风格和整体市场运行状态都是决定基金公司权益类投资收益的关键,近年来资本市场总体表现较为低迷,操作难度大幅提高,是外部原因,基金公司投研水平和投资判断能力是其能否跑赢大盘甚至盈利的关键因素。
东方基金是一家“券商系”公募,成立于2004年6月,距今成立已经有20年的时间。3月末,东方基金管理规模站在千亿台阶,截至目前,管理的116只基金规模创历史新高,达1319.27亿元。
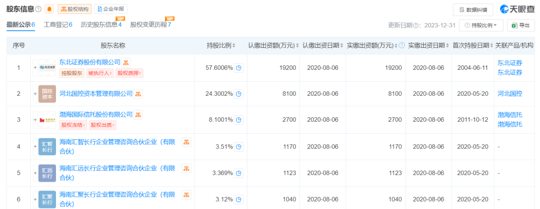
东北证券是东方基金的控股股东,持股比例为57.6%,二股东为河北国控资本管理有限公司,持股比例24.3%。渤海信托是其第三大股东,持有8.1%的股份。
不过,根据天眼查信息显示,东方基金的前三大股东中,东北证券部分股权处于被质押状态,而渤海信托的股权还存在冻结、出质等事件。

从产品类型看,东方基金规模增长突破千亿,主要依靠固收产品,特别是债券型产品。wind数据显示,2023年末,东方基金的债券型产品规模为583.69亿元。截至2024年上半年,该类产品规模为1008.52亿元,占全部产品规模的比例超过76%。

你认为新能源汽车类主题基金下半年能否实现业绩反转?评论区聊聊吧。


评论