文 | C2CC新传媒
中国美妆“造芯”能力再提升。
根据C2CC传媒X新妆统计,2024年1-7月,国家药监局官网共计55个新原料完成备案,而2023年、2022年、2021年分别备案69、42、6。换言之,今年前7个月就达到了去年全年80%的备案数量。




其中,今年1月份备案新增数量最多(12个),2月份数量最少(4个),第一季度与第二季度的备案数量持平,均为23个。不过今年备案的新原料目前相关技术要求尚未披露,且尚未进入监测期。
在这些已备案的新原料中,原料备案释放出哪些趋势?哪种原料在备案潮中热度攀升?
C2CC传媒X新妆梳理发现,今年原料备案有多个比较鲜明的特点:

头部原料商、代工厂深研多元化原料,国际企业加码新原料备案,国货美妆品牌加码“造芯”,植物原料备案持续提速,抗炎舒缓、抗衰类原料成备案“宠儿”,跨界原料和跨界玩家也越来越多。
01 占比超7成,本土企业以创新破局原料垄断
在中国化妆品市场发展的30多年间,化妆品原料的话语权一直掌握在外资企业手中,使得本土美妆企业长期遭遇“卡脖子”难题,缺乏原料“芯片”也导致产品力难以实现质的突破。反观国际大牌,往往都有一款或数款核心专利成分,并以此打造出超级大单品,经久不衰,比如玻色因之于赫莲娜;PITERA 之于SK-II,烟酰胺之于OLAY。
不过,这种国际原料垄断的局面正在发生改变。
近几年,乘着功效护肤的东风,越来越多的国货原料商、代工企业、美妆品牌开始发力原料端,成功研发出具有核心竞争力的自研原料,以此实现“弯道超车”。而新原料备案的开闸,更是为品牌们提供了一个全新的竞技场。
国家药监局官网信息显示,2021年6月25日至今已有近110家企业共计172个新原料备案。

1、国内企业备案新原料40个
从备案人类型来看,2024年前7个月,国内企业备案新原料共计40个,占比超7成,国际企业备案新原料15个,占比仅30%。不难发现,在新原料备案中,中国本土企业占大头,按此趋势,中国美妆有望凭借自主研发逐渐摆脱原料强进口依赖属性,抢回主场优势。
深圳市维琪科技股份有限公司在今年备案了4个新原料:β-烟酰胺单核苷酸、β-丙氨酰羟脯氨酰二氨基丁酸苄胺、补骨脂酚、环四肽-24氨基环己烷甲酸酯。
截至目前,深圳维琪备案新原料8个,其中4个为肽类,如芋螺肽、三肽-105、咖啡酰六肽-9等。可以看到,深圳维琪正在不断自研抗衰类原料。
致力于化妆品市场前沿的分子活性物研发企业,上海克琴科技有限公司备案了今年第1个原料——吡哆素三-己基癸酸酯。湖南水羊生物科技有限公司备案了无柄灵芝菌丝体发酵产物滤液,这也是该企业这两年备案的第4个新原料。
2、20家本土企业首次备案新原料
C2CC传媒X新妆梳理发现,今年有20家本土企业首次备案新原料。

譬如,驴乳粉、乙酰基二肽-1、东北刺参不定根提取物、金耳子实体提取物、RGD酰胺化透明质酸等原料分别是桑阳生物科技(北京)有限公司、山东济肽生物科技有限公司、广东南芯医疗科技有限公司、广州嘉创生物科技有限公司、陕西佰鸿合成生物科技有限公司所备案的首款新原料。
关于RGD酰胺化透明质酸,佰鸿官网这样介绍,利用生物靶向原料将RGD肽与透明质酸通过键合取代结合在一起形成靶向透明质酸,RGD肽可与细胞膜表面整合素受体结合,将透明质酸牢牢捆绑在细胞周围,防止透明质酸被酶降解,持久发挥保湿功效。
3、多个国际企业首次在华备案
国际企业不止于观望,开始在新原料备案方面发力。
从国际企业的布局来看,莹特丽股份公司、赢创运营有限公司、禾大化学品(上海)有限公司等企业首次在华备案新原料。
今年,莹特丽连续备案4个新原料:双羟基乙基PPG/PEG-7/4二氰甲基噻吩偶氮甲苯胺三乙氧基硅丙基氨基甲酸酯、双-1,4(三乙氧基硅丙基氨基甲酰基聚(己二酸乙二醇酯)丙胺基)蒽醌、甲基苯并噻唑偶氮甲苯胺双-(三乙氧基硅丙基氨基甲酰基PEG-5/PPG-5乙醇)和双-(苯基偶氮甲苯胺双-(三乙氧基硅丙基氨基甲酰基PEG-5/PPG-5乙醇)砜。

据了解,上述4个新原料均为化学原料,主要作为彩妆、护肤、个人护理品的分散剂使用。
赢创也首次在华备案,2个新原料为,聚甘油-3 硬脂酸酯/癸二酸酯交联聚合物、双-(异硬脂酰/油酰异丙基)二甲基铵甲基硫酸盐,主要用作乳化剂、稳定剂。
值得一提的是,2022年在华备案2个新原料的科莱恩国际有限公司今年又加码备案2个聚合物原料:刺云实胶/AMPS铵交联聚合物、聚丙烯酸酯交联聚合物-11,前者是一种活性成分,在产品中主要是起到成膜剂,皮肤调理剂,黏度控制剂等目的。
02 HBN、至本入局,美妆企业新原料竞赛升级
C2CC传媒X新妆统计,今年前7个月的55个新原料当中,国货美妆品牌相关企业备案的原料达到15个,占比接近1/3。贝泰妮、华熙生物、上美股份、片仔癀化妆品、福瑞达、敷尔佳等企业均有新原料备案通过。

其中,云南贝泰妮生物科技集团股份有限公司备案6个,分别为短莛飞蓬提取物、荔枝草提取物、南方红豆杉籽油、南方红豆杉嫩枝提取物、总状绿绒蒿提取物、梁王茶提取物。
据《云南中草药》与《昆明民间常用草药》记载,梁王茶别名台氏梁王茶、掌叶梁王茶,分布于贵州、云南,生于森林或灌木丛中。本种为民间草药,茎皮有清热消炎、生津止泻之效。梁王茶在白族文化中占据重要地位,白族民间用于治咽喉痛、咳嗽、消化不良等常见症状。
上美股份在今年4月份通过备案的环六肽-9,是全球首个品牌自研的环肽原料,通过对「传统直链多肽」的环化升级,提高了原料的稳定性、安全性和功效性。该抗衰原料作为专研成分,将应用于韩束未来的大单品中。
国货功效抗老护肤品牌HBN所属企业深圳市护家科技有限公司则在今年通过了两色金鸡菊花提取物、乳酸杆菌/小粒咖啡籽发酵产物滤液2款新原料备案。据了解,两色金鸡菊花提取物来自中国新疆昆仑山地区的特色植物,在化妆品中常作为保湿剂和皮肤保护剂使用。
福建片仔癀化妆品有限公司、上海澄穆实业发展有限公司分别备案了金线莲提取物、鸢尾苷元,两大企业均为首次备案新原料。值得一提的是,上海澄穆实业为年销售额超10亿元的至本品牌母公司。
此外,华熙生物科技股份有限公司备案岩藻糖基乳糖、β-烟酰胺单核苷酸2个原料。哈尔滨敷尔佳科技股份有限公司备案了苦参碱水杨酸盐,山东福瑞达生物股份有限公司则备案了今年的第52号新原料10-羟基-2-癸烯酸。
其实,这两年,包括丸美股份、环亚集团、欧诗漫集团、逸仙电商、水羊股份等头部品牌企业,都已备案了新原料。截至目前,贝泰妮共备案了9个新原料,为美妆企业备案新原料数量之最。

此外,华熙生物备案6个,上美股份2个,哈尔滨敷尔佳科技股份2个......
在当前市场增速放缓的背景下,守住基本盘的同时,寻求品牌新增量一直是头部美妆品牌的目标。从贝泰妮、上美股份、华熙生物等头部企业以及HBN、至本等新锐品牌在原料端的布局来看:
一是围绕自身品牌定位和调性,发挥优势资源,例如贝泰妮之于植物原料领域、上美股份对于抗衰新贵多肽类成分的持续深耕、华熙生物之于生物科技原料领域;
二是提前布局潜力成分,如片仔癀化妆品挖掘金线莲对舒缓抗炎赛道的探索、HBN在中国特色植物成分赛道及相关品类的探索等。
03 抗炎舒缓植物原料攀升,2家企业备案金线莲
在功效护肤的市场趋势下,消费需求已向科学理性转换,天然绿色、功效性和安全性兼具的护肤产品变得更受消费者青睐,纯天然植物成分已成为企业突出重围的一把利刃,植物原料也随之成为新原料备案中不可忽视的力量。
今年前7个月,植物原料备案数达到18个,接近备案总数的33%。而在2023年的69个新原料中,植物原料仅12个。预计2024全年植物类新原料备案数量将再次刷新纪录。植物原料的备案数量的攀升,或将逐渐改变以往由化学原料和生物技术原料主导的新原料格局。

在植物原料的备案数量上,贝泰妮是不得不提的一个企业。在上述18个原料中,贝泰妮备案6个。其中,多个原料功效主打抗炎舒缓,而这也是今年备案的植物原料在功效上凸显出来的一大明显趋势。
“短莛飞蓬提取物”来自来自滇南红土地的“小太阳”短莛飞蓬。经验证,该原料对多种炎症因子具有显著的抑制作用,展现出优异的舒缓抗炎、皮肤控油功效。此外,还可提升皮肤屏障关键蛋白水通道蛋白AQP3、丝聚蛋白FLG和兜甲蛋白LOR的基因表达,以增强皮肤屏障的保护效应。
“荔枝草提取物”也可有效降低皮肤炎症,快速给肌肤降温,缓解敏感肌热、痛、痒的状态,号称“皮肤灭火器”,抗炎舒爽“ACE”。史料记载,荔枝草在中药中别名“雪见草”,具备清热解毒、凉血止血的功效,其消炎缓热的护肤功效也是一种药理上的延展。
其实,炎症已被认为是衰老的内源性因素,消除炎症可能是一种潜在的抗衰老策略。从抗炎角度切入皮肤抗衰,也为化妆品企业提供新思路。
C2CC传媒X新妆注意到,今年,片仔癀化妆品和广州远想生物先后备案了“金线莲提取物”。
公开资料显示,金线莲是一种南方传统名贵的中药材,主要分布于我国广东、福建和浙江等南方地区,亦称为金线兰、金丝绒、金石松等。该植物富含多糖类和黄酮,具有强效的舒缓和保湿功能。
有研究表明,金线莲中的多糖成分能有效抑制LPS诱导的RAW264.7细胞中NO的产生,并通过调节NF-κB、IκB和p65等信号通路,降低炎症因子TNF-α和IL-6的mRNA表达,从而减轻细胞损伤。
相比于普通植提成分,中草药植物提取物的优势是,在功效论证上有一定基础。比如根据《中国壮药图鉴》记载,两色金鸡菊花拥有清热毒、除湿毒的功效。以此为依据,可推测该中草药植物应用到化妆品中,对皮肤也会有舒缓的功效。
新原料“东北刺参不定根提取物”亦被证实有良好的保湿、美白以及抗炎舒缓能力,市场前景广阔。
今年备案的第50号新原料“紫檀芪”是一种天然的芪类多酚化合物,为白藜芦醇的衍生物,主要存在于葡萄、蓝莓、花生中,近年来由于其潜在的抗癌、抗氧化、抗炎等功效而备受关注。
此外,植物类新原料备案的一个另一个显著特点在于,备案人大多是本土企业。18款植物新原料备案中,除了仙婷(广州)科技研发有限公司是外资企业外,均为本土企业。
综上,我们也可以看到几个趋势:
一是依托中国丰富的植物资源优势,本土美妆不断瞄准植物原料打造品牌核心成分优势;
二是植物原料中更具功效论证基础的中草药植物原料被不断挖掘,“中式成分”效应显现。
《化妆品用中国特色植物资源原料目录》中收录有344种中国特色植物资源,对应833种原料,资源丰厚,可供品牌创新使用。对大多数国货品牌而言,借助植物原料做大做强已是大势所趋。但植物原料的发展也面临着完整版安评的挑战。检测成本高、如何检测、检测标准等问题也对企业实力提出了更高的要求。
04 抗衰原料成跨界热门,更多“搅局者”紧逼
1、NMN备案10次,敷尔佳、华熙生物入局
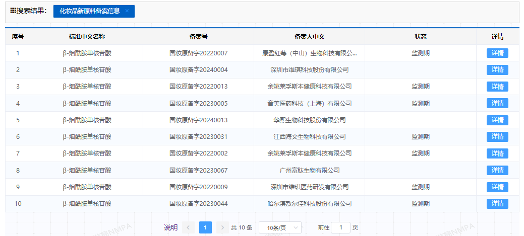
2022年至今,β-烟酰胺单核苷酸(NMN)共计备案10次,包括今年上半年备案2次,成为备案最多的化妆品新原料。备案人包括深圳维琪科技、富肽生物、莱孚斯本、敷尔佳、华熙生物等企业,覆盖化妆品产业链上下游。

被冠以“不老药”之称的NMN,在保健品领域呈现出巨大的市场潜力。据最新市场数据显示,NMN市场产值已突破万亿大关,增长率更是惊人地超过了326.5%,成为抗衰老行业的一匹黑马。
随着越来越多的化妆品企业将NMN作为新原料备案,NMN也成为了最热门的跨界原料。不过,NMN虽已在国外应用于化妆品中,但因为在临床研究层面,更多是口服方式,涂抹于皮肤的研究并不多。所以,NMN在国内仅作为一般普通化妆品原料备案,而不作为功效原料。目前,该原料尚处于3年检测期。
值得注意的是,此前据多家媒体报道,多家电商品台被告知自今年6月1日起,NMN不得再通过跨境电商平台在国内销售,海关总署方面亦有相关政策要求。
关于NMN遭禁售是否会影响至化妆品行业这一问题,不少业内人士认为,只要国家药监局没有发布禁止通知就是合法的,只不过可能会影响到消费者,质疑这个成分的功效和安全性。
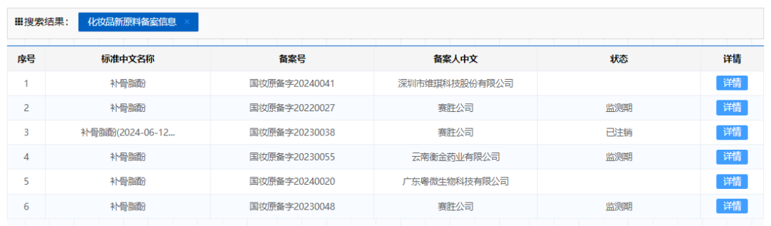
2、欧洲市场渗透率47%,3家本土企业备案补骨脂酚
补骨脂酚同样是热门跨界原料之一,2022年至今共计备案6次(一次注销),今年上半年备案2次,分别为广东粤微生物及深圳维琪科技。去年,云南衡金药业有限公司备案1次;美国赛胜公司在该原料上备案数最多,达到3次。

公开资料显示,补骨脂酚是常用中药补骨脂挥发油的主要成分,在其挥发油中占到60%以上,是一种异戊二烯基酚萜类化合物。补骨脂酚能够激活肌底多种胶原蛋白、促进表皮细胞更新,不同于A醇的刺激性,补骨脂酚适用于各种肤质,敏感肌也可以使用。
拜尔斯道夫旗下品牌妮维雅产品“植A精华”,其核心成分为补骨脂酚。该成分在国内并不为人熟悉,但在国外被广泛使用。用户说平台调查显示,过去两年,在欧洲市场渗透率最高的化妆品原料成分为补骨脂酚,占比达到47%。
随着本土企业加码备案补骨脂酚,该原料或将在中国化妆品市场逐渐被应用。
3、跨界新玩家持续涌入,新原料赛道触发“鲶鱼效应”
今年,新原料备案领域还涌入了一批跨界新玩家。
内蒙古大兴安岭林下产品有限责任公司、桑阳生物科技(北京)有限公司、中林油科技有限公司这3家企业,主要业务涉及食品保健、农产品、药品等领域。
其中,专注于兴安岭大森林的绿色、有机森林食品的内蒙古大兴安岭林下产品有限责任公司,备案了杜香叶油这一新原料。该原料经过植物提取工艺制备,具有抗氧化、皮肤保护和芳香剂的作用。
桑阳生物科技(北京)有限公司备案了今年的29号新原料驴乳粉。据悉,该原料是生驴乳经浓缩、杀菌后,再通过冻干工艺制成的一种奶基动物原料,使用目的是收敛剂。
山桐子全产业链科技孵化企业中林油科技有限公司则备案了山桐子果/籽油。
公开资料显示,山桐子又称山梧桐、半霜红、油葡萄等,是一种纯天然的木本油料植物,其果实内含丰富的亚油酸、亚麻酸、不饱和脂肪酸、棕榈烯酸、维生素E、角鲨烯等多种微量元素,可有效增强人体抗氧化能力和免疫力。
其实,早在2022年,东阿阿胶股份有限公司就备案了动物原料驴乳粉;同期,厦门市燕之屋丝浓食品有限公司备案燕窝肽。
越来越多的跨界者加入,或为化妆品新原料领域带去更多创新的可能性。与此同时,也将触发原料备案的“鲶鱼效应”,在激烈竞争中推动包括中药草在内的中国特色植物原料进一步崛起。
当然,要想让一款植物新原料成为“中国成分”,既要持续攻克技术难题,也要通过科学传播让更多消费者了解并信任该原料的功效和安全性。



评论