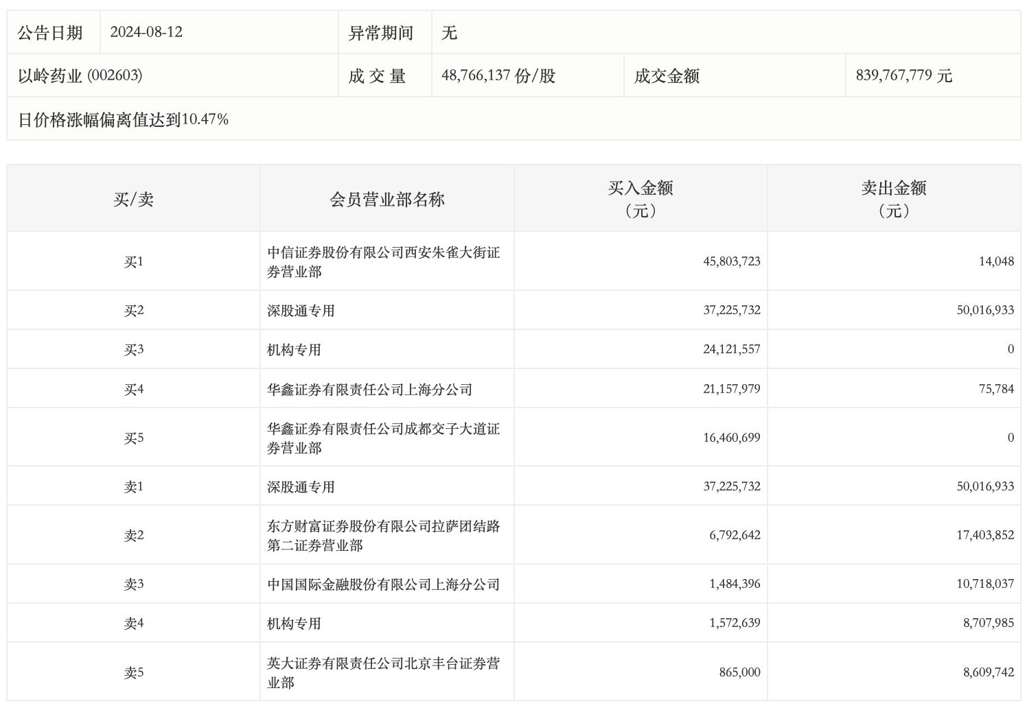
8月12日,以岭药业今日涨停,龙虎榜数据显示,上榜营业部席位全天成交2.51亿元,占当日总成交金额比例为29.89%。其中,买入金额为1.55亿元,卖出金额为9554.64万元,合计净买入5993.8万元。
具体来看,机构买入2569.42万元,卖出870.8万元,合计净买入1698.62万元。此外,知名游资现身龙虎榜,方新侠(中信证券西安朱雀大街证券营业部)、深股通专用分别买入4580.37万元、3722.57万元;深股通专用、东方财富证券拉萨团结路第二证券营业部分别卖出5001.69万元、1740.39万元。

评论