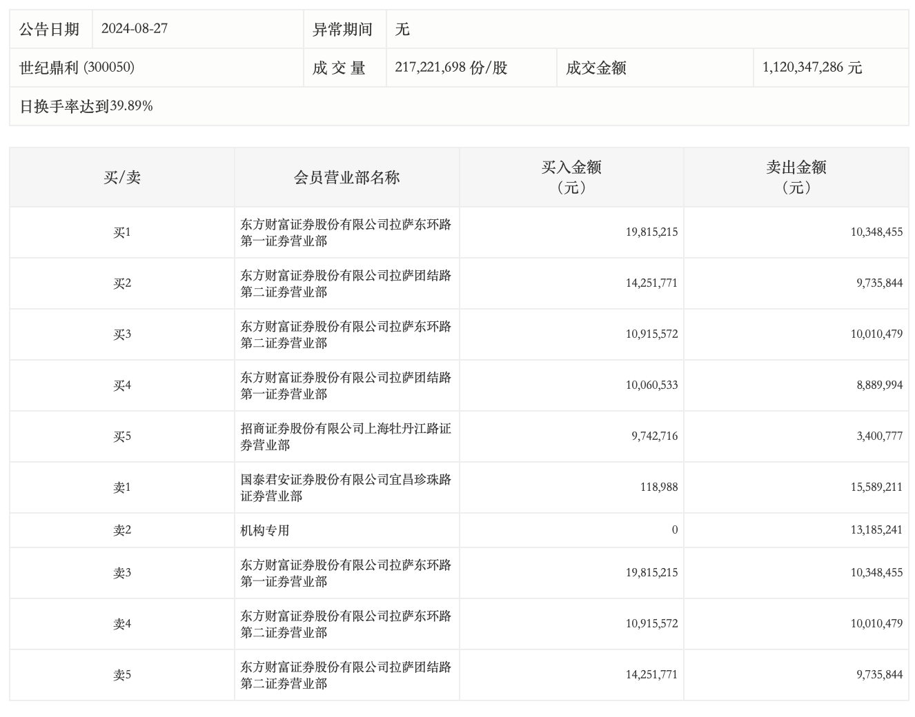
8月27日,世纪鼎利今日跌15.86%,龙虎榜数据显示,上榜营业部席位全天成交1.36亿元,占当日总成交金额比例为12.14%。其中,买入金额为6490.48万元,卖出金额为7116.0万元,合计净卖出625.52万元。
具体来看,机构合计净卖出1318.52万元。此外,国泰君安证券宜昌珍珠路证券营业部、东方财富证券拉萨东环路第一证券营业部分别卖出1558.92万元、1034.85万元;东方财富证券拉萨东环路第一证券营业部、东方财富证券拉萨团结路第二证券营业部分别买入1981.52万元、1425.18万元。

评论