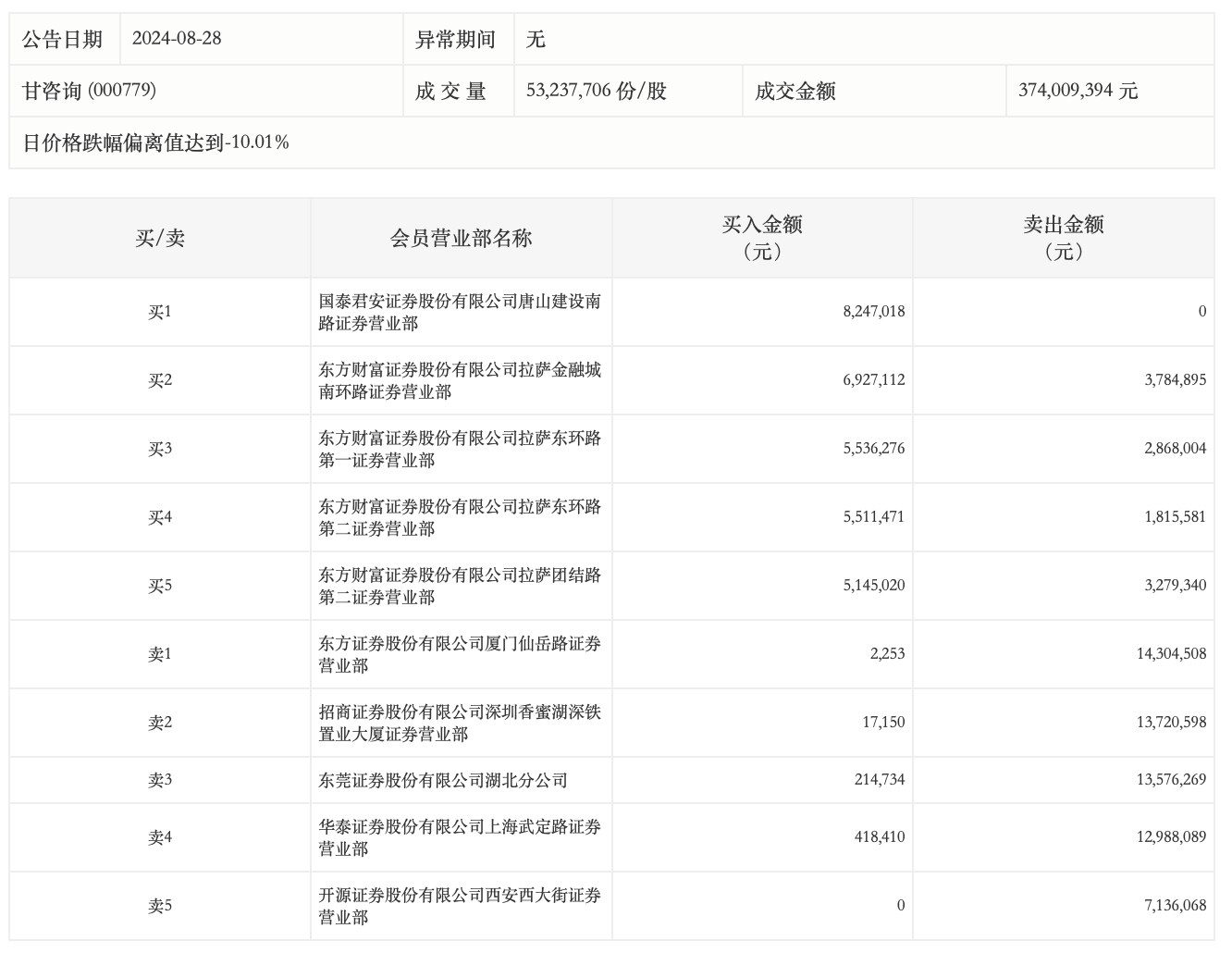
8月28日,甘咨询今日跌停,龙虎榜数据显示,上榜营业部席位全天成交1.05亿元,占当日总成交金额比例为28.21%。其中,买入金额为3201.94万元,卖出金额为7347.34万元,合计净卖出4145.39万元。
具体来看,东方证券厦门仙岳路证券营业部、招商证券深圳香蜜湖深铁置业大厦证券营业部分别卖出1430.45万元、1372.06万元;国泰君安证券唐山建设南路证券营业部、东方财富证券拉萨金融城南环路证券营业部分别买入824.70万元、692.71万元。

来源:界面新闻
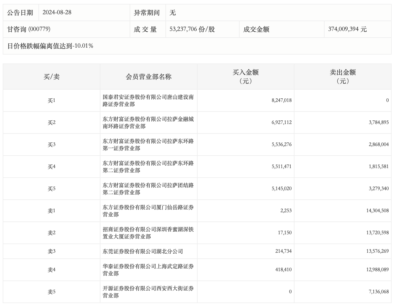
8月28日,甘咨询今日跌停,龙虎榜数据显示,上榜营业部席位全天成交1.05亿元,占当日总成交金额比例为28.21%。其中,买入金额为3201.94万元,卖出金额为7347.34万元,合计净卖出4145.39万元。
具体来看,东方证券厦门仙岳路证券营业部、招商证券深圳香蜜湖深铁置业大厦证券营业部分别卖出1430.45万元、1372.06万元;国泰君安证券唐山建设南路证券营业部、东方财富证券拉萨金融城南环路证券营业部分别买入824.70万元、692.71万元。

评论