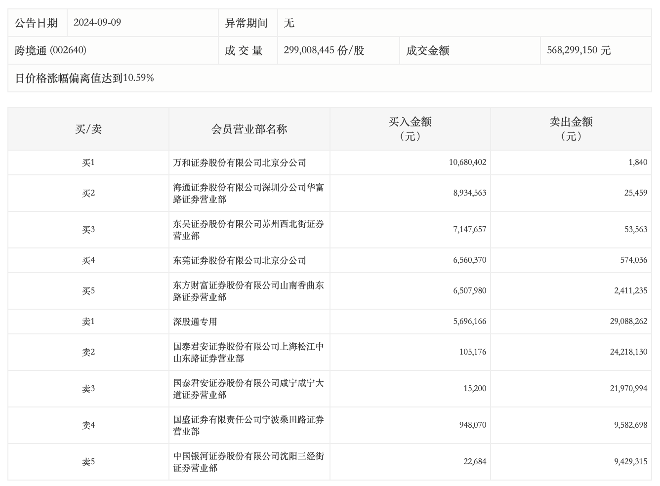
9月9日,跨境通今日涨停,龙虎榜数据显示,上榜营业部席位全天成交1.44亿元,占当日总成交金额比例为25.33%。其中,买入金额为4661.83万元,卖出金额为9735.55万元,合计净卖出5073.73万元。
具体来看,知名游资现身龙虎榜,著名刺客(东莞证券股份有限公司北京分公司)净买入598.63万元、宁波桑田路(国盛证券有限责任公司宁波桑田路证券营业部)净卖出863.46万元。此外,万和证券北京分公司、海通证券深圳分公司华富路证券营业部分别买入1068.04万元、893.46万元;深股通专用、国泰君安证券上海松江中山东路证券营业部分别卖出2908.83万元、2421.81万元。

评论