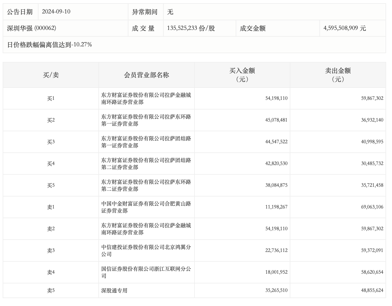
龙虎榜丨深圳华强今日跌停,“散户大本营”包揽买入前五席

9月10日,深圳华强今日跌停,成交额45.96亿元,换手率12.98%,盘后龙虎榜数据显示,买入前五席位均为东方财富拉萨证券营业部,深股通专用席位买入3526.55万元并卖出4885.56万元。

 

未经正式授权严禁转载本文,侵权必究。

深圳华强

1.3k
  • 深圳华强:预计2025年度归母净利润同比增长100%-130%
  • 深圳华强:公司目前未持有比亚迪半导体股权

评论

暂无评论哦,快来评价一下吧!