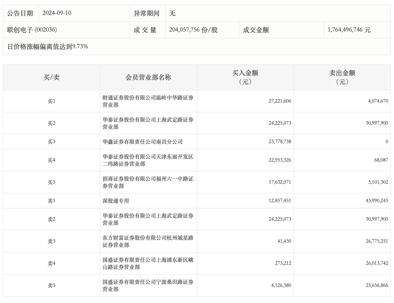
9月10日,联创电子今日涨停,龙虎榜数据显示,上榜营业部席位全天成交2.96亿元,占当日总成交金额比例为16.76%。其中,买入金额为1.33亿元,卖出金额为1.63亿元,合计净卖出2956.88万元。
具体来看,知名游资现身龙虎榜,宁波桑田路(国盛证券有限责任公司宁波桑田路证券营业部)净卖出2153.05万元。此外,财通证券温岭中华路证券营业部、华泰证券上海武定路证券营业部分别买入2722.16万元、2422.51万元;深股通专用、华泰证券上海武定路证券营业部分别卖出4399.02万元、3099.79万元。

评论