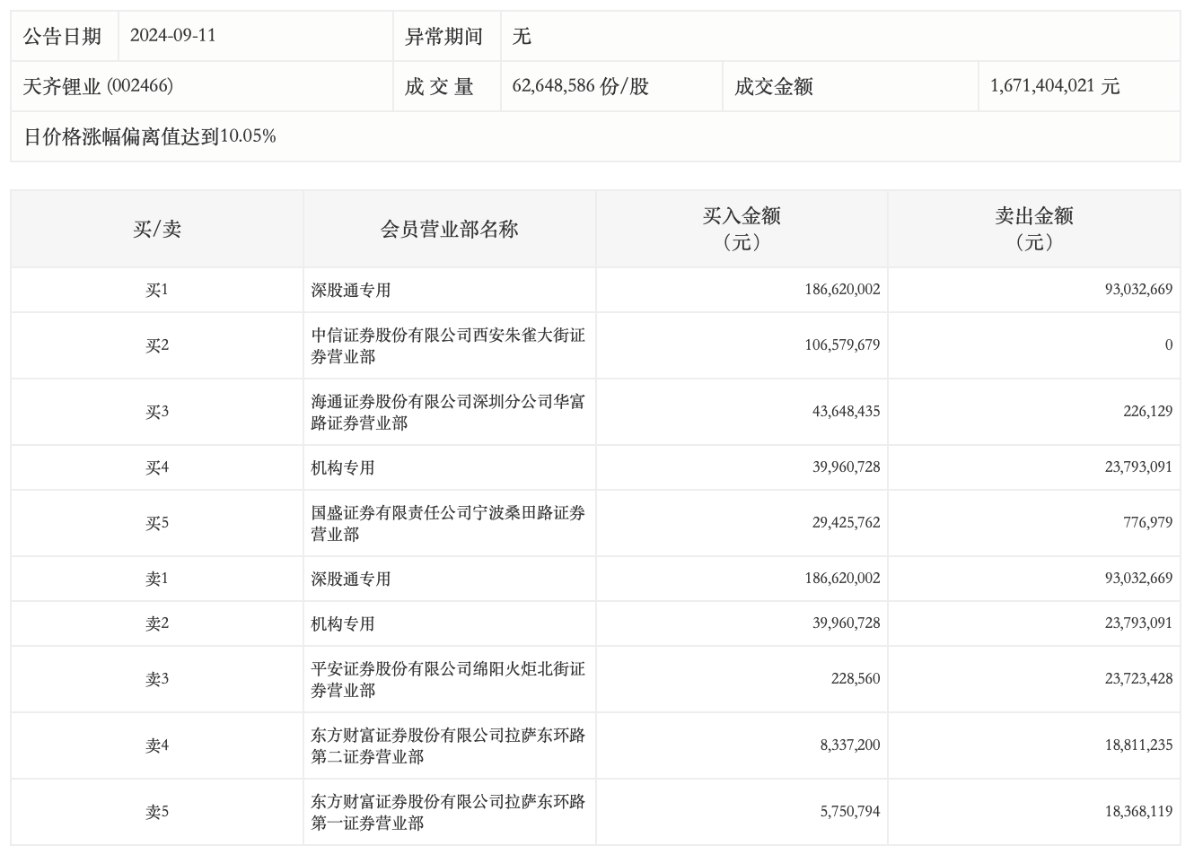
龙虎榜丨天齐锂业今日涨停,深股通净买入9358.73万元

9月11日,天齐锂业今日涨停,成交额16.71亿元,换手率4.24%。龙虎榜数据显示,中信证券西安朱雀大街净买入1.07亿元,深股通专用席位买入1.87亿元并卖出9303.27万元,一机构专用席位净买入1616.76万元。

 

未经正式授权严禁转载本文,侵权必究。

天齐锂业

3.5k
  • 天齐锂业三万吨电池级氢氧化锂项目竣工投产
  • 天齐锂业:上半年归母净利润8441.06万元,扭亏为盈

评论

暂无评论哦,快来评价一下吧!