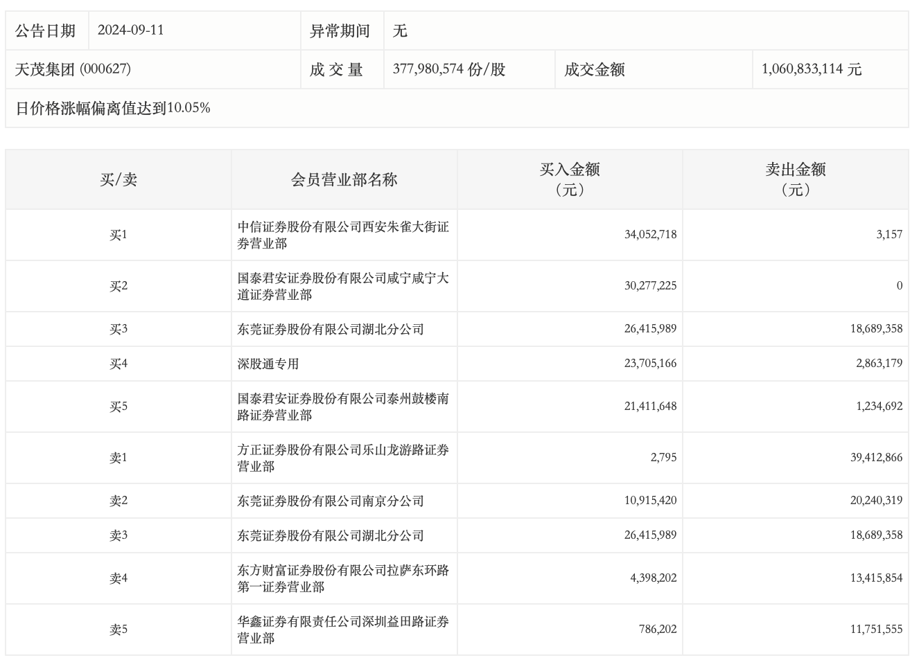
9月11日,天茂集团今日涨停,龙虎榜数据显示,上榜营业部席位全天成交2.6亿元,占当日总成交金额比例为24.47%。其中,买入金额为1.52亿元,卖出金额为1.08亿元,合计净买入4435.44万元。
具体来看,知名游资现身龙虎榜,方新侠(中信证券西安朱雀大街证券营业部)、国泰君安证券咸宁咸宁大道证券营业部分别买入3405.27万元、3027.72万元;方正证券乐山龙游路证券营业部、东莞证券南京分公司分别卖出3941.29万元、2024.03万元。

来源:界面新闻
9月11日,天茂集团今日涨停,龙虎榜数据显示,上榜营业部席位全天成交2.6亿元,占当日总成交金额比例为24.47%。其中,买入金额为1.52亿元,卖出金额为1.08亿元,合计净买入4435.44万元。
具体来看,知名游资现身龙虎榜,方新侠(中信证券西安朱雀大街证券营业部)、国泰君安证券咸宁咸宁大道证券营业部分别买入3405.27万元、3027.72万元;方正证券乐山龙游路证券营业部、东莞证券南京分公司分别卖出3941.29万元、2024.03万元。

评论