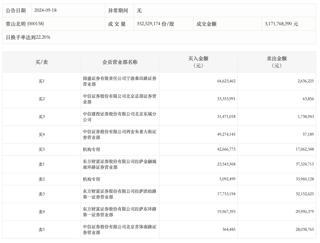
9月18日,常山北明今日涨停,龙虎榜数据显示,上榜营业部席位全天成交5.11亿元,占当日总成交金额比例为16.12%。其中,买入金额为3.28亿元,卖出金额为1.83亿元,合计净买入1.45亿元。
具体来看,机构买入4775.93万元,卖出5102.25万元,合计净卖出326.32万元。此外,知名游资现身龙虎榜,宁波桑田路(国盛证券宁波桑田路证券营业部)、中信证券北京总部证券营业部分别买入6462.35万元、5335.40万元;东方财富证券拉萨金融城南环路证券营业部、东方财富证券拉萨团结路第一证券营业部分别卖出3752.47万元、3215.26万元。

评论