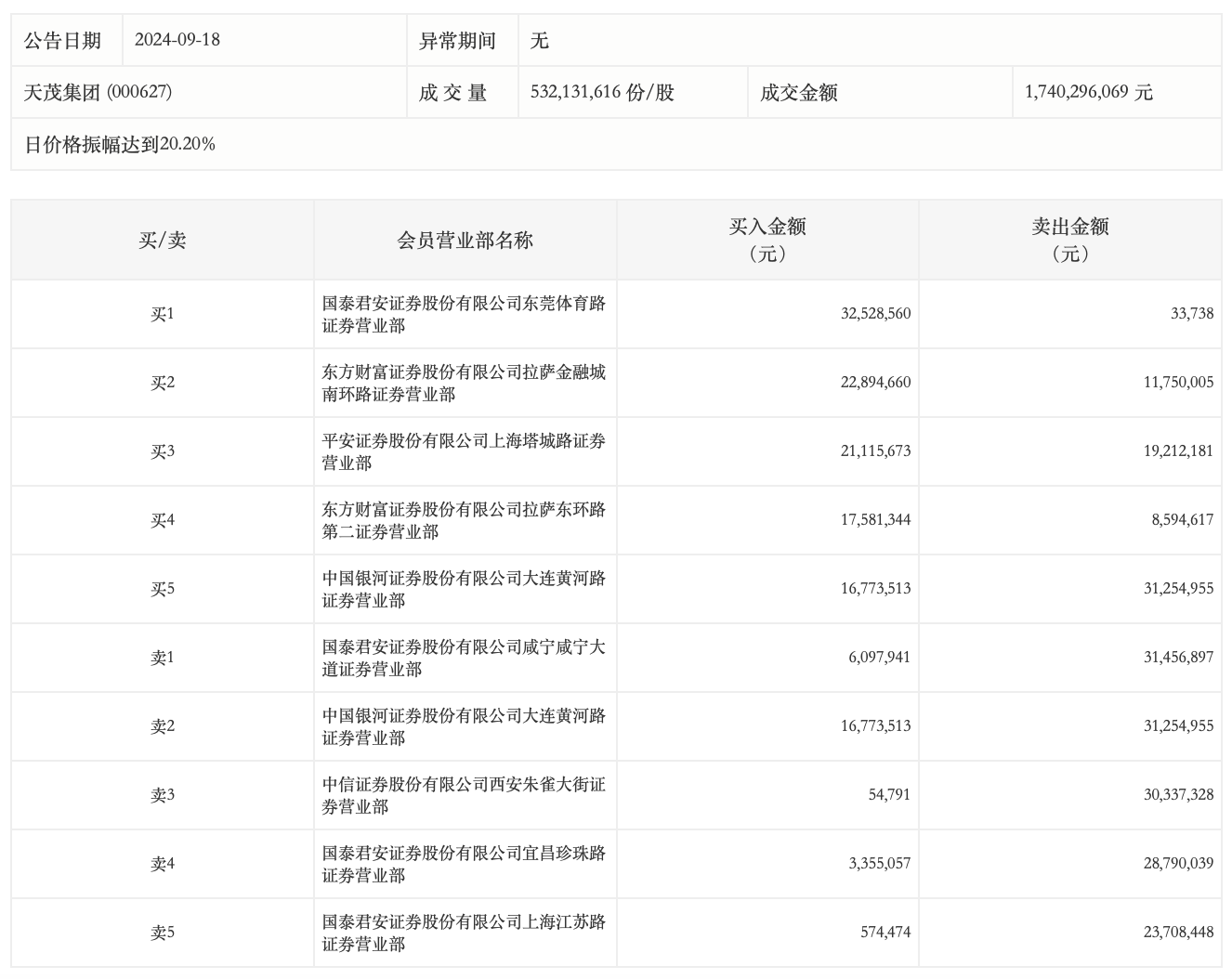
9月18日,天茂集团今日跌停,龙虎榜数据显示,上榜营业部席位全天成交3.06亿元,占当日总成交金额比例为17.59%。其中,买入金额为1.21亿元,卖出金额为1.85亿元,合计净卖出6416.22万元。
具体来看,知名游资现身龙虎榜,章盟主(国泰君安证券股份有限公司上海江苏路证券营业部)净卖出2313.40万元、方新侠(中信证券股份有限公司西安朱雀大街证券营业部)净卖出3028.25万元。此外,国泰君安证券咸宁咸宁大道证券营业部、中国银河证券大连黄河路证券营业部分别卖出3145.69万元、3125.50万元;国泰君安证券东莞体育路证券营业部、东方财富证券拉萨金融城南环路证券营业部分别买入3252.86万元、2289.47万元。

评论