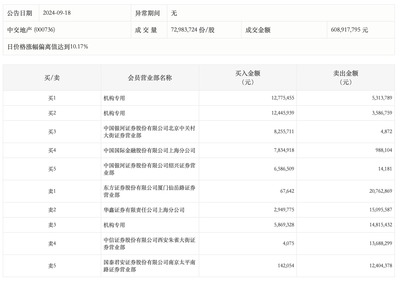
9月18日,中交地产今日涨停,龙虎榜数据显示,上榜营业部席位全天成交1.44亿元,占当日总成交金额比例为23.58%。其中,买入金额为5693.14万元,卖出金额为8667.43万元,合计净卖出2974.29万元。
具体来看,机构买入3109.07万元,卖出2371.6万元,合计净买入737.47万元。此外,知名游资现身龙虎榜,赵老哥(中国银河证券股份有限公司绍兴证券营业部)净买入657.23万元、方新侠(中信证券股份有限公司西安朱雀大街证券营业部)净卖出1368.42万元、作手新一(国泰君安证券股份有限公司南京太平南路证券营业部)净卖出1226.23万元。此外,中国银河证券北京中关村大街证券营业部、中国国际金融上海分公司分别买入825.57万元、783.49万元;东方证券厦门仙岳路证券营业部、华鑫证券上海分公司分别卖出2076.29万元、1509.56万元。

评论