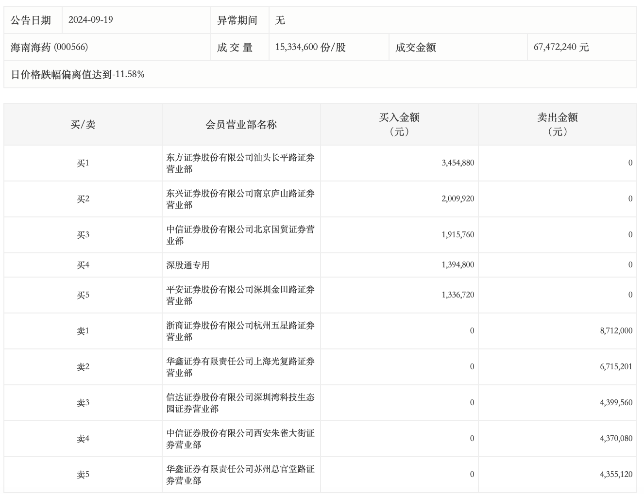
9月19日,海南海药今日跌停,龙虎榜数据显示,上榜营业部席位全天成交3866.4万元,占当日总成交金额比例为57.31%。其中,买入金额为1011.21万元,卖出金额为2855.2万元,合计净卖出1843.99万元。
具体来看,知名游资现身龙虎榜,方新侠(中信证券股份有限公司西安朱雀大街证券营业部)净卖出437.01万元。此外,浙商证券杭州五星路证券营业部、华鑫证券上海光复路证券营业部分别卖出871.20万元、671.52万元;东方证券汕头长平路证券营业部、东兴证券南京庐山路证券营业部分别买入345.49万元、200.99万元。

评论