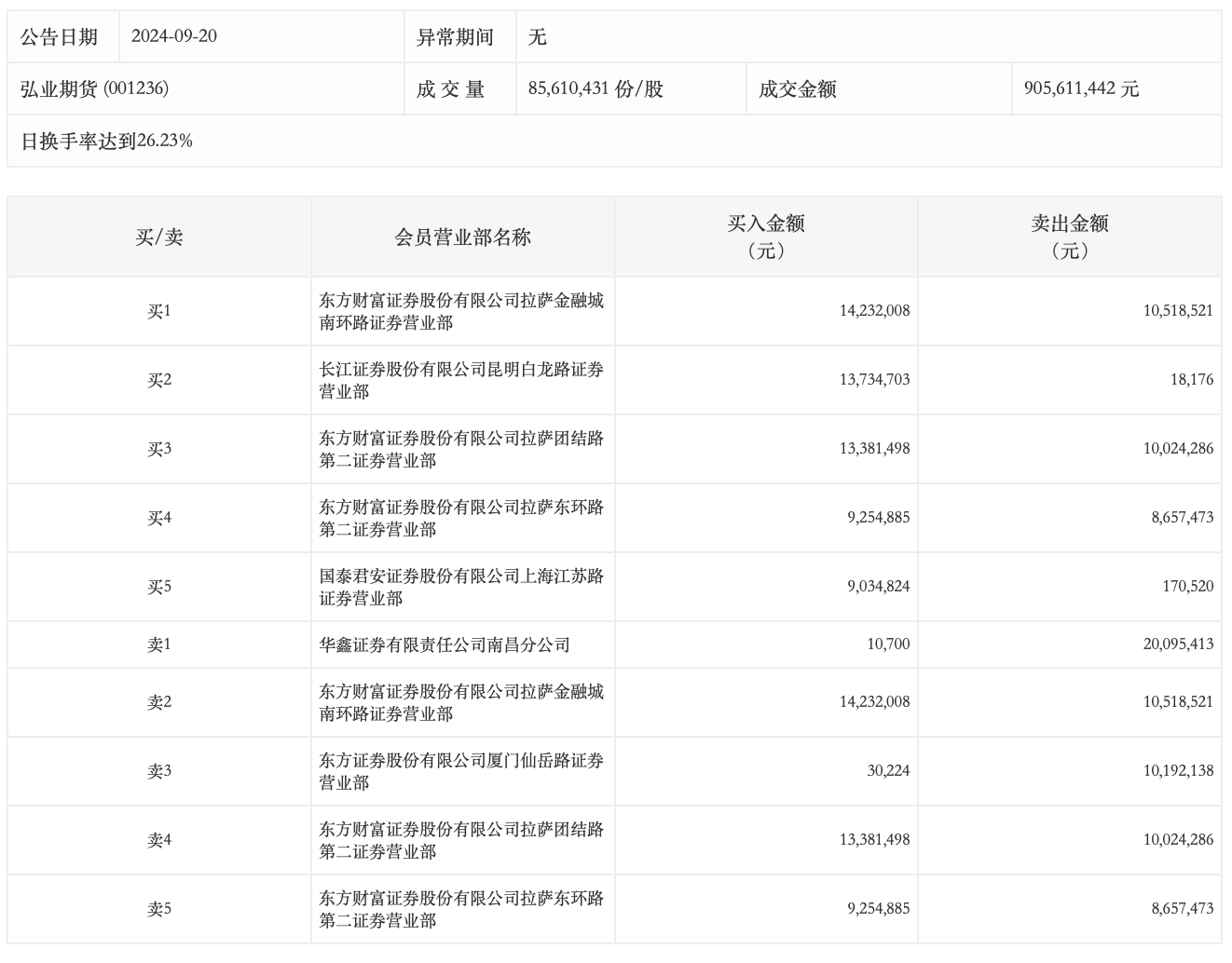
9月20日,弘业期货今日涨停,龙虎榜数据显示,上榜营业部席位全天成交1.19亿元,占当日总成交金额比例为13.18%。其中,买入金额为5967.88万元,卖出金额为5967.65万元,合计净买入2315元。
具体来看,知名游资现身龙虎榜,章盟主(国泰君安证券股份有限公司上海江苏路证券营业部)净买入886.43万元。此外,东方财富证券拉萨金融城南环路证券营业部、长江证券昆明白龙路证券营业部分别买入1423.20万元、1373.47万元;华鑫证券南昌分公司、东方财富证券拉萨金融城南环路证券营业部分别卖出2009.54万元、1051.85万元。

评论