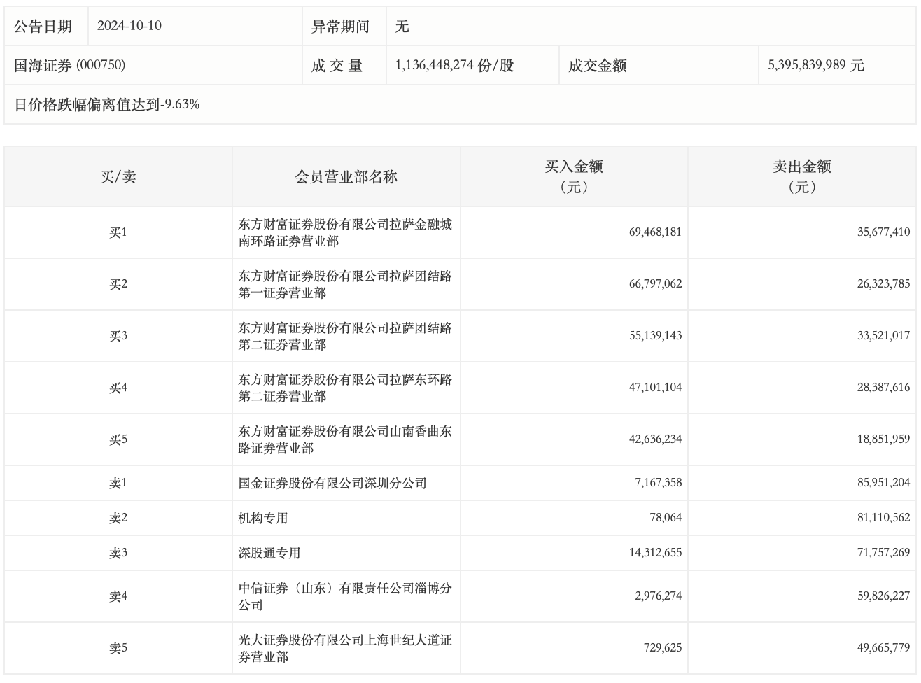
龙虎榜丨国海证券今日跌停,一机构净卖出8103.25万元

10月10日,国海证券今日跌停,成交额53.96亿元,换手率19.61%,盘后龙虎榜数据显示,深股通专用席位买入1431.27万元并卖出7175.73万元,一机构净卖出8103.25万元。

 

未经正式授权严禁转载本文,侵权必究。

国海证券

2.8k
  • 国海证券:南京中院对金通灵证券虚假陈述责任纠纷案作出先行判决
  • 国海证券投资公司增资至15亿,增幅50%

评论

暂无评论哦,快来评价一下吧!