界面新闻logo
  • 首页
    • 科技
    • 金融
    • 证券
    • 地产
    • 汽车
    • 健康
    • 地方
    • 大湾区
    • 文旅
    • 数据
    • ESG
    • 双碳
    • 电厂
  • 商业
    • 科技
    • 地产
    • 汽车
    • 消费
    • 工业
    • 时尚
    • 交通
    • 医药
    • 互联网
    • 创投
    • 能源
    • 数码
    • 教育
    • 食品
    • 新能源
    • 家电
    • 健康
    • 酒业
    • 物流
    • 零售
    • 美妆
    • 体育
    • 楼市
    • 家居
    • 餐饮
    • 日用
    • 企服
    • 珠宝
    • 腕表
    • 智库
    • 电厂
    • 农业
  • 财经
    • 金融
    • 投资
    • 证券
    • IPO
    • 宏观
    • 股市
    • 财富
    • 有连云
  • 新闻
    • 天下
    • 中国
    • 地方
    • 评论
    • 数据
    • 职场
    • 国是
    • 文娱
    • 影像
    • 营销
    • 大湾区
    • ESG
    • 双碳
    • 长三角
    • 中西部
  • 文化生活
    • 文化
    • 文旅
    • 生活方式
    • 美食美酒
    • 艺术
    • 游戏
    • 正午
    • 箭厂
  • VIP
    • 投资早晚报
    • 宏观晚6点
    • 打新早报
    • 盘前机会前瞻
    • 盘中必读
    • 金股挖掘
    • 调研早知道
    • 研报新知
  • 快报
    • 今日热点
    • 公司头条
    • 股市前沿
    • 监管通报
    • 财经速览
    • 时事追踪
  • 界面号
    • 财经号
    • 城市号
    • 媒体号
  • 视频
    • 界面Vnews
    • 直播
    • 箭厂
    • 面谈
    • 品牌创酷
    • 番茄社
    • 商业微史记
  • 专题
    • 新闻专题
    • 活动专题
  • Global
登录
  • 消息
  • 我的面点
  • 我的关注
  • 我的文章
  • 投稿
  • 报料
  • 账号设置
  • 退出账号
旧版搜索
  • 新版搜索
  • 旧版搜索

历史搜索 全部删除

    热门搜索

      股市快讯
      科蓝软件

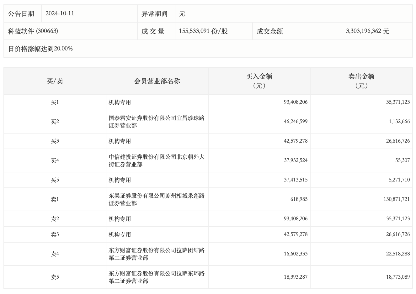
      龙虎榜丨科蓝软件今日涨停,三机构净买入1.06亿元

      界面快报 · 来源:界面新闻

      10月11日,科蓝软件今日20CM涨停,成交额33.03亿元,换手率37.49%,盘后龙虎榜数据显示,三机构净买入1.06亿元。

       

      未经正式授权严禁转载本文,侵权必究。

      科蓝软件

      • 科蓝软件(300663.SZ):公司股东科蓝盛合拟被动减持308.36万股,占公司总股本0.64%9个月前
      • 科蓝软件:已将DeepSeek-R1模型整合至公司魔聚平台9个月前
      点赞
      收藏
      看评论
      分享至
      微博分享
      微信分享
      QQzone

      评论

      暂无评论哦,快来评价一下吧!
      热门排行December 16
      • 李国庆60岁再创业,新公司“李享生活”将开启直播带货
      • 悉尼致16死枪击案枪手系父子,曾宣誓效忠ISIS
      • 韩国特检组发布最终调查结果,对尹锡悦等24人提起诉讼
      • 小米公司不让卖小米?小米最新回应:彻头彻尾的歪曲与污蔑
      • 余承东出任华为终端公司董事长,孟晚舟、徐直军等卸任董事
      • 尹锡悦涉嫌妨碍逮捕案或于明年1月中判决,金建希曾斥责丈夫搞砸了计划
      • 国家中医药管理局原局长于文明被移送审查起诉:大搞隐性腐败,大肆收钱敛财
      • 大力提升居民消费意愿、拓展有效投资空间,国家发改委最新发声
      • 30多万打“骨折”的玛莎拉蒂被一抢而空,销售:不建议买
      • 与总统关系远近决定美联储主席人选?前美联储理事沃什成最新热门

      上海界面财联社科技股份有限公司 版权所有 © 2014-2025 JIEMIAN.COM

      • 关于我们
      • 联系我们
      • 广告合作
      • 注册协议
      • 投稿须知
      • 版权声明
      • 举报及处置