首页
科技
金融
证券
地产
汽车
健康
地方
硬科技
文旅
数据
ESG
双碳
电厂
商业
科技
地产
汽车
消费
工业
时尚
交通
医药
互联网
创投
能源
数码
教育
食品
新能源
家电
健康
酒业
物流
零售
美妆
体育
楼市
家居
餐饮
日用
企服
珠宝
腕表
智库
电厂
农业
出海
财经
金融
投资
证券
IPO
宏观
股市
财富
有连云
新闻
天下
中国
地方
评论
数据
职场
国是
文娱
影像
营销
大湾区
ESG
双碳
长三角
中西部
文化生活
文化
文旅
生活方式
美食美酒
艺术
游戏
正午
箭厂
VIP
投资早晚报
宏观晚6点
打新早报
盘前机会前瞻
盘中必读
金股挖掘
调研早知道
研报新知
快报
今日热点
公司头条
股市前沿
监管通报
财经速览
时事追踪
界面号
财经号
城市号
媒体号
视频
界面Vnews
直播
箭厂
品牌创酷
番茄社
商业微史记
胡说财经
专题
新闻专题
活动专题
Global
登录
消息
我的面点
我的关注
我的文章
投稿
报料
账号设置
退出账号
旧版搜索
新版搜索
旧版搜索
历史搜索
全部删除
热门搜索
股市快讯
常山北明
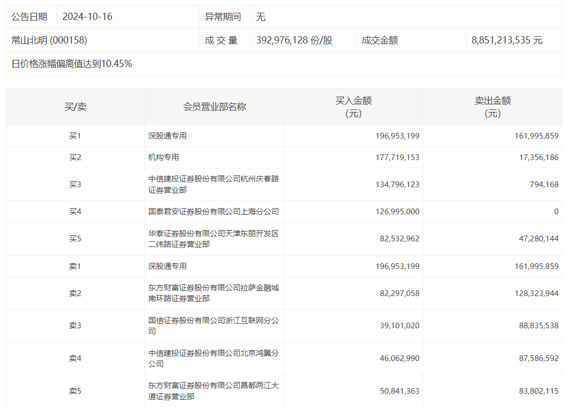
龙虎榜 | 常山北明今日涨停录得20天11板,深股通买入1.97亿元并卖出1.62亿元
界面快报
·
来源:界面新闻
常山北明10月16日涨停,录得20天11板,成交额88.51亿元,换手率24.75%,盘后龙虎榜数据显示,深股通专用席位买入1.97亿元并卖出1.62亿元。
未经正式授权严禁转载本文,侵权必究。
常山北明
570
常山北明:预计2025年度归母净利润3500万元,同比扭亏为盈
2个月前
常山北明拟以3629.76万元挂牌转让纺织设备,资产减值率67.75%
4个月前
点赞
收藏
看评论
分享至
微博分享
微信分享
QQzone
评论
暂无评论哦,快来评价一下吧!
热门排行
April 02
反对美国政府对伊朗动武,千人“包围”洛杉矶政府机构大楼
近12小时大宕机后仅隔一天,DeepSeek再崩一小时后恢复
以色列海法炼油厂遭袭起火
东方甄选线下首店4月开业,自营产品约占三分之一
特朗普要求军方提交夺取伊朗核材料计划
美国执行载人绕月任务火箭发射升空
首位出席最高法庭审的在任总统:特朗普为终止“出生公民权”辩护
特朗普称将很快撤出伊朗战事
特朗普称伊朗新政权总统请求停火
美以空袭美原驻伊朗使馆区域
评论