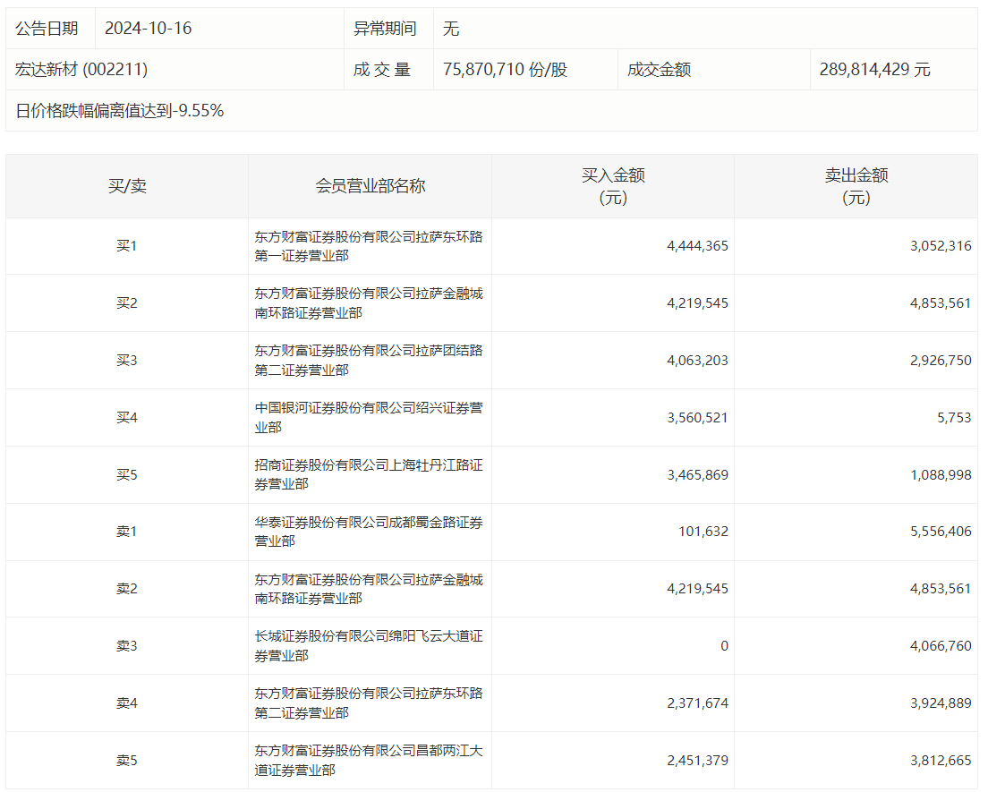
宏达新材今日跌停,龙虎榜数据显示,上榜营业部席位全天成交5396.63万元,占当日总成交金额比例为18.62%。其中,买入金额为2467.82万元,卖出金额为2928.81万元,合计净卖出460.99万元。
具体来看,知名游资现身龙虎榜,赵老哥(中国银河证券股份有限公司绍兴证券营业部)净买入355.48万元。此外,华泰证券成都蜀金路证券营业部、东方财富证券拉萨金融城南环路证券营业部分别卖出555.64万元、485.36万元;东方财富证券拉萨东环路第一证券营业部、东方财富证券拉萨金融城南环路证券营业部分别买入444.44万元、421.95万元。

评论